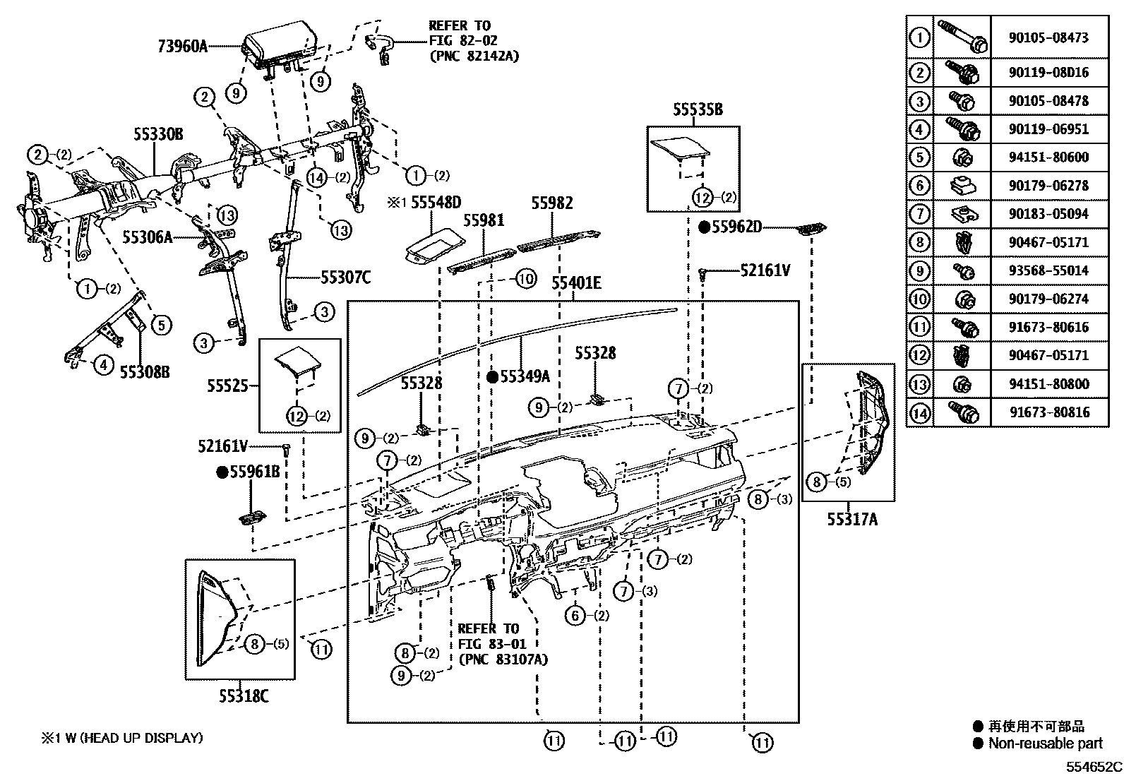
Toyota RAV4 PHEV — INSTRUMENT PANEL & GLOVE COMPARTMENT

52161VPIECE, INSTRUMENT PANEL
55306ABRACE SUB-ASSY, INSTRUMENT PANEL, NO.1
55307CBRACE SUB-ASSY, INSTRUMENT PANEL, NO.2
55308BBRACE SUB-ASSY, INSTRUMENT PANEL TO COWL, NO.3
55317APANEL, INSTRUMENT SIDE, RH
BLACK,TRIM2#
55318CPANEL, INSTRUMENT SIDE, LH
BLACK,TRIM2#
55328PIN, INSTRUMENT PANEL, NO.1
55330BREINFORCEMENT ASSY, INSTRUMENT PANEL
55349ACUSHION, INSTRUMENT PANEL
55401EPAD SUB-ASSY, INSTRUMENT PANEL SAFETY
SOFT BLACK/RED,TRIM2#
55525COVER, SPEAKER HOLE, NO.1
BLACK,TRIM2#
55535BCOVER, SPEAKER HOLE, NO.2
BLACK,TRIM2#
55548DCOVER, INSTRUMENT PANEL HOLE
55961BNOZZLE, SIDE DEFROSTER, NO.1
BLACK,TRIM2#
55962DNOZZLE, SIDE DEFROSTER, NO.2
BLACK,TRIM2#
55981GARNISH, DEFROSTER NOZZLE, NO.1
BLACK,TRIM2#
55982GARNISH, DEFROSTER NOZZLE, NO.2
BLACK,TRIM2#
73960AAIRBAG ASSY, INSTRUMENT PANEL PASSENGER W/O DOOR
8202
8301
9010508473
9010508478
9011906951
9011908D16
9017906274
9017906278
9018305094
9046705171
9167380616
9167380816
9356855014
9415180600
9415180800
33 parts on this diagram · 4 diagrams in section