E
EPC Data

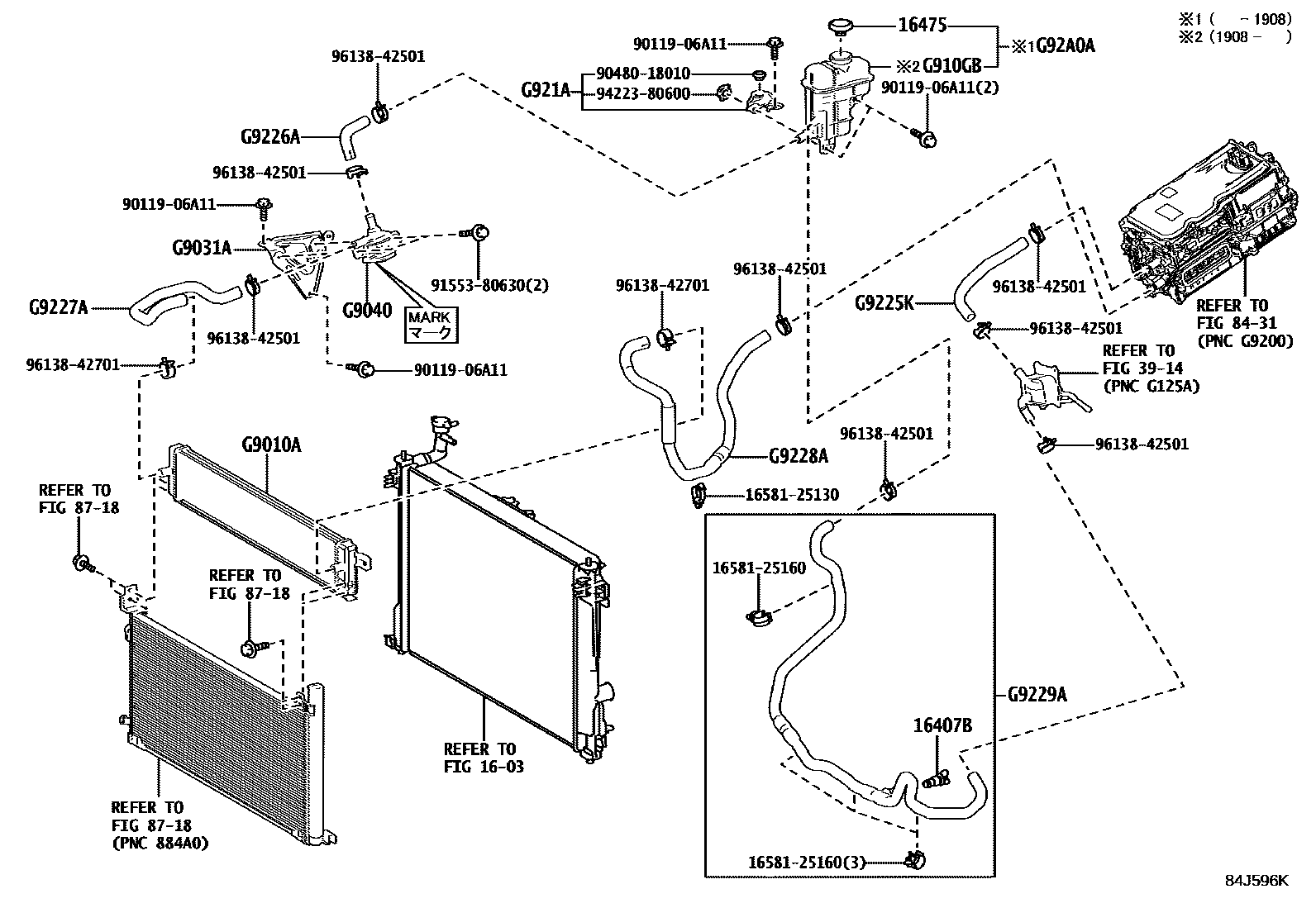
Toyota RAV4 (JPP)INVERTER COOLING

Parts diagram
1603
16407BCOCK SUB-ASSY, RADIATOR DRAIN
main16407-64010i¥380201811-202112
16475CAP, RESERVE TANK
main16475-28140i¥1,200201811-202410
3914
8431
8718
G9010ARADIATOR ASSY
mainG901042030i201811-202112
G9031ABRACKET SUB-ASSY, HV WATER PUMP
mainG914142010i201811-202112
mainG914178010i202112-202410
G9040INVERTER WATER PUMP ASSY(W/MOTOR)
mainG904042010i201811-202007
mainG904042010i202008-202112
MARK=G
mainG904048050i202112-202210
MARK=T
mainG904048050i202210-202410
G910GBTANK SUB-ASSY, INVERTER RESERVE W/O CAP
mainG910G42010i201908-202410
G921ABRACKET, INVERTER RESERVE TANK, NO.1
mainG91H242010i201811-202410
G9225KHOSE, INVERTER COOLING, NO.1
mainG922542010i201811-202410
G9226AHOSE, INVERTER COOLING, NO.2
mainG922642010i201811-202112
mainG922642020i202112-202410
G9227AHOSE, INVERTER COOLING, NO.3
mainG922742010i201811-202112
mainG922778010i202112-202410
G9228AHOSE, INVERTER COOLING, NO.4
mainG922842030i201811-202112
mainG922842050i202112-202410
G9229AHOSE, INVERTER COOLING, NO.5
mainG922942020i201811-202007
mainG922942020i202008-202112
REFER TO PNC 86466D
mainG922942040i202112-202210
REFER TO PNC 86466D
mainG922942040i202210-202410
G92A0ATANK ASSY, INVERTER RESERVE
mainG91H042020i201811-201908
1658125130CLAMP, HOSE(FOR WATER HOSE)
main16581-25130¥260
1658125160CLAMP, HOSE(FOR WATER HOSE)
main16581-25160¥300
9011906A11
main90119-06A11¥60
9048018010
main90480-18010¥130
9155380630
main91553-80630¥60
9422380600
main94223-80600¥70
9613842501
main96138-42501¥180
9613842701
main96138-42701¥200

25 parts on this diagram · 2 diagrams in section

Toyota RAV4 (JPP) INVERTER COOLING — Parts Diagram | EPC Data