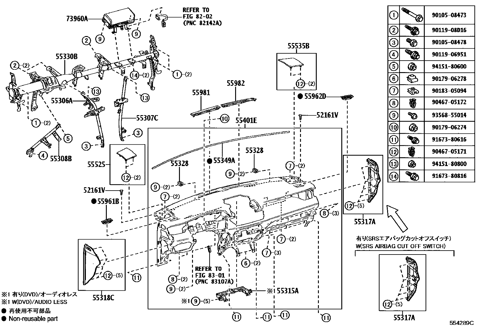
Toyota RAV4 (JPP) — INSTRUMENT PANEL & GLOVE COMPARTMENT

52161VPIECE, INSTRUMENT PANEL
55306ABRACE SUB-ASSY, INSTRUMENT PANEL, NO.1
main55306-42150iAXAH54..X..GCC;AXAH54..LHD..(G,M,P,V);AXAA5#,AXAH52,AXAL5#..JPP..LHD;MXAA5#..JPP..LHD..(GCC,GEN,RUS)201811-202410
55307CBRACE SUB-ASSY, INSTRUMENT PANEL, NO.2
main55307-42090iAXAA52..GCC;AXAA52..LHD..(G,M)..GEN;MXAA54..JPP..LHD..(M,X);MXAA54..LHD..(G,V)..(EUR,GEN);AXAA54,AXAH5#,AXAL5#,MXAA52..JPP..LHD201811-202410
main55307-42100iAXAL5#..ARL;AXAA54..G..ARL;AXAH54..RHD..M..GEN;AXAA54..RHD..V..GEN;AXAA52,AXAH52..RHD..GEN;AXAH5#,AXAL5#..RHD..X..EUR;MXAA5#..RHD..6F..(ARL,GEN)¥1,610201811-202410
55308BBRACE SUB-ASSY, INSTRUMENT PANEL TO COWL, NO.3
main55308-42080iMXAA52..RHD..X..(ARL,GEN);MXAA52..RHD..(G,M)..(ARL,GEN,SA);AXAA54,AXAH5#,AXAL5#,MXAA54..RHD¥1,470201811-202410
55315ASPACER, INSTRUMENT PANEL, NO.1
AUDIO-4SPEAKER(AUDIO LESS)
AUDIO-6SPEAKER 7INCH DVD, LATIN AMERICA
AUDIO-6SPEAKER 7INCH DVD, GENERAL
AUDIO-6SPEAKER(AUDIO LESS)
main55315-42070iMXAA54..SA;AXAH54..P..GEN;MXAA54..(M,X)..GCC;AXAH52..X..(GCC,GEN);AXAA5#,AXAH54,MXAA52..GCC,SA¥1,630201811-202210
AUDIO-6SPEAKER 7INCH DVD, MID-EAST
main55315-42070iMXAA54..SA;AXAH54..P..GEN;MXAA54..(M,X)..GCC;AXAH52..X..(GCC,GEN);AXAA5#,AXAH54,MXAA52..GCC,SA¥1,630201811-202210
AUDIO-6SPEAKER 7INCH DVD, ASIA
main55315-42070iMXAA54..SA;AXAH54..P..GEN;MXAA54..(M,X)..GCC;AXAH52..X..(GCC,GEN);AXAA5#,AXAH54,MXAA52..GCC,SA¥1,630202008-202210
AUDIO-RADIO LESS 4SPEAKER
main55315-42070iMXAA54..SA;AXAH54..P..GEN;MXAA54..(M,X)..GCC;AXAH52..X..(GCC,GEN);AXAA5#,AXAH54,MXAA52..GCC,SA¥1,630202008-202210
AUDIO-RADIO LESS 6SPEAKER
EU BASIC PACKAGE
55317APANEL, INSTRUMENT SIDE, RH
BLACK,TRIM1#,2#,4#
BLACK,TRIM2#
main55317-42070-C0iAXAH54..RHD..G;AXAH54..M..(ARL,GCC);AXAH54..LHD..G..(GCC,GEN);AXAH52,AXAL5#..RHD..G..EUR;AXAA5#,AXAH52,MXAA5#..(G,M)..(ARL,GCC,GEN,SA)202210-202310
EXCEPT WVTA COUNTRY,BLACK,TRIM2#
BLACK,TRIM1#,2#,4#
main55317-42070-C0iAXAA54..V..GEN;AXAH5#..RHD..X;MXAA54..RHD..V;AXAA54,MXAA52..LHD..(6F,8FC)..X..GEN;AXAA54,AXAL5#,MXAA52..(V,X)..(ARL,GCC);AXAA52,AXAH54,MXAA54..LHD..(V,X)..(GCC,GEN)201811-202310
BLACK,TRIM2#,4#
BLACK,TRIM2#
EXCEPT WVTA COUNTRY,BLACK,TRIM1#,2#,4#
BLACK,TRIM1#,2#,4#
BLACK,TRIM2#
55318CPANEL, INSTRUMENT SIDE, LH
BLACK,TRIM2#
BLACK,TRIM1#,2#,4#
main55318-42030-C0iAXAA54..G..ARL;MXAA54..G..GCC;MXAA54..RHD..6F;AXAL5#..(G,M)..ARL;AXAH54..RHD..M..GEN;AXAA52,AXAH52..RHD..GEN201811-202310
BLACK,TRIM1#,2#,4#
main55318-42030-C0iMXAA54..JPP..RUS;AXAH5#..P..(ARL,GEN);AXAH5#,AXAL5#..LHD..(M,P,V,X)..EUR202005-202410
BLACK,TRIM2#
main55318-42030-C0iMXAA54..JPP..RUS;AXAH5#..P..(ARL,GEN);AXAH5#,AXAL5#..LHD..(M,P,V,X)..EUR201811-202310
BLACK,TRIM2#,4#
BLACK,TRIM2#,4#
BLACK,TRIM2#
BLACK,TRIM1#,2#,4#
55328PIN, INSTRUMENT PANEL, NO.1
55330BREINFORCEMENT ASSY, INSTRUMENT PANEL
main55330-42340iMXAA52..RHD..CVT;AXAH52..RHD..(M,X);MXAA52..RHD..6F..(M,X);AXAH52..RHD..G..(ARL,EUR);AXAA5#,AXAH54,AXAL5#,MXAA54..RHD¥15,100201811-202410
55349ACUSHION, INSTRUMENT PANEL
55401EPAD SUB-ASSY, INSTRUMENT PANEL SAFETY
S BLACK/S BLACK/LT.GRAY,TRIM20
sub55401-42180
AUDIO-4SPEAKER CD *BT, GENERAL,S BLACK/S BLACK/LT.GRAY,TRIM2#
sub55401-42180
AUDIO-4SPEAKER CD *BT, GENERAL,S BLACK/S BLACK/ORANGE,TRIM2#
sub55401-42180
main55401-42010-22iAXAH52,AXAL5#..LHD..G..EUR;AXAH54,MXAA5#..LHD..M..GEN;AXAA5#,AXAH52..LHD..(G,M)..GEN;AXAH54,MXAA5#..LHD..G..(EUR,GEN)202008-202210
AUDIO-4SPEAKER CD *BT, GENERAL,S BLACK/LT GRAY/CAMEL,TRIM1#
sub55401-42180
AUDIO-4SPEAKER CD *BT, GENERAL,S BLACK/LT.GRAY/ORANGE,TRIM4#
sub55401-42180
AUDIO-4SPEAKER CD *BT, GENERAL,S BLACK/G BEIGE/CAMEL,TRIM4#
sub55401-42180
main55401-42010-C8iAXAH54..LHD..G;AXAH5#..(M,X)..GCC;AXAH52..(G,M)..GEN;AXAH52,AXAL5#..LHD..G..EUR;AXAA5#,MXAA5#..LHD..(ATM,CVT)..(G,M,X)..(GCC,GEN)201811-202411
S BLACK/G BEIGE/CAMEL,TRIM4#
sub55401-42180
AUDIO-6SPEAKER 8INCH, LATIN AMERICA,S BLACK/S BLACK/BLUE,TRIM2#
sub55401-42180
main55401-42020-20iMXAA54..(M,X)..GCC;AXAH52..X..(GCC,GEN);AXAA5#,AXAH54,MXAA52..(G,M,X)..GCC201811-202210
AUDIO-6SPEAKER 7INCH DVD, GENERAL,S BLACK/S BLACK/LT.GRAY,TRIM2#
AUDIO-6SPEAKER 7INCH DVD, ASIA,S BLACK/S BLACK/LT.GRAY,TRIM2#
AUDIO-6SPEAKER 7INCH DVD, LATIN AMERICA,S BLACK/S BLACK/LT.GRAY,TRIM2#
AUDIO-6SPEAKER 7INCH DVD, MID-EAST,S BLACK/S BLACK/LT.GRAY,TRIM2#
AUDIO-6SPEAKER(AUDIO LESS),S BLACK/S BLACK/LT.GRAY,TRIM2#
AUDIO-4SPEAKER(AUDIO LESS),S BLACK/S BLACK/LT.GRAY,TRIM2#
AUDIO-4SPEAKER(AUDIO LESS),S BLACK/S BLACK/LT.GRAY,TRIM20
S BLACK/S BLACK/LT.GRAY,TRIM2#
AUDIO-RADIO LESS 4SPEAKER,S BLACK/S BLACK/LT.GRAY,TRIM2#
AUDIO-RADIO LESS 6SPEAKER,S BLACK/S BLACK/LT.GRAY,TRIM2#
main55401-42020-20iMXAA54..(M,X)..GCC;AXAH52..X..(GCC,GEN);AXAA5#,AXAH54,MXAA52..(G,M,X)..GCC202008-202210
EU BASIC PACKAGE,S BLACK/S BLACK/LT.GRAY,TRIM2#
main55401-42020-20iMXAA54..(M,X)..GCC;AXAH52..X..(GCC,GEN);AXAA5#,AXAH54,MXAA52..(G,M,X)..GCC202008-202210
AUDIO-6SPEAKER 7INCH DVD, MID-EAST,S BLACK/S BLACK/LT.GRAY,TRIM20
AUDIO-4SPEAKER(AUDIO LESS),S BLACK/S BLACK/ORANGE,TRIM20
S BLACK/S BLACK/ORANGE,TRIM2#
AUDIO-RADIO LESS 6SPEAKER,S BLACK/S BLACK/ORANGE,TRIM2#
AUDIO-RADIO LESS 4SPEAKER,S BLACK/S BLACK/ORANGE,TRIM2#
AUDIO-6SPEAKER 7INCH DVD, LATIN AMERICA,S BLACK/S BLACK/ORANGE,TRIM20
AUDIO-6SPEAKER 7INCH DVD, LATIN AMERICA,S BLACK/S BLACK/ORANGE,TRIM2#
AUDIO-6SPEAKER 7INCH DVD, GENERAL,S BLACK/S BLACK/ORANGE,TRIM20
AUDIO-6SPEAKER 7INCH DVD, GENERAL,S BLACK/S BLACK/ORANGE,TRIM2#
AUDIO-6SPEAKER(AUDIO LESS),S BLACK/S BLACK/ORANGE,TRIM20
AUDIO-6SPEAKER(AUDIO LESS),S BLACK/S BLACK/ORANGE,TRIM2#
AUDIO-4SPEAKER(AUDIO LESS),S BLACK/S BLACK/ORANGE,TRIM2#
main55401-42020-22iAXAA5#..LHD..G..GEN;MXAA54..LHD..6F..M..GEN;MXAA54..LHD..CVT..(G,M)..GEN;AXAH5#,MXAA52..LHD..(G,M)..GEN201811-202210
AUDIO-6SPEAKER(AUDIO LESS),S BLACK/LT.GRAY/CAMEL,TRIM1#
AUDIO-6SPEAKER 7INCH DVD, LATIN AMERICA,S BLACK/LT.GRAY/CAMEL,TRIM1#
S BLACK/LT.GRAY/CAMEL,TRIM1#
AUDIO-4SPEAKER(AUDIO LESS),S BLACK/LT.GRAY/CAMEL,TRIM1#
AUDIO-6SPEAKER 7INCH DVD, MID-EAST,S BLACK/LT.GRAY/CAMEL,TRIM1#
AUDIO-6SPEAKER 7INCH DVD, GENERAL,S BLACK/LT.GRAY/CAMEL,TRIM1#
AUDIO-6SPEAKER 7INCH DVD, ASIA,S BLACK/LT.GRAY/CAMEL,TRIM1#
AUDIO-RADIO LESS 6SPEAKER,S BLACK/LT.GRAY/CAMEL,TRIM1#
AUDIO-RADIO LESS 4SPEAKER,S BLACK/LT.GRAY/CAMEL,TRIM1#
AUDIO-6SPEAKER 7INCH DVD, LATIN AMERICA,S BLACK/LT.GRAY/ORANGE,TRIM4#
AUDIO-6SPEAKER 7INCH DVD, GENERAL,S BLACK/LT.GRAY/ORANGE,TRIM4#
AUDIO-6SPEAKER(AUDIO LESS),S BLACK/LT.GRAY/ORANGE,TRIM4#
AUDIO-4SPEAKER(AUDIO LESS),S BLACK/LT.GRAY/ORANGE,TRIM4#
S BLACK/LT.GRAY/ORANGE,TRIM4#
AUDIO-RADIO LESS 6SPEAKER,S BLACK/LT.GRAY/ORANGE,TRIM4#
AUDIO-RADIO LESS 4SPEAKER,S BLACK/LT.GRAY/ORANGE,TRIM4#
main55401-42020-C8iMXAA54..(M,X)..GCC;AXAH52..X..(GCC,GEN);AXAA5#,AXAH54,MXAA52..(G,M,X)..GCC201811-202210
AUDIO-6SPEAKER 7INCH DVD, LATIN AMERICA,S BLACK/G BEIGE/CAMEL,TRIM4#
S BLACK/G BEIGE/CAMEL,TRIM4#
AUDIO-4SPEAKER(AUDIO LESS),S BLACK/G BEIGE/CAMEL,TRIM4#
AUDIO-6SPEAKER(AUDIO LESS),S BLACK/G BEIGE/CAMEL,TRIM4#
AUDIO-6SPEAKER 7INCH DVD, MID-EAST,S BLACK/G BEIGE/CAMEL,TRIM4#
AUDIO-6SPEAKER 7INCH DVD, GENERAL,S BLACK/G BEIGE/CAMEL,TRIM4#
AUDIO-6SPEAKER 7INCH DVD, ASIA,S BLACK/G BEIGE/CAMEL,TRIM4#
AUDIO-RADIO LESS 4SPEAKER,S BLACK/G BEIGE/CAMEL,TRIM4#
AUDIO-RADIO LESS 6SPEAKER,S BLACK/G BEIGE/CAMEL,TRIM4#
S BLACK/S BLACK/BLUE,TRIM2#
AUDIO-6SPEAKER(AUDIO LESS),S BLACK/S BLACK/BLUE,TRIM2#
AUDIO-6SPEAKER 7INCH DVD, GENERAL,S BLACK/S BLACK/BLUE,TRIM2#
AUDIO-RADIO LESS 4SPEAKER,S BLACK/S BLACK/BLUE,TRIM2#
AUDIO-RADIO LESS 6SPEAKER,S BLACK/S BLACK/BLUE,TRIM2#
AUDIO-4SPEAKER(AUDIO LESS),S BLACK/S BLACK/BLUE,TRIM2#
AUDIO-6SPEAKER 7INCH DVD, LATIN AMERICA,S BLACK/S BLACK/BLUE,TRIM2#
S BLACK/S BLACK/LT.GRAY,TRIM20
main55401-42050-20iMXAA52..RHD..X..(ARL,GEN);MXAA52..RHD..(G,M)..(ARL,GEN,SA);AXAA54,AXAH5#,AXAL5#,MXAA54..RHD..(G,M,X)201811-202410
S BLACK/S BLACK/LT.GRAY,TRIM2#
S BLACK/S BLACK/ORANGE,TRIM2#
main55401-42050-22iMXAA52..RHD..M..GEN;AXAH52,AXAL5#..RHD..G;AXAA54,MXAA54..RHD..(G,M)..GEN;AXAH54,MXAA52..RHD..G..(ARL,GEN)201811-202410
S BLACK/LT.GRAY/CAMEL,TRIM1#
S BLACK/LT.GRAY/ORANGE,TRIM4#
main55401-42050-C8iAXAH52,AXAL5#..RHD..G;MXAA52..RHD..(M,X)..GEN;AXAH54,MXAA52..RHD..G..(ARL,GEN,SA);AXAA54,MXAA54..RHD..(G,M,X)..(GEN,SA)201811-202410
S BLACK/G BEIGE/CAMEL,TRIM4#
AUDIO-6SPEAKER 7INCH DVD, ASIA,S BLACK/S BLACK/LT.GRAY,TRIM2#
AUDIO-6SPEAKER(AUDIO LESS),S BLACK/S BLACK/LT.GRAY,TRIM2#
AUDIO-6SPEAKER(AUDIO LESS),S BLACK/S BLACK/LT.GRAY,TRIM20
AUDIO-4SPEAKER(AUDIO LESS),S BLACK/S BLACK/LT.GRAY,TRIM2#
S BLACK/S BLACK/LT.GRAY,TRIM2#
AUDIO-6SPEAKER 7INCH DVD, LATIN AMERICA,S BLACK/S BLACK/LT.GRAY,TRIM2#
AUDIO-6SPEAKER 7INCH DVD, GENERAL,S BLACK/S BLACK/LT.GRAY,TRIM2#
AUDIO-4SPEAKER(AUDIO LESS),S BLACK/S BLACK/LT.GRAY,TRIM20
S BLACK/S BLACK/ORANGE,TRIM2#
AUDIO-6SPEAKER(AUDIO LESS),S BLACK/S BLACK/ORANGE,TRIM2#
AUDIO-6SPEAKER 7INCH DVD, GENERAL,S BLACK/S BLACK/ORANGE,TRIM2#
AUDIO-6SPEAKER(AUDIO LESS),S BLACK/LT.GRAY/CAMEL,TRIM1#
S BLACK/LT.GRAY/CAMEL,TRIM1#
AUDIO-6SPEAKER 7INCH DVD, ASIA,S BLACK/LT.GRAY/CAMEL,TRIM1#
AUDIO-6SPEAKER 7INCH DVD, LATIN AMERICA,S BLACK/LT.GRAY/CAMEL,TRIM1#
AUDIO-6SPEAKER 7INCH DVD, GENERAL,S BLACK/LT.GRAY/CAMEL,TRIM1#
AUDIO-4SPEAKER(AUDIO LESS),S BLACK/LT.GRAY/CAMEL,TRIM1#
S BLACK/LT.GRAY/ORANGE,TRIM4#
AUDIO-6SPEAKER(AUDIO LESS),S BLACK/LT.GRAY/ORANGE,TRIM4#
AUDIO-6SPEAKER 7INCH DVD, GENERAL,S BLACK/LT.GRAY/ORANGE,TRIM4#
S BLACK/G BEIGE/CAMEL,TRIM4#
AUDIO-6SPEAKER(AUDIO LESS),S BLACK/G BEIGE/CAMEL,TRIM4#
AUDIO-6SPEAKER 7INCH DVD, GENERAL,S BLACK/G BEIGE/CAMEL,TRIM4#
AUDIO-6SPEAKER 7INCH DVD, LATIN AMERICA,S BLACK/G BEIGE/CAMEL,TRIM4#
AUDIO-6SPEAKER 7INCH DVD, ASIA,S BLACK/G BEIGE/CAMEL,TRIM4#
AUDIO-4SPEAKER(AUDIO LESS),S BLACK/G BEIGE/CAMEL,TRIM4#
55525COVER, SPEAKER HOLE, NO.1
BLACK,TRIM1#,2#,4#
BLACK,TRIM2#
main55525-42020-C0iAXAH54..G..GEN;MXAA52..M..GEN;AXAH54..LHD..M..GEN;MXAA52..LHD..G..GEN;MXAA54..LHD..6F..M..GEN;MXAA52..RHD..G..(EUR,GEN);AXAA52,AXAH52..LHD..(G,M)..GEN;AXAA54,MXAA54201811-202210
AUDIO-4SPEAKER CD *BT, GENERAL,BLACK,TRIM1#,2#,4#
main55525-42020-C0iAXAH54..G..GEN;MXAA52..M..GEN;AXAH54..LHD..M..GEN;MXAA52..LHD..G..GEN;MXAA54..LHD..6F..M..GEN;MXAA52..RHD..G..(EUR,GEN);AXAA52,AXAH52..LHD..(G,M)..GEN;AXAA54,MXAA54201811-202210
AUDIO-4SPEAKER(AUDIO LESS),BLACK,TRIM2#,4#
main55525-42020-C0iAXAH54..G..GEN;MXAA52..M..GEN;AXAH54..LHD..M..GEN;MXAA52..LHD..G..GEN;MXAA54..LHD..6F..M..GEN;MXAA52..RHD..G..(EUR,GEN);AXAA52,AXAH52..LHD..(G,M)..GEN;AXAA54,MXAA54202008-202210
AUDIO-4SPEAKER(AUDIO LESS),BLACK,TRIM2#
main55525-42020-C0iAXAH54..G..GEN;MXAA52..M..GEN;AXAH54..LHD..M..GEN;MXAA52..LHD..G..GEN;MXAA54..LHD..6F..M..GEN;MXAA52..RHD..G..(EUR,GEN);AXAA52,AXAH52..LHD..(G,M)..GEN;AXAA54,MXAA54201811-202210
AUDIO-4SPEAKER(AUDIO LESS),BLACK,TRIM1#,2#,4#
main55525-42020-C0iAXAH54..G..GEN;MXAA52..M..GEN;AXAH54..LHD..M..GEN;MXAA52..LHD..G..GEN;MXAA54..LHD..6F..M..GEN;MXAA52..RHD..G..(EUR,GEN);AXAA52,AXAH52..LHD..(G,M)..GEN;AXAA54,MXAA54202008-202210
EU BASIC PACKAGE,BLACK,TRIM2#
main55525-42020-C0iAXAH54..G..GEN;MXAA52..M..GEN;AXAH54..LHD..M..GEN;MXAA52..LHD..G..GEN;MXAA54..LHD..6F..M..GEN;MXAA52..RHD..G..(EUR,GEN);AXAA52,AXAH52..LHD..(G,M)..GEN;AXAA54,MXAA54202008-202210
BLACK,TRIM2#
main55525-42020-C0iAXAH54..G..GEN;MXAA52..M..GEN;AXAH54..LHD..M..GEN;MXAA52..LHD..G..GEN;MXAA54..LHD..6F..M..GEN;MXAA52..RHD..G..(EUR,GEN);AXAA52,AXAH52..LHD..(G,M)..GEN;AXAA54,MXAA54201811-202210
BLACK,TRIM2#,4#
main55525-42020-C0iAXAH54..G..GEN;MXAA52..M..GEN;AXAH54..LHD..M..GEN;MXAA52..LHD..G..GEN;MXAA54..LHD..6F..M..GEN;MXAA52..RHD..G..(EUR,GEN);AXAA52,AXAH52..LHD..(G,M)..GEN;AXAA54,MXAA54201811-202210
BLACK,TRIM1#,2#,4#
AUDIO-RADIO LESS 4SPEAKER,BLACK,TRIM2#,4#
AUDIO-RADIO LESS 4SPEAKER,BLACK,TRIM1#,2#,4#
AUDIO-4SPEAKER CD *BT, GENERAL,BLACK,TRIM2#,4#
main55525-42020-C0iAXAA54..V..GEN;MXAA54..RHD..V..GEN;MXAA54..LHD..(V,X)..GEN;AXAA5#,MXAA52..LHD..(6F,8FC)..X..GEN201811-202007
GERMANY SPEC&AUDIO-4SPEAKER(AUDIO LESS),BLACK,TRIM1#,2#,4#
main55525-42020-C0iAXAA54..V..GEN;MXAA54..RHD..V..GEN;MXAA54..LHD..(V,X)..GEN;AXAA5#,MXAA52..LHD..(6F,8FC)..X..GEN201811-202007
NORWAY,SWEDEN,FINLAND,DENMARK SPEC&AUDIO-4SPEAKER(AUDIO LESS),BLACK,TRIM1#,2#,4#
main55525-42020-C0iAXAA54..V..GEN;MXAA54..RHD..V..GEN;MXAA54..LHD..(V,X)..GEN;AXAA5#,MXAA52..LHD..(6F,8FC)..X..GEN201811-202007
OTHER WVTA COUNTRY, WITHOUT RSA&AUDIO-4SPEAKER(AUDIO LESS),BLACK,TRIM1#,2#,4#
main55525-42020-C0iAXAA54..V..GEN;MXAA54..RHD..V..GEN;MXAA54..LHD..(V,X)..GEN;AXAA5#,MXAA52..LHD..(6F,8FC)..X..GEN201811-202007
SPAIN,JIB SPEC&AUDIO-4SPEAKER(AUDIO LESS),BLACK,TRIM1#,2#,4#
main55525-42020-C0iAXAA54..V..GEN;MXAA54..RHD..V..GEN;MXAA54..LHD..(V,X)..GEN;AXAA5#,MXAA52..LHD..(6F,8FC)..X..GEN201811-202007
ISRAEL SPEC&AUDIO-4SPEAKER(AUDIO LESS),BLACK,TRIM1#,2#,4#
main55525-42020-C0iAXAA54..V..GEN;MXAA54..RHD..V..GEN;MXAA54..LHD..(V,X)..GEN;AXAA5#,MXAA52..LHD..(6F,8FC)..X..GEN201811-202007
TURKEY SPEC&AUDIO-4SPEAKER(AUDIO LESS),BLACK,TRIM1#,2#,4#
main55525-42020-C0iAXAA54..V..GEN;MXAA54..RHD..V..GEN;MXAA54..LHD..(V,X)..GEN;AXAA5#,MXAA52..LHD..(6F,8FC)..X..GEN201811-202007
OTHER WVTA COUNTRY, WITH RSA&AUDIO-4SPEAKER(AUDIO LESS),BLACK,TRIM1#,2#,4#
main55525-42030-C0iMXAA54..(V,X)..(GCC,SA);AXAA5#,AXAH5#,AXAL5#,MXAA52..(V,X)..(ARL,GCC)201811-202007
AUDIO-6SPEAKER 7INCH,BLACK,TRIM1#,2#,4#
BLACK,TRIM1#,2#,4#
AUDIO-6SPEAKER(AUDIO LESS),BLACK,TRIM1#,2#,4#
AUDIO-6SPEAKER 7INCH DVD, GENERAL,BLACK,TRIM1#,2#,4#
AUDIO-6SPEAKER 7INCH DVD, LATIN AMERICA,BLACK,TRIM1#,2#,4#
ITALY SPEC&AUDIO-JBL 8INCH DAB, EUROPE,BLACK,TRIM1#,2#,4#
main55525-42030-C0iMXAA54..(V,X)..(GCC,SA);AXAA5#,AXAH5#,AXAL5#,MXAA52..(V,X)..(ARL,GCC)201811-202310
BLACK,TRIM2#,4#
main55525-42030-C0iMXAA54..(V,X)..(GCC,SA);AXAA5#,AXAH5#,AXAL5#,MXAA52..(V,X)..(ARL,GCC)201811-202007
GERMANY SPEC&AUDIO-JBL 8INCH DAB, EUROPE,BLACK,TRIM1#,2#,4#
main55525-42030-C0iMXAA54..(V,X)..(GCC,SA);AXAA5#,AXAH5#,AXAL5#,MXAA52..(V,X)..(ARL,GCC)201811-202007
NORWAY,SWEDEN,FINLAND,DENMARK SPEC&AUDIO-JBL 8INCH DAB, EUROPE,BLACK,TRIM1#,2#,4#
main55525-42030-C0iMXAA54..(V,X)..(GCC,SA);AXAA5#,AXAH5#,AXAL5#,MXAA52..(V,X)..(ARL,GCC)201811-202007
OTHER WVTA COUNTRY, WITHOUT RSA&AUDIO-JBL 8INCH DAB, EUROPE,BLACK,TRIM1#,2#,4#
main55525-42030-C0iMXAA54..(V,X)..(GCC,SA);AXAA5#,AXAH5#,AXAL5#,MXAA52..(V,X)..(ARL,GCC)201811-202007
SPAIN,JIB SPEC&AUDIO-JBL 8INCH DAB, EUROPE,BLACK,TRIM1#,2#,4#
main55525-42030-C0iMXAA54..(V,X)..(GCC,SA);AXAA5#,AXAH5#,AXAL5#,MXAA52..(V,X)..(ARL,GCC)201811-202007
ISRAEL SPEC&AUDIO-JBL 8INCH DAB, EUROPE,BLACK,TRIM1#,2#,4#
main55525-42030-C0iMXAA54..(V,X)..(GCC,SA);AXAA5#,AXAH5#,AXAL5#,MXAA52..(V,X)..(ARL,GCC)201811-202007
TURKEY SPEC&AUDIO-JBL 8INCH DAB, EUROPE,BLACK,TRIM1#,2#,4#
main55525-42030-C0iMXAA54..(V,X)..(GCC,SA);AXAA5#,AXAH5#,AXAL5#,MXAA52..(V,X)..(ARL,GCC)201811-202007
OTHER WVTA COUNTRY, WITH RSA&AUDIO-JBL 8INCH DAB, EUROPE,BLACK,TRIM1#,2#,4#
main55525-42030-C0iMXAA54..(V,X)..(GCC,SA);AXAA5#,AXAH5#,AXAL5#,MXAA52..(V,X)..(ARL,GCC)201811-202210
AUDIO-6SPEAKER(AUDIO LESS),BLACK,TRIM2#,4#
main55525-42030-C0iMXAA54..(V,X)..(GCC,SA);AXAA5#,AXAH5#,AXAL5#,MXAA52..(V,X)..(ARL,GCC)201811-202210
AUDIO-6SPEAKER 8INCH, EUROPE,BLACK,TRIM1#,2#,4#
main55525-42030-C0iMXAA54..(V,X)..(GCC,SA);AXAA5#,AXAH5#,AXAL5#,MXAA52..(V,X)..(ARL,GCC)201811-202210
AUDIO-JBL 8INCH DAB, EUROPE,BLACK,TRIM1#,2#,4#
main55525-42030-C0iMXAA54..(V,X)..(GCC,SA);AXAA5#,AXAH5#,AXAL5#,MXAA52..(V,X)..(ARL,GCC)201811-202210
AUDIO-6SPEAKER 7INCH DVD, GENERAL,BLACK,TRIM2#,4#
main55525-42030-C0iMXAA54..(V,X)..(GCC,SA);AXAA5#,AXAH5#,AXAL5#,MXAA52..(V,X)..(ARL,GCC)201811-202210
AUDIO-6SPEAKER 7INCH DVD, LATIN AMERICA,BLACK,TRIM2#,4#
main55525-42030-C0iMXAA54..(V,X)..(GCC,SA);AXAA5#,AXAH5#,AXAL5#,MXAA52..(V,X)..(ARL,GCC)201811-202210
AUDIO-6SPEAKER 7INCH DVD, ASIA,BLACK,TRIM1#,2#,4#
main55525-42030-C0iMXAA54..(V,X)..(GCC,SA);AXAA5#,AXAH5#,AXAL5#,MXAA52..(V,X)..(ARL,GCC)201811-202007
AUDIO-6SPEAKER 7INCH,BLACK,TRIM2#,4#
main55525-42030-C0iMXAA54..(V,X)..(GCC,SA);AXAA5#,AXAH5#,AXAL5#,MXAA52..(V,X)..(ARL,GCC)201811-202007
AUDIO-6SPEAKER 8INCH,BLACK,TRIM1#,2#,4#
main55525-42030-C0iMXAA54..(V,X)..(GCC,SA);AXAA5#,AXAH5#,AXAL5#,MXAA52..(V,X)..(ARL,GCC)201811-202007
AUDIO-6SPEAKER 8INCH,BLACK,TRIM2#,4#
main55525-42030-C0iMXAA54..(V,X)..(GCC,SA);AXAA5#,AXAH5#,AXAL5#,MXAA52..(V,X)..(ARL,GCC)201811-202007
AUDIO-6SPEAKER 8INCH XM,BLACK,TRIM1#,2#,4#
main55525-42030-C0iMXAA54..(V,X)..(GCC,SA);AXAA5#,AXAH5#,AXAL5#,MXAA52..(V,X)..(ARL,GCC)201811-202007
AUDIO-6SPEAKER 8INCH XM,BLACK,TRIM2#,4#
BLACK,TRIM2#
GERMANY SPEC&AUDIO-JBL 8INCH DAB, EUROPE,BLACK,TRIM2#
NORWAY,SWEDEN,FINLAND,DENMARK SPEC&AUDIO-JBL 8INCH DAB, EUROPE,BLACK,TRIM2#
OTHER WVTA COUNTRY, WITHOUT RSA&AUDIO-JBL 8INCH DAB, EUROPE,BLACK,TRIM2#
SPAIN,JIB SPEC&AUDIO-JBL 8INCH DAB, EUROPE,BLACK,TRIM2#
ISRAEL SPEC&AUDIO-JBL 8INCH DAB, EUROPE,BLACK,TRIM2#
TURKEY SPEC&AUDIO-JBL 8INCH DAB, EUROPE,BLACK,TRIM2#
OTHER WVTA COUNTRY, WITH RSA&AUDIO-JBL 8INCH DAB, EUROPE,BLACK,TRIM2#
AUDIO-JBL 8INCH DAB, EUROPE,BLACK,TRIM2#
AUDIO-RADIO LESS 6SPEAKER,BLACK,TRIM2#,4#
main55525-42030-C0iAXAA54..M..ARL;MXAA54..M..GCC;AXAA5#..(G,M)..(GCC,SA);AXAH5#,AXAL5#,MXAA5#..LHD..G..EUR;AXAH5#,MXAA52..(G,M)..(ARL,GCC,SA)202008-202210
AUDIO-RADIO LESS 6SPEAKER,BLACK,TRIM1#,2#,4#
main55525-42030-C0iMXAA52..X..(ARL,GCC,GEN);AXAA5#,AXAH5#,MXAA54..(V,X)..(ARL,GCC,GEN,SA)202210-202310
EXCEPT WVTA COUNTRY&AUDIO-6SPEAKER(AUDIO LESS)&DATA COMMUNICATION MODULE-WITHOUT,BLACK,TRIM1#,2#,4#
main55525-42030-C0iMXAA52..X..(ARL,GCC,GEN);AXAA5#,AXAH5#,MXAA54..(V,X)..(ARL,GCC,GEN,SA)202210-202310
EXCEPT WVTA COUNTRY&AUDIO-6SPEAKER(AUDIO LESS)&DATA COMMUNICATION MODULE-WITHOUT,BLACK,TRIM2#
main55525-42030-C0iMXAA52..X..(ARL,GCC,GEN);AXAA5#,AXAH5#,MXAA54..(V,X)..(ARL,GCC,GEN,SA)202210-202410
AUDIO-JBL 10.5INCH DAB, EUROPE,BLACK,TRIM1#,2#,4#
main55525-42030-C0iMXAA52..X..(ARL,GCC,GEN);AXAA5#,AXAH5#,MXAA54..(V,X)..(ARL,GCC,GEN,SA)202210-202410
AUDIO-JBL 10.5INCH DAB, EUROPE,BLACK,TRIM2#
BLACK,TRIM2#
BLACK,TRIM1#,2#,4#
BLACK,TRIM2#,4#
55535BCOVER, SPEAKER HOLE, NO.2
BLACK,TRIM1#,2#,4#
BLACK,TRIM2#
AUDIO-RADIO LESS 4SPEAKER,BLACK,TRIM1#,2#,4#
AUDIO-RADIO LESS 4SPEAKER,BLACK,TRIM2#,4#
BLACK,TRIM1#,2#,4#
BLACK,TRIM2#,4#
AUDIO-4SPEAKER(AUDIO LESS),BLACK,TRIM1#,2#,4#
AUDIO-4SPEAKER(AUDIO LESS),BLACK,TRIM2#,4#
AUDIO-4SPEAKER(AUDIO LESS),BLACK,TRIM2#
AUDIO-4SPEAKER CD *BT, GENERAL,BLACK,TRIM1#,2#,4#
AUDIO-4SPEAKER CD *BT, GENERAL,BLACK,TRIM2#,4#
main55535-42020-C0iAXAH54..G..GEN;MXAA52..M..GEN;AXAH54..LHD..M..GEN;MXAA52..LHD..G..GEN;MXAA54..LHD..6F..M..GEN;MXAA52..RHD..G..(EUR,GEN);AXAA52,AXAH52..LHD..(G,M)..GEN;AXAA54,MXAA54202008-202210
BLACK,TRIM2#
AUDIO-6SPEAKER 7INCH,BLACK,TRIM1#,2#,4#
AUDIO-6SPEAKER 7INCH,BLACK,TRIM2#,4#
AUDIO-6SPEAKER 8INCH,BLACK,TRIM1#,2#,4#
AUDIO-6SPEAKER 8INCH,BLACK,TRIM2#,4#
AUDIO-6SPEAKER 8INCH XM,BLACK,TRIM1#,2#,4#
AUDIO-6SPEAKER 8INCH XM,BLACK,TRIM2#,4#
BLACK,TRIM2#,4#
BLACK,TRIM1#,2#,4#
GERMANY SPEC&AUDIO-JBL 8INCH DAB, EUROPE,BLACK,TRIM1#,2#,4#
NORWAY,SWEDEN,FINLAND,DENMARK SPEC&AUDIO-JBL 8INCH DAB, EUROPE,BLACK,TRIM1#,2#,4#
OTHER WVTA COUNTRY, WITHOUT RSA&AUDIO-JBL 8INCH DAB, EUROPE,BLACK,TRIM1#,2#,4#
SPAIN,JIB SPEC&AUDIO-JBL 8INCH DAB, EUROPE,BLACK,TRIM1#,2#,4#
ISRAEL SPEC&AUDIO-JBL 8INCH DAB, EUROPE,BLACK,TRIM1#,2#,4#
TURKEY SPEC&AUDIO-JBL 8INCH DAB, EUROPE,BLACK,TRIM1#,2#,4#
OTHER WVTA COUNTRY, WITH RSA&AUDIO-JBL 8INCH DAB, EUROPE,BLACK,TRIM1#,2#,4#
AUDIO-6SPEAKER(AUDIO LESS),BLACK,TRIM2#,4#
AUDIO-6SPEAKER(AUDIO LESS),BLACK,TRIM1#,2#,4#
AUDIO-6SPEAKER 8INCH, EUROPE,BLACK,TRIM1#,2#,4#
AUDIO-6SPEAKER 7INCH DVD, GENERAL,BLACK,TRIM2#,4#
AUDIO-6SPEAKER 7INCH DVD, GENERAL,BLACK,TRIM1#,2#,4#
AUDIO-6SPEAKER 7INCH DVD, LATIN AMERICA,BLACK,TRIM2#,4#
AUDIO-6SPEAKER 7INCH DVD, LATIN AMERICA,BLACK,TRIM1#,2#,4#
AUDIO-6SPEAKER 7INCH DVD, ASIA,BLACK,TRIM1#,2#,4#
BLACK,TRIM2#
GERMANY SPEC&AUDIO-JBL 8INCH DAB, EUROPE,BLACK,TRIM2#
NORWAY,SWEDEN,FINLAND,DENMARK SPEC&AUDIO-JBL 8INCH DAB, EUROPE,BLACK,TRIM2#
OTHER WVTA COUNTRY, WITHOUT RSA&AUDIO-JBL 8INCH DAB, EUROPE,BLACK,TRIM2#
SPAIN,JIB SPEC&AUDIO-JBL 8INCH DAB, EUROPE,BLACK,TRIM2#
ISRAEL SPEC&AUDIO-JBL 8INCH DAB, EUROPE,BLACK,TRIM2#
TURKEY SPEC&AUDIO-JBL 8INCH DAB, EUROPE,BLACK,TRIM2#
OTHER WVTA COUNTRY, WITH RSA&AUDIO-JBL 8INCH DAB, EUROPE,BLACK,TRIM2#
AUDIO-RADIO LESS 6SPEAKER,BLACK,TRIM2#,4#
AUDIO-RADIO LESS 6SPEAKER,BLACK,TRIM1#,2#,4#
main55535-42030-C0iMXAA54..SA;MXAA52..CVT..X..ARL;MXAA5#..X..(GCC,SA);AXAH52..X..(ARL,GCC,GEN);AXAA5#,AXAH54..(V,X)..(ARL,GCC,SA)202008-202210
AUDIO-JBL 8INCH DAB, EUROPE,BLACK,TRIM1#,2#,4#
main55535-42030-C0iMXAA54..SA;MXAA52..CVT..X..ARL;MXAA5#..X..(GCC,SA);AXAH52..X..(ARL,GCC,GEN);AXAA5#,AXAH54..(V,X)..(ARL,GCC,SA)202008-202210
AUDIO-JBL 8INCH DAB, EUROPE,BLACK,TRIM2#
main55535-42030-C0iMXAA54..JPP..RUS;AXAH5#..P..(ARL,GEN);AXAH5#,AXAL5#..RHD..(M,P,V)..EUR202210-202310
UKRAINE,MOLDOVA SPEC,BLACK,TRIM2#
main55535-42030-C0iMXAA54..JPP..RUS;AXAH5#..P..(ARL,GEN);AXAH5#,AXAL5#..RHD..(M,P,V)..EUR202210-202310
UKRAINE,MOLDOVA SPEC&AUDIO-JBL 10.5INCH DAB, EUROPE&DATA COMMUNICATION MODULE-WITHOUT,BLACK,TRIM1#,2#,4#
main55535-42030-C0iMXAA54..JPP..RUS;AXAH5#..P..(ARL,GEN);AXAH5#,AXAL5#..RHD..(M,P,V)..EUR202210-202310
UKRAINE,MOLDOVA SPEC&AUDIO-JBL 10.5INCH DAB, EUROPE&DATA COMMUNICATION MODULE-WITHOUT,BLACK,TRIM2#
main55535-42030-C0iMXAA54..JPP..RUS;AXAH5#..P..(ARL,GEN);AXAH5#,AXAL5#..RHD..(M,P,V)..EUR202210-202310
UKRAINE,MOLDOVA SPEC&DATA COMMUNICATION MODULE-WITHOUT,BLACK,TRIM1#,2#,4#
main55535-42030-C0iMXAA54..JPP..RUS;AXAH5#..P..(ARL,GEN);AXAH5#,AXAL5#..RHD..(M,P,V)..EUR202210-202310
UKRAINE,MOLDOVA SPEC&DATA COMMUNICATION MODULE-WITHOUT,BLACK,TRIM2#
main55535-42030-C0iMXAA54..JPP..RUS;AXAH5#..P..(ARL,GEN);AXAH5#,AXAL5#..RHD..(M,P,V)..EUR202210-202410
AZERBAIJAN,GEORGIA SPEC,BLACK,TRIM2#
main55535-42030-C0iMXAA54..JPP..RUS;AXAH5#..P..(ARL,GEN);AXAH5#,AXAL5#..RHD..(M,P,V)..EUR202210-202310
AZERBAIJAN,GEORGIA SPEC&AUDIO-JBL 10.5INCH DAB, EUROPE&DATA COMMUNICATION MODULE-WITHOUT,BLACK,TRIM1#,2#,4#
main55535-42030-C0iMXAA54..JPP..RUS;AXAH5#..P..(ARL,GEN);AXAH5#,AXAL5#..RHD..(M,P,V)..EUR202210-202310
AZERBAIJAN,GEORGIA SPEC&AUDIO-JBL 10.5INCH DAB, EUROPE&DATA COMMUNICATION MODULE-WITHOUT,BLACK,TRIM2#
main55535-42030-C0iMXAA54..JPP..RUS;AXAH5#..P..(ARL,GEN);AXAH5#,AXAL5#..RHD..(M,P,V)..EUR202210-202310
AZERBAIJAN,GEORGIA SPEC&DATA COMMUNICATION MODULE-WITHOUT,BLACK,TRIM1#,2#,4#
main55535-42030-C0iMXAA54..JPP..RUS;AXAH5#..P..(ARL,GEN);AXAH5#,AXAL5#..RHD..(M,P,V)..EUR202210-202310
AZERBAIJAN,GEORGIA SPEC&DATA COMMUNICATION MODULE-WITHOUT,BLACK,TRIM2#
main55535-42030-C0iMXAA54..JPP..RUS;AXAH5#..P..(ARL,GEN);AXAH5#,AXAL5#..RHD..(M,P,V)..EUR202210-202310
EXCEPT WVTA COUNTRY&AUDIO-JBL 10.5INCH DAB, EUROPE&DATA COMMUNICATION MODULE-WITHOUT,BLACK,TRIM1#,2#,4#
main55535-42030-C0iMXAA54..JPP..RUS;AXAH5#..P..(ARL,GEN);AXAH5#,AXAL5#..RHD..(M,P,V)..EUR202210-202310
EXCEPT WVTA COUNTRY&AUDIO-JBL 10.5INCH DAB, EUROPE&DATA COMMUNICATION MODULE-WITHOUT,BLACK,TRIM2#
main55535-42030-C0iMXAA54..JPP..RUS;AXAH5#..P..(ARL,GEN);AXAH5#,AXAL5#..RHD..(M,P,V)..EUR202210-202310
EXCEPT WVTA COUNTRY&DATA COMMUNICATION MODULE-WITHOUT,BLACK,TRIM1#,2#,4#
main55535-42030-C0iMXAA54..JPP..RUS;AXAH5#..P..(ARL,GEN);AXAH5#,AXAL5#..RHD..(M,P,V)..EUR202210-202310
EXCEPT WVTA COUNTRY&DATA COMMUNICATION MODULE-WITHOUT,BLACK,TRIM2#
main55535-42030-C0iMXAA54..JPP..RUS;AXAH5#..P..(ARL,GEN);AXAH5#,AXAL5#..RHD..(M,P,V)..EUR202210-202310
AUDIO-JBL 10.5INCH DAB, EUROPE,BLACK,TRIM1#,2#,4#
main55535-42030-C0iMXAA54..JPP..RUS;AXAH5#..P..(ARL,GEN);AXAH5#,AXAL5#..RHD..(M,P,V)..EUR202210-202310
AUDIO-JBL 10.5INCH DAB, EUROPE,BLACK,TRIM2#
UKRAINE,MOLD SPEC,BLACK,TRIM2#
UKRAINE,MOLD SPEC&AUDIO-JBL 10.5INCH DAB, EUROPE&DATA COMMUNICATION MODULE-WITHOUT,BLACK,TRIM1#,2#,4#
UKRAINE,MOLD SPEC&AUDIO-JBL 10.5INCH DAB, EUROPE&DATA COMMUNICATION MODULE-WITHOUT,BLACK,TRIM2#
UKRAINE,MOLD SPEC&DATA COMMUNICATION MODULE-WITHOUT,BLACK,TRIM1#,2#,4#
UKRAINE,MOLD SPEC&DATA COMMUNICATION MODULE-WITHOUT,BLACK,TRIM2#
ITALY SPEC&AUDIO-JBL 8INCH DAB, EUROPE,BLACK,TRIM1#,2#,4#
BLACK,TRIM1#,2#,4#
BLACK,TRIM2#
55961BNOZZLE, SIDE DEFROSTER, NO.1
main55961-42010-C0iAXAH54..P..ARL;MXAA54..JPP..RUS;AXAH52..P..(ARL,GEN);AXAH54..(M,P,V,X)..(EUR,GEN);AXAH52,AXAL5#..(M,P,V,X)..EUR202005-202410
BLACK,TRIM2#
BLACK,TRIM1#,2#,4#
main55961-42010-C0iAXAA54..V..GEN;AXAH5#..RHD..X;MXAA54..RHD..V;AXAA54..LHD..X..GEN;AXAA54,AXAL5#,MXAA52..(V,X)..(ARL,GCC);AXAA52,AXAH54,MXAA5#..LHD..(V,X)..(GCC,GEN)201811-202310
BLACK,TRIM2#,4#
55962DNOZZLE, SIDE DEFROSTER, NO.2
BLACK,TRIM2#,4#
BLACK,TRIM1#,2#,4#
BLACK,TRIM2#
55981GARNISH, DEFROSTER NOZZLE, NO.1
BLACK,TRIM2#,4#
BLACK,TRIM1#,2#,4#
BLACK,TRIM2#
main55981-42040-C0iMXAA52..RHD..X..(ARL,GEN);AXAA54,AXAH5#,MXAA54..RHD..(V,X)..(ARL,GEN,SA)202005-202410
BLACK,TRIM2#
BLACK,TRIM1#,2#,4#
main55981-42040-C0iAXAL5#..X..ARL;AXAA54,MXAA54..RHD..V..(GEN,SA);AXAA54,AXAH5#,MXAA52..RHD..(V,X)..(ARL,EUR)201811-202310
BLACK,TRIM2#,4#
55982GARNISH, DEFROSTER NOZZLE, NO.2
BLACK,TRIM1#,2#,4#
main55982-42030-C0iAXAH52..P..GEN;MXAA54..JPP..RUS;AXAH54..LHD..(M,P,V)..(EUR,GEN);AXAH52,AXAL5#..LHD..(M,P,V,X)..EUR202005-202410
BLACK,TRIM2#
BLACK,TRIM2#,4#
main55982-42040-C0iAXAL5#..X..ARL;AXAA54,MXAA54..RHD..V..(GEN,SA);AXAA54,AXAH5#,MXAA52..RHD..(V,X)..(ARL,EUR)201811-202310
BLACK,TRIM2#,4#
BLACK,TRIM1#,2#,4#
BLACK,TRIM2#
73960AAIRBAG ASSY, INSTRUMENT PANEL PASSENGER W/O DOOR
main73960-42110iMXAA5#..6F..G..EUR;AXAH52..LHD..G..GEN;MXAA54..JPP..CVT..G;AXAH52..G..(ARL,EUR);AXAA5#..ARL,GCC,GEN,SA;MXAA52..JPP..6F..(M,X);AXAH52,MXAA54..JPP..(M,V,X);AXAH54,AXA¥75,600201811-202410
8202
8301
9010508473
9010508478
9011906951
9011908D16
9017906274
9017906278
9018305094
9046705171
9046705172
9167380616
9167380816
9356855014
9415180600
9415180800
34 parts on this diagram · 12 diagrams in section