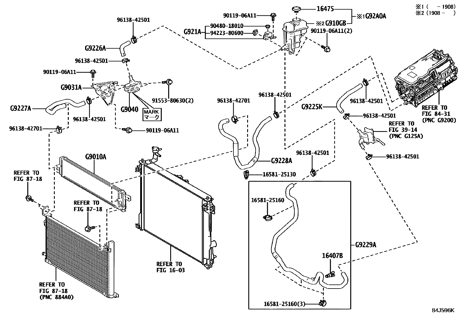
Toyota RAV4 (JPP) — INVERTER COOLING

1603
16407BCOCK SUB-ASSY, RADIATOR DRAIN
16475CAP, RESERVE TANK
3914
8431
8718
G9010ARADIATOR ASSY
G9031ABRACKET SUB-ASSY, HV WATER PUMP
mainG914178010iAXAH54..(G,P)..GEN;AXAH54..LHD..M..GEN;AXAL5#..(G,M,P,V)..EUR;AXAH5#..X..(ARL,GCC,GEN);AXAH52..LHD..(G,M,P)..GEN;AXAH5#,AXAL5#..LHD..X..EUR;AXAH5#..(G,M,P,V)..(ARL,202112-202410
G9040INVERTER WATER PUMP ASSY(W/MOTOR)
MARK=G
mainG904048050iAXAH54..(G,P)..GEN;AXAH54..LHD..M..GEN;AXAL5#..(G,M,P,V)..EUR;AXAH5#..X..(ARL,GCC,GEN);AXAH52..LHD..(G,M,P)..GEN;AXAH5#,AXAL5#..LHD..X..EUR;AXAH5#..(G,M,P,V)..(ARL,202112-202210
MARK=T
G910GBTANK SUB-ASSY, INVERTER RESERVE W/O CAP
G921ABRACKET, INVERTER RESERVE TANK, NO.1
G9225KHOSE, INVERTER COOLING, NO.1
G9226AHOSE, INVERTER COOLING, NO.2
mainG922642020iAXAH54..(G,P)..GEN;AXAH54..LHD..M..GEN;AXAL5#..(G,M,P,V)..EUR;AXAH5#..X..(ARL,GCC,GEN);AXAH52..LHD..(G,M,P)..GEN;AXAH5#,AXAL5#..LHD..X..EUR;AXAH5#..(G,M,P,V)..(ARL,202112-202410
G9227AHOSE, INVERTER COOLING, NO.3
mainG922778010iAXAH54..(G,P)..GEN;AXAH54..LHD..M..GEN;AXAL5#..(G,M,P,V)..EUR;AXAH5#..X..(ARL,GCC,GEN);AXAH52..LHD..(G,M,P)..GEN;AXAH5#,AXAL5#..LHD..X..EUR;AXAH5#..(G,M,P,V)..(ARL,202112-202410
G9228AHOSE, INVERTER COOLING, NO.4
mainG922842050iAXAH54..(G,P)..GEN;AXAH54..LHD..M..GEN;AXAL5#..(G,M,P,V)..EUR;AXAH5#..X..(ARL,GCC,GEN);AXAH52..LHD..(G,M,P)..GEN;AXAH5#,AXAL5#..LHD..X..EUR;AXAH5#..(G,M,P,V)..(ARL,202112-202410
G9229AHOSE, INVERTER COOLING, NO.5
REFER TO PNC 86466D
mainG922942040iAXAH54..(G,P)..GEN;AXAH54..LHD..M..GEN;AXAL5#..(G,M,P,V)..EUR;AXAH5#..X..(ARL,GCC,GEN);AXAH52..LHD..(G,M,P)..GEN;AXAH5#,AXAL5#..LHD..X..EUR;AXAH5#..(G,M,P,V)..(ARL,202112-202210
REFER TO PNC 86466D
G92A0ATANK ASSY, INVERTER RESERVE
1658125130CLAMP, HOSE(FOR WATER HOSE)
1658125160CLAMP, HOSE(FOR WATER HOSE)
9011906A11
9048018010
9155380630
9422380600
9613842501
9613842701
25 parts on this diagram · 2 diagrams in section