Toyota RAIZE — NAVIGATION & FRONT MONITOR DISPLAY

5501
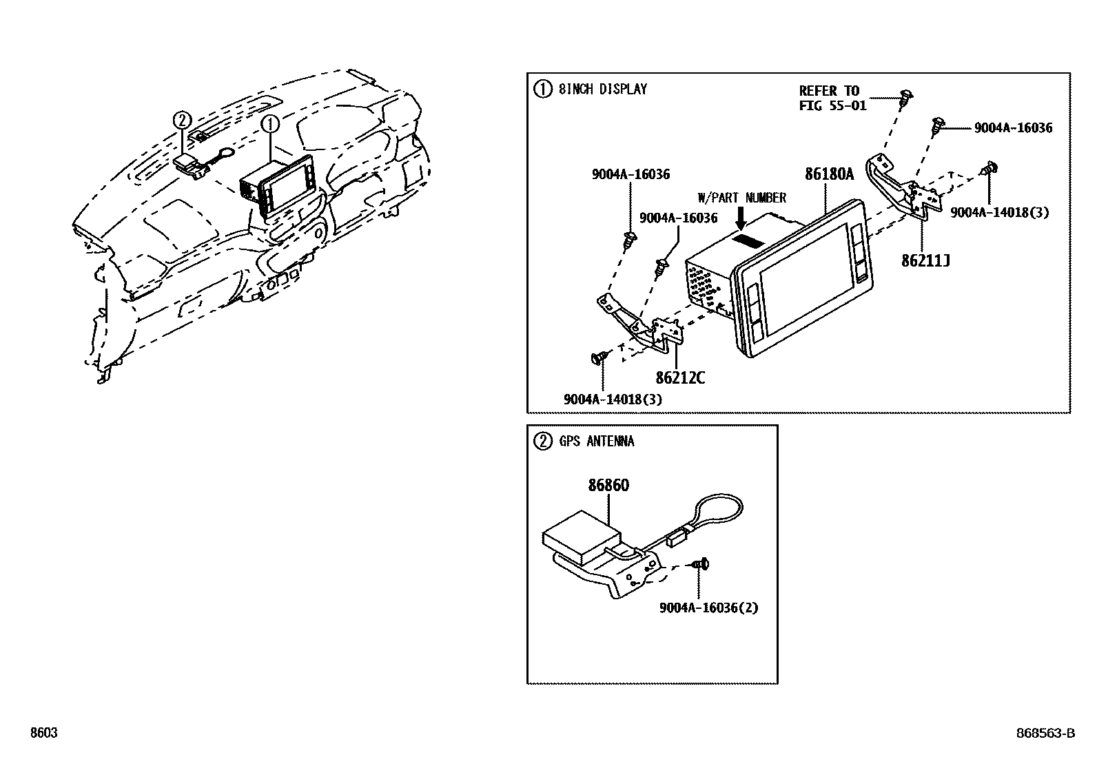
86180ATUNER ASSY, STEREO COMPONENT
BLACK,W/PART NUMBER LABEL
PACKAGE OPTION 4-DA LESS PKG(PH,VN,CM),BLACK,W/PART NUMBER LABEL
sub86180-BZA91
BLACK,W/PART NUMBER LABEL
LHD ASIA,BLACK,W/PART NUMBER LABEL
LHD ASIA&PACKAGE OPTION 4-DA LESS PKG(PH,VN,CM),BLACK,W/PART NUMBER LABEL
sub86180-BZB31
PACKAGE OPTION 4-DA LESS PKG(PH,VN,CM),BLACK,W/PART NUMBER LABEL
sub86180-BZB31
GCC(EURO5)&PACKAGE OPTION 4-DA LESS PKG(PH,VN,CM),BLACK,W/PART NUMBER LABEL
BLACK,W/PART NUMBER LABEL
BLACK,W/PART NUMBER LABEL
PACKAGE OPTION 4-DA LESS PKG(PH,VN,CM),-
-
86211JBRACKET, RADIO RECEIVER, NO.1
main86211-BZ370iA251..L..GCC;A250..GCC,GEN;A251..5F..(GEN,PHL);A251..CVT..(V,X)..(GCC,GEN,PHL)202108-202608
PACKAGE OPTION 4-DA LESS PKG(PH,VN,CM)
86212CBRACKET, RADIO RECEIVER, NO.2
main86212-BZ370iA251..L..GCC;A250..GCC,GEN;A251..5F..(GEN,PHL);A251..CVT..(V,X)..(GCC,GEN,PHL)202108-202608
PACKAGE OPTION 4-DA LESS PKG(PH,VN,CM)
86860ANTENNA ASSY, NAVIGATION
PACKAGE OPTION 4-DA LESS PKG(PH,VN,CM)
9004A14018
main9004A-14018
9004A16036
7 parts on this diagram · 2 diagrams in section