Toyota RAIZE — FOG LAMP

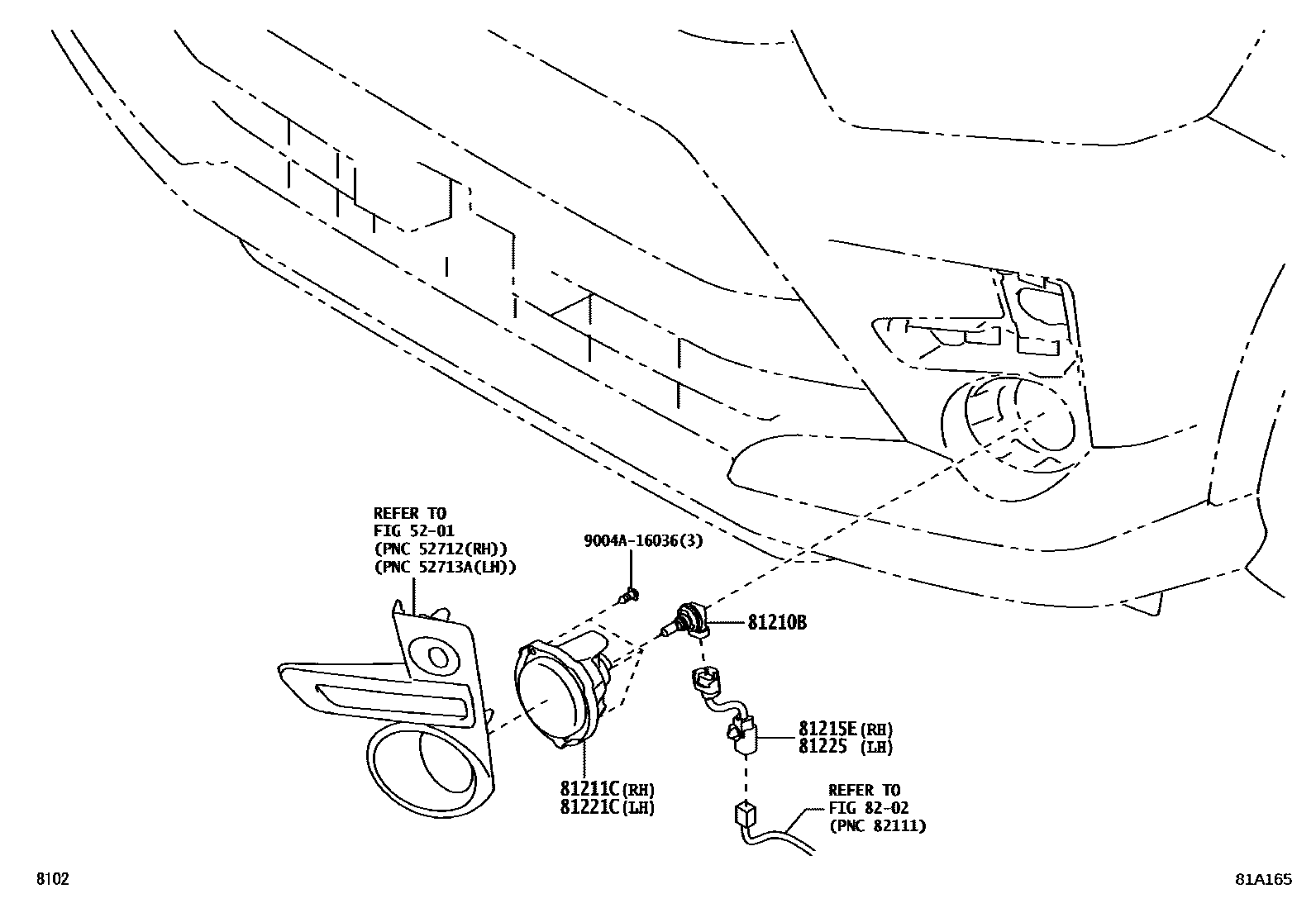
5201
81210BBULB, FOG LAMP
12V 19W H16
81211CLAMP UNIT, FOG LAMP, RH
81215ECORD, FOG LAMP
81221CLAMP UNIT, FOG LAMP, LH
81225CORD, FOG LAMP
8202
9004A16036
8 parts on this diagram · 2 diagrams in section

8 parts on this diagram · 2 diagrams in section