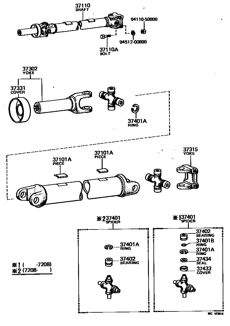
Toyota LITEACE — PROPELLER SHAFT & UNIVERSAL JOINT

37101APIECE, BALANCE, NO.1 (FOR PROPELLER SHAFT)
20G,T=1.2,20G.
30G,T=1.2,30G.
5G.
15G.
25G.
10G,L=20.7,10G.
20G,L=41.4,20G.
30G,L=62.2,30G.
2G,T=2.0,2G.
4G,T=2.0,4G.
6G,L=12.4,6G.
8G,L=16.6,8G.
12G,L=24.9,12G.
14G,L=29.0,14G.
16G,L=33.2,16G.
18G,L=37.3,18G.
22G,L=45.6,22G.
24G,L=49.7,24G.
26G,L=53.9,26G.
28G,L=58.1,28G.
37110SHAFT ASSY, PROPELLER
L=753,OD=65
L=755.5,OD=65
37110ABOLT (FOR PROPELLER SHAFT)
37302YOKE SUB-ASSY, UNIVERSAL JOINT SLEEVE
37315YOKE, UNIVERSAL JOINT FLANGE
37331COVER, SLIDING SHAFT DUST
37401SPIDER KIT, UNIVERSAL JOINT
37401ARING, HOLE SNAP (FOR SPIDER BEARING)
T=2.375-2.425,T=2.40
T=2.425-2.475,T=2.45
T=2.475-2.525,T=2.50
T=2.525-2.575,T=2.55
37401BRING, O (FOR SPIDER BEARING)
37402BEARING SUB-ASSY, UNIVERSAL JOINT SPIDER
OD=26.036-26.049
OD=26.036-26.049
37433COVER, UNIVERSAL JOINT NEEDLE ROLLER
37434SEAL, UNIVERSAL JOINT SPIDER BEARING
9411050800
9451200800
14 parts on this diagram · 1 diagram in section