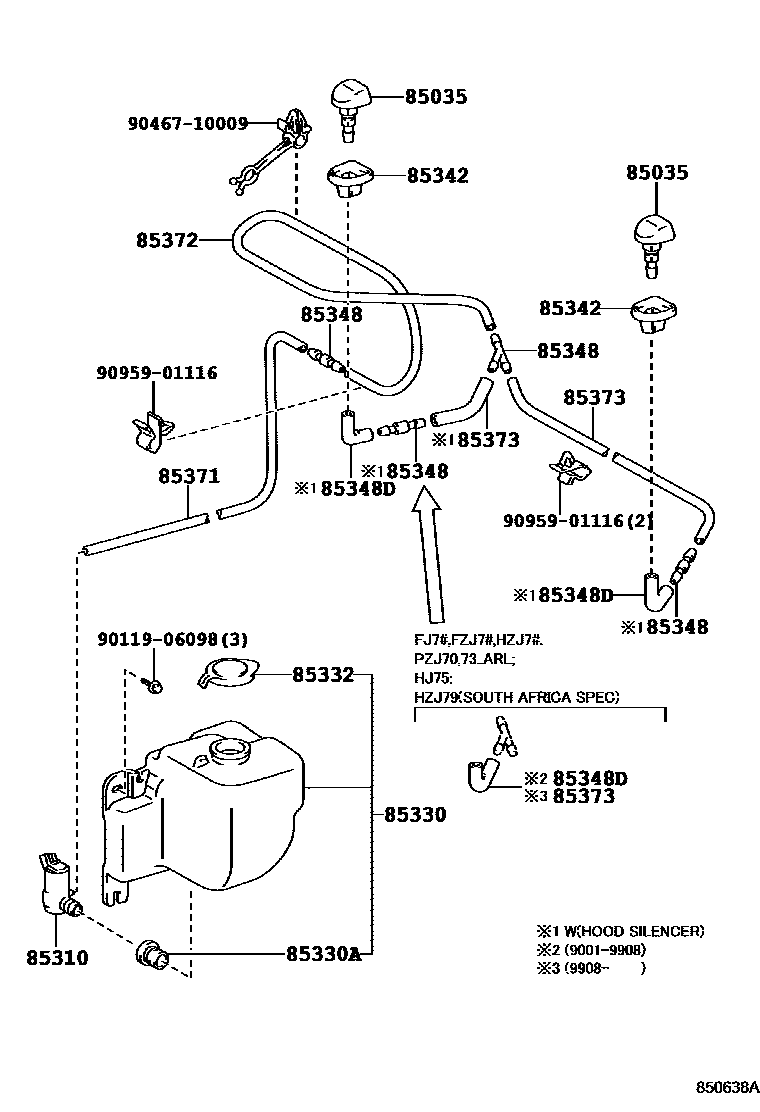
Toyota LAND CRUISER — WINDSHIELD WASHER

85035NOZZLE SUB-ASSY, WASHER
main85381-12050iHZJ78..STD;FZJ78..GCC;HZJ79..GCC,GEN;HZJ79..ARL..IV;FZJ71,78..RHD..GEN;FZJ71,HDJ79..ARL,GCC;FZJ74,79,HDJ78,HZJ71..CBU199908-200701
main85381-12050iFZJ75..ARL..IV;HZJ75..ARL,GCC;HZJ75..GEN..IV;FZJ75..LHD..IV..CBR;FZJ75..(ARL,GCC,GEN)..CBU;HZJ75..LHD..PIC..GEN..CBU;FZJ70,HZJ70..HT..(GCC,GEN);FZJ73,HZJ75..(HT,SOT199401-199908
85310MOTOR AND PUMP ASSY, WINDSHIELD WASHER
main85310-22080iFZJ75..ARL..IV;HZJ75..ARL,GCC;HZJ75..GEN..IV;FZJ75..LHD..IV..CBR;FZJ75..(ARL,GCC,GEN)..CBU;HZJ75..LHD..PIC..GEN..CBU;FZJ70,HZJ70..HT..(GCC,GEN);FZJ73,HZJ75..(HT,SOT199305-199908
main85310-22080iHZJ78..STD;FZJ78..GCC;HZJ79..GCC,GEN;HZJ79..ARL..IV;FZJ71,78..RHD..GEN;FZJ71,HDJ79..ARL,GCC;FZJ74,79,HDJ78,HZJ71..CBU199908-200701
BANGLADESH SPEC
BANGLADESH SPEC
BANGLADESH SPEC
85330JAR ASSY, WINDSHIELD WASHER
W(HOT AIR INTAKE)
W(HOT AIR INTAKE)
W(SCHNOKEL TYPE AIR CLEANER)
W(SCHNOKEL TYPE AIR CLEANER)
W(SCHNOKEL TYPE AIR CLEANER)
W(SCHNOKEL TYPE AIR CLEANER)
W(SCHNOKEL TYPE AIR CLEANER)
main85315-60190iFZJ75..ARL..IV;HZJ75..ARL,GCC;HZJ75..GEN..IV;FZJ75..LHD..IV..CBR;FZJ75..(ARL,GCC,GEN)..CBU;HZJ75..LHD..PIC..GEN..CBU;FZJ70,HZJ70..HT..(GCC,GEN);FZJ73,HZJ75..(HT,SOT¥5,900199401-199908
W(SCHNOKEL TYPE AIR CLEANER)
W(SCHNOKEL TYPE AIR CLEANER)
W(SCHNOKEL TYPE AIR CLEANER)
main85315-60210iHZJ70..ARL;HZJ75..LHD..CBU;HZJ78,79..ARL,GEN;FZJ71,74,78,79..GEN;HZJ75..RHD..(ARL,GEN);FJ7#,HJ75,HZJ71,73,PZJ7#¥5,900199001-199305
main85315-60210iHZJ75..ARL;HZJ7#..HT..GEN;HZJ75..GEN..IV;HZJ75..LHD..PIC..GEN..CBU¥5,900199501-199908
main85315-60230iFZJ75..CBU;FZJ75..LHD..IV;FZJ75..ARL..IV;FZJ73,HZJ70..GCC,GEN;FZJ70,HZJ75..(HT,PIC)..(CBR,DSL)¥3,010199305-199908
W(PRE CLEANER)
W(PRE CLEANER)
W(PRE CLEANER)
W(PRE CLEANER)
W(PRE CLEANER)
W(PRE CLEANER)
W(PRE CLEANER)
main85315-60230iHZJ78..STD;FZJ78..GCC;HZJ79..GCC,GEN;HZJ79..ARL..IV;FZJ71,78..RHD..GEN;FZJ71,HDJ79..ARL,GCC;FZJ74,79,HDJ78,HZJ71..CBU¥3,010199908-200701
W(PRE CLEANER)
W(PRE CLEANER)
85330ABUSH, WINDSHIELD WASHER JAR
main90099-32089iFZJ75..ARL..IV;HZJ75..ARL,GCC;HZJ75..GEN..IV;FZJ75..LHD..IV..CBR;FZJ75..(ARL,GCC,GEN)..CBU;HZJ75..LHD..PIC..GEN..CBU;FZJ70,HZJ70..HT..(GCC,GEN);FZJ73,HZJ75..(HT,SOT199305-199908
main90099-32089iHZJ78..STD;FZJ78..GCC;HZJ79..GCC,GEN;HZJ79..ARL..IV;FZJ71,78..RHD..GEN;FZJ71,HDJ79..ARL,GCC;FZJ74,79,HDJ78,HZJ71..CBU199908-200701
85332CAP, WINDSHIELD WASHER JAR
W(SCHNOKEL TYPE AIR CLEANER)
W(SCHNOKEL TYPE AIR CLEANER)
W(SCHNOKEL TYPE AIR CLEANER)
main85316-34050iFZJ75..ARL..IV;HZJ75..ARL,GCC;HZJ75..GEN..IV;FZJ75..LHD..IV..CBR;FZJ75..(ARL,GCC,GEN)..CBU;HZJ75..LHD..PIC..GEN..CBU;FZJ70,HZJ70..HT..(GCC,GEN);FZJ73,HZJ75..(HT,SOT199401-199908
W(SCHNOKEL TYPE AIR CLEANER)
W(SCHNOKEL TYPE AIR CLEANER)
W(SCHNOKEL TYPE AIR CLEANER)
W(SCHNOKEL TYPE AIR CLEANER)
W(PRE CLEANER)
W(PRE CLEANER)
W(PRE CLEANER)
W(PRE CLEANER)
main85316-35130iFZJ75..ARL..IV;HZJ75..ARL,GCC;HZJ75..GEN..IV;FZJ75..LHD..IV..CBR;FZJ75..(ARL,GCC,GEN)..CBU;HZJ75..LHD..PIC..GEN..CBU;FZJ70,HZJ70..HT..(GCC,GEN);FZJ73,HZJ75..(HT,SOT¥220199310-199908
W(PRE CLEANER)
W(PRE CLEANER)
W(PRE CLEANER)
W(PRE CLEANER)
main85316-35130iHZJ78..STD;FZJ78..GCC;HZJ79..GCC,GEN;HZJ79..ARL..IV;FZJ71,78..RHD..GEN;FZJ71,HDJ79..ARL,GCC;FZJ74,79,HDJ78,HZJ71..CBU¥220199908-200701
W(PRE CLEANER)
W(PRE CLEANER)
W(PRE CLEANER)
sub85316-34040
sub85316-34040
W(SCHNOKEL TYPE AIR CLEANER)
sub85316-34050
COLUMBIA SPEC & W(SCHNOKEL TYPE AIR CLEANER)
sub85316-34050
W(SCHNOKEL TYPE AIR CLEANER)
sub85316-34050
85342HOLDER, WASHER NOZZLE
85348JOINT, WINDSHIELD WASHER HOSE, NO.1
W(HOOD SILENCER),3-WAY
3-WAY
3-WAY
3-WAY
3-WAY
main85348-12250iFZJ75..ARL..IV;HZJ75..ARL,GCC;HZJ75..GEN..IV;FZJ75..LHD..IV..CBR;FZJ75..(ARL,GCC,GEN)..CBU;HZJ75..LHD..PIC..GEN..CBU;FZJ70,HZJ70..HT..(GCC,GEN);FZJ73,HZJ75..(HT,SOT199305-199908
3-WAY
W(HOOD SILENCER),3-WAY
3-WAY
3-WAY
3-WAY
3-WAY
3-WAY
3-WAY
2-WAY
2-WAY
2-WAY
2-WAY
2-WAY
2-WAY
main85349-89122iHZJ75..GEN..IV;FZJ75..LHD..IV..CBR;HZJ75..LHD..PIC..CBU;FZJ70,HZJ7#..HT..(GCC,GEN);FZJ73,75..(GCC,GEN)..CBU..CBR199305-199908
2-WAY
2-WAY
2-WAY
2-WAY
2-WAY
main85349-89122iFZJ71,78..GCC;HZJ79..GCC,GEN;FZJ71,78..RHD..GEN;FZJ74,79,HZJ71,78..(GCC,GEN)..CBU200108-200701
2-WAY
main85349-89122iFZJ71,78..GCC;HZJ79..GCC,GEN;FZJ71,78..RHD..GEN;FZJ74,79,HZJ71,78..(GCC,GEN)..CBU200108-200701
W(HOOD SILENCER),2-WAY
2-WAY
85348DJOINT, WINDSHIELD WASHER ELBOW, NO.1
main85355-14481iLJ7#,RJ7#..LX;HJ75,HZJ75..ARL,SA;FJ7#,FZJ70,75,HZJ70,73,PZJ70,73..ARL¥0199001-199305
85371HOSE, WINDSHIELD WASHER (FROM MOTOR TO JOINT)
L=2000(*H,L=1150)
main90446-06006iHJ75,HZJ75..ARL,SA;FJ7#,FZJ70,75,78,79,HZJ70,73,78,79,PZJ70,73..ARL¥640199001-200002
L=2000(*H,L=1200)
L=2000(*H,L=1200)
L=2000(*H,L=1260)
L=2000(*H,L=1150)
L=2000(*H,L=1200)
L=2000(*H,L=1200)
L=2000(*H,L=1200)
L=2000(*H,L=1200)
L=1000(*H,L=360)
L=1000(*H,L=360)
85372HOSE, WINDSHIELD WASHER (FROM JOINT TO JOINT), NO.1
L=1000(*H,L=610)
L=1000(*H,L=610)
L=1000(*H,L=610)
L=1000(*H,L=610)
L=1000(*H,L=610)
L=1000(*H,L=610)
L=1000(*H,L=610)
L=1000(*H,L=610),W(HOOD SILENCER)
L=1000(*H,L=610)
L=1000(*H,L=610)
L=1000(*H,L=530)
L=1000(*H,L=310)
L=1000(*H,L=610),W(HOOD SILENCER)
L=1000(*H,L=310)
85373HOSE, WINDSHIELD WASHER (FROM JOINT TO NOZZLE)
L=1450(*H,L=40)
L=1450(*H,L=40)
L=1450(*H,L=40)
L=1450(*H,L=40),W(HOOD SILENCER)
L=1450(*H,L=40)
L=1000(*H,L=670)
main90099-33299iFZJ71,78..GCC;HZJ79..GCC,GEN;FZJ71,78..RHD..GEN;FZJ74,79,HZJ71,78..(GCC,GEN)..CBU200108-200701
L=1000(*H,L=180)
L=1000(*H,L=350)
L=1000(*H,L=670)
L=1000(*H,L=680),W(HOOD SILENCER)
L=1000(*H,L=650)
L=1000(*H,L=650)
L=1000(*H,L=650)
L=1000(*H,L=650)
L=1000(*H,L=650)
L=1000(*H,L=650)
L=1000(*H,L=140)
L=1000(*H,L=650)
L=1000(*H,L=650)
L=1000(*H,L=650)
L=1000(*H,L=140)
L=1000(*H,L=680),W(HOOD SILENCER)
9011906098
9046710009
9095901116
14 parts on this diagram · 3 diagrams in section