Toyota LAND CRUISER — VENTURI

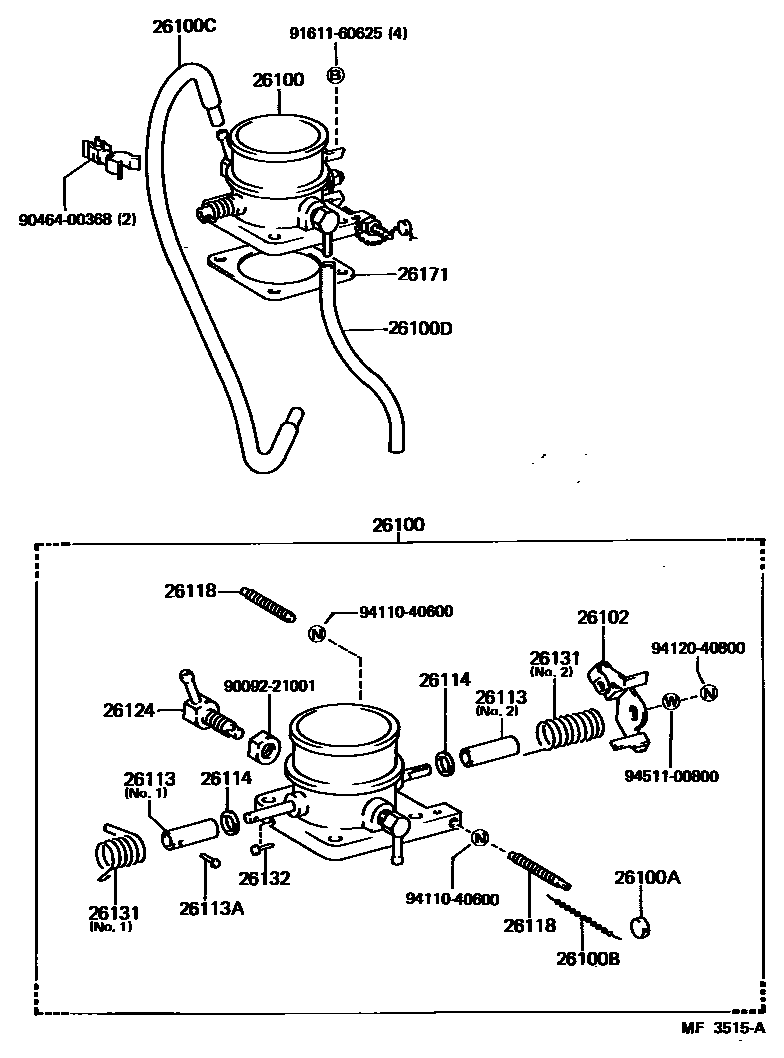
26100VENTURI ASSY
26100ASEAL, LEAD
26100BWIRE, SEAL
26100CHOSE, VACCUM, NO.1(VENTURI TO GOVERNOR)
26100DHOSE, VACCUM, NO.2(VENTURI TO GOVERNOR)
26102LEVER SUB-ASSY, THROTTLE SHAFT ADJUSTING
26113COLLAR, THROTTLE VALVE SHAFT
NO.1
NO.2
26113APIN, THROTTLE VALVE SHAFT
26114WASHER, THROTTLE VALVE SHAFT ADJUSTING
T=0.1,T=0.1
T=0.2,T=0.2
T=0.5,T=0.5
26124CONNECTOR, VENTURI PIPE
26131SPRING, RETURN
NO.1
NO.2
26132PIN
26171GASKET, VENTURI
9009221001
main90092-21001
9046400368
9161160625
9411040600
9412040800
9451100800
20 parts on this diagram · 3 diagrams in section