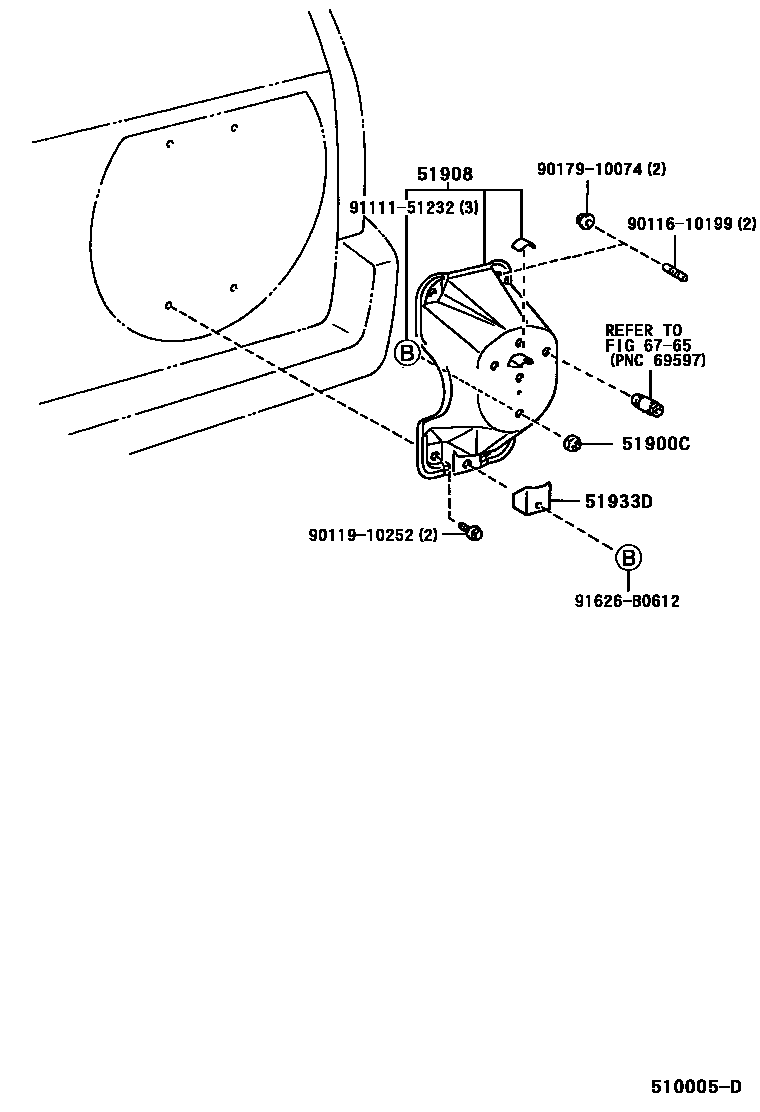
Toyota LAND CRUISER PRADO — SPARE WHEEL CARRIER

51900CNUT, SPARE WHEEL, HUB
��(������ ��-�)
��(������ ��-�)
51908BRACKET SUB-ASSY, SPARE WHEEL CARRIER
51933DSTOPPER, SPARE WHEEL CARRIER
6765
9011610199
9011910252
9017910074
9111151232
91626B0612
9 parts on this diagram · 1 diagram in section