Toyota INNOVA — WIRING & CLAMP

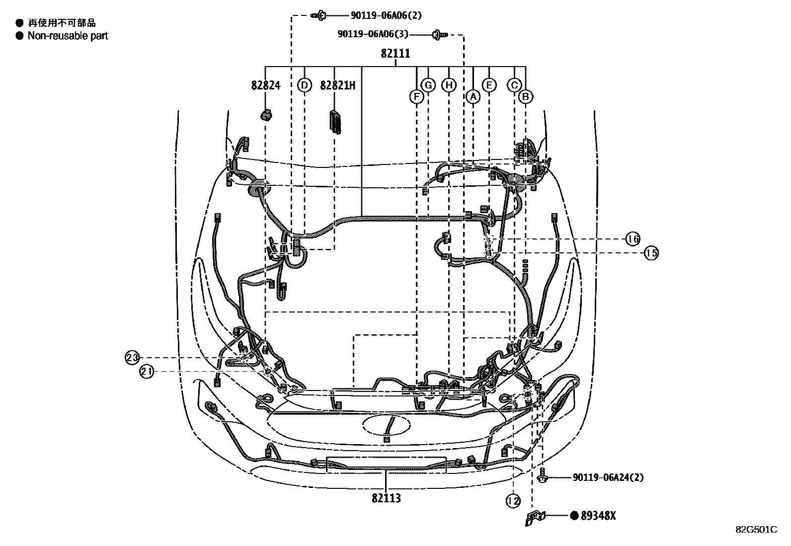
82111WIRE, ENGINE ROOM MAIN
82113WIRE, ENGINE ROOM, NO.3
82821HCOVER, CONNECTOR
82824CONNECTOR, WIRING HARNESS
89348XCLIP, ULTRASONIC SENSOR, FRONT
AFRICA SPEC
OCEANIA SOEC
9011906A06
9011906A24
7 parts on this diagram · 35 diagrams in section