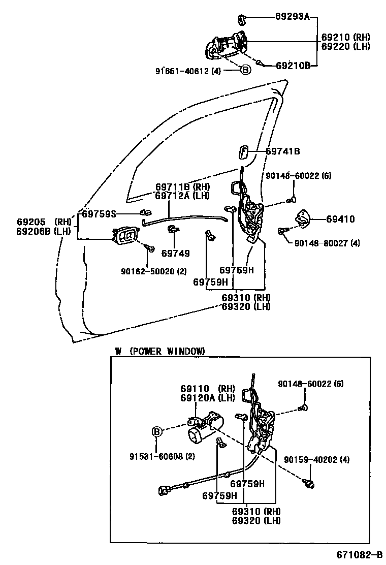
Toyota HILUX — FRONT DOOR LOCK & HANDLE

69110ACTUATOR ASSY, FRONT DOOR LOCK, RH
69120AACTUATOR ASSY, FRONT DOOR LOCK, LH
69205HANDLE SUB-ASSY, FRONT DOOR INSIDE, RH
MD.MOON MIST,TRIM1#
69206BHANDLE SUB-ASSY, FRONT DOOR INSIDE, LH
MD.MOON MIST,TRIM1#
69210HANDLE ASSY, FRONT DOOR, OUTSIDE RH
GREEN ME.OP.,6P4
GREEN ME.OP.,6P4
69210BCUSHION(FOR FRONT DOOR OUTSIDE HANDLE)
69220HANDLE ASSY, FRONT DOOR OUTSIDE, LH
GREEN ME.OP.,6P4
GREEN ME.OP.,6P4
69293ASNAP, FRONT DOOR OUTSIDE HANDLE
69310LOCK ASSY, FRONT DOOR, RH
69320LOCK ASSY, FRONT DOOR, LH
69410PLATE ASSY, FRONT DOOR LOCK STRIKER
69711BLINK, FRONT DOOR LOCK REMOTE CONTROL, RH
69712ALINK, FRONT DOOR LOCK REMOTE CONTROL, LH
69741BKNOB, FRONT DOOR LOCK CONTROL
MD.MOON MIST,TRIM1#
69749CLAMP, FRONT DOOR LOCK LINK
69759HSNAP, DOOR LOCK CONTROL LINK, NO.2
69759SSNAP, FRONT DOOR INSIDE HANDLE
9014860022
9014880027
9015940202
9016250020
9153160608
9165140612
23 parts on this diagram · 1 diagram in section