Toyota HILUX (DOUBLE CAB) — FUEL FILTER

2202
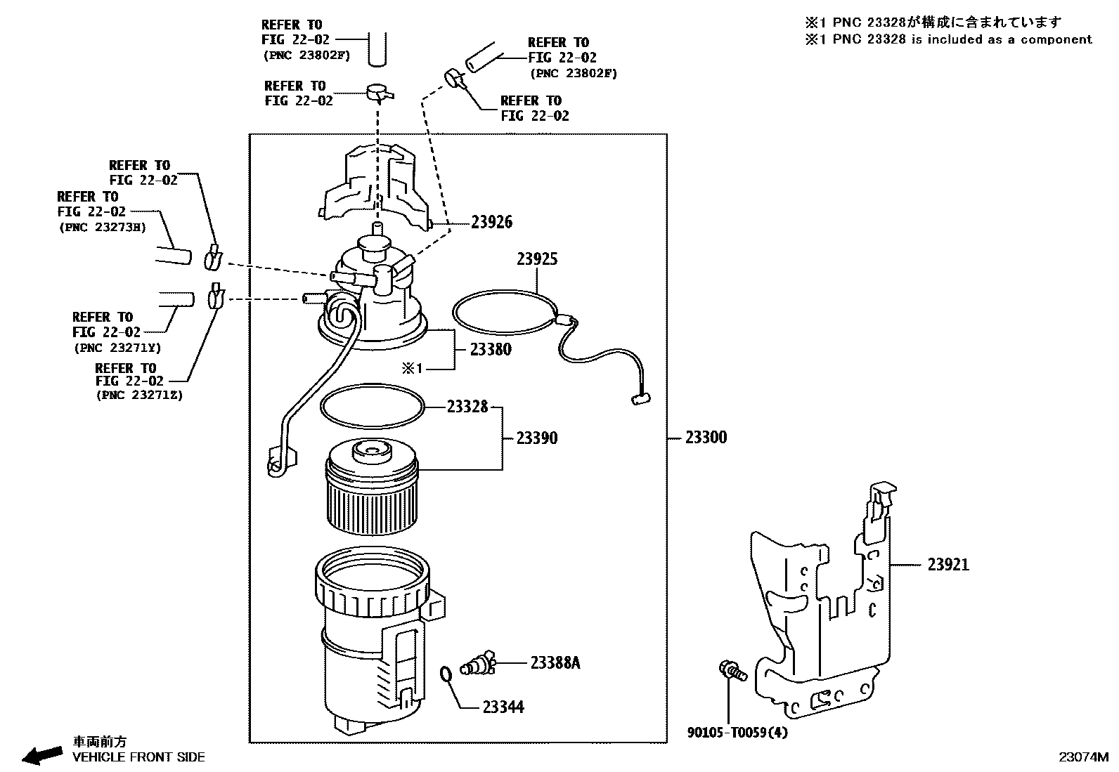
23300FILTER ASSY, FUEL
main23300-0L101i1GDFTV..GUN136..6FC;1GDFTV..GUN126..S..IV3;1GDFTV..GUN126..H..BZAG;1GDFTV..GUN126..6F..S..BZAG;1GDFTV..GUN126..H..MHV..IV3;1GDFTV..GUN136..6F..(BZAG,SA);2GDFTV..GUN202408
ASIA COLD COUNTRY SPEC
main23300-0L112i1GDFTV..GUN126..6F..L..BZAG;1GDFTV..GUN126..6FC..(L,S)..BZAG;2GDFTV..GUN125..S..(GCC,GEN,GHA,IDN,LA,MA,VN);2GDFTV..GUN125..(H,L)..(GCC,GEN,GHA,IDN,KEN,LA,MA,PH);1GD¥12,500202408
BRAZIL SPEC&EXHAUST EMISSION CONTROL-L8
BRAZIL SPEC&EXHAUST EMISSION CONTROL-TIER 2.5
23328GASKET(FOR FUEL FILTER)
main23344-0L070i1GDFTV..GUN136..6FC;1GDFTV..GUN136..6F..H;1GDFTV..GUN126..S..IV3;1GDFTV..GUN126..H..MHV..IV3;1GDFTV,2GDFTV..GUN120,121,122,125,135;1GDFTV..GUN126..(AGTP,CAMP,GHAP,K¥270202408
23344GASKET, CLAMPING NUT(FOR FUEL FILTER)
main23344-0L041i1GDFTV..GUN136..6FC;1GDFTV..GUN136..6F..H;1GDFTV..GUN126..S..IV3;1GDFTV..GUN126..H..MHV..IV3;1GDFTV,2GDFTV..GUN120,121,122,125,135;1GDFTV..GUN126..(AGTP,CAMP,GHAP,K¥340202408
23380CAP ASSY, FUEL FILTER
main23380-0L091i1GDFTV..GUN136..6FC;1GDFTV..GUN126..S..IV3;1GDFTV..GUN126..H..BZAG;1GDFTV..GUN126..6F..S..BZAG;1GDFTV..GUN126..H..MHV..IV3;1GDFTV..GUN136..6F..(BZAG,SA);2GDFTV..GUN¥4,560202408
ASIA COLD COUNTRY SPEC
main23380-0L111i1GDFTV..GUN126..6F..L..BZAG;1GDFTV..GUN126..6FC..(L,S)..BZAG;2GDFTV..GUN125..S..(GCC,GEN,GHA,IDN,LA,MA,VN);2GDFTV..GUN125..(H,L)..(GCC,GEN,GHA,IDN,KEN,LA,MA,PH);1GD202408
BRAZIL SPEC&EXHAUST EMISSION CONTROL-L8
BRAZIL SPEC&EXHAUST EMISSION CONTROL-TIER 2.5
23388APLUG, FUEL FILTER DRAIN
main23388-0L041i1GDFTV..GUN136..6FC;1GDFTV..GUN136..6F..H;1GDFTV..GUN126..S..IV3;1GDFTV..GUN126..H..MHV..IV3;1GDFTV,2GDFTV..GUN120,121,122,125,135;1GDFTV..GUN126..(AGTP,CAMP,GHAP,K¥390202408
23390ELEMENT ASSY, FUEL FILTER
main23390-0L070i1GDFTV..GUN136..6FC;1GDFTV..GUN126..S..IV3;1GDFTV..GUN126..H..BZAG;1GDFTV..GUN126..6F..S..BZAG;1GDFTV..GUN126..H..MHV..IV3;1GDFTV..GUN136..6F..(BZAG,SA);2GDFTV..GUN¥5,700202408
ASIA COLD COUNTRY SPEC
BRAZIL SPEC&EXHAUST EMISSION CONTROL-TIER 2.5
BRAZIL SPEC&EXHAUST EMISSION CONTROL-L8
main23390-0L100i1GDFTV..GUN126..6F..L..BZAG;1GDFTV..GUN126..6FC..(L,S)..BZAG;2GDFTV..GUN125..S..(GCC,GEN,GHA,IDN,LA,MA,VN);2GDFTV..GUN125..(H,L)..(GCC,GEN,GHA,IDN,KEN,LA,MA,PH);1GD¥5,700202408
23921SUPPORT, FUEL FILTER
main23921-0E040i1GDFTV..GUN126..TWN;1GDFTV..GUN126..6F..L..BZAG;2GDFTV..GUN135..AGTP..L..LA;1GDFTV..GUN126..6FC..(L,S)..BZAG¥1,410202408
BHUTAN SPEC
main23921-0E040i1GDFTV..GUN126..TWN;1GDFTV..GUN126..6F..L..BZAG;2GDFTV..GUN135..AGTP..L..LA;1GDFTV..GUN126..6FC..(L,S)..BZAG¥1,410202408
EXHAUST EMISSION CONTROL-EURO 6B WITH(ON BOARD DIAGNOSIS)
main23921-0E040i1GDFTV..GUN126..TWN;1GDFTV..GUN126..6F..L..BZAG;2GDFTV..GUN135..AGTP..L..LA;1GDFTV..GUN126..6FC..(L,S)..BZAG¥1,410202408
EXHAUST EMISSION CONTROL-EURO 6C,EURO 6D WITH(ON BOARD DIAGNOSIS)
main23921-0E050i2GDFTV..GUN135..S..LA;1GDFTV..GUN126..H..BZAG;1GDFTV..GUN136..LHD..6F;2GDFTV..GUN135..THP..L..LA;1GDFTV..GUN126..6F..S..BZAG;1GDFTV..GUN126..S..DCRL..IV3;1GDFTV..GU202408
23925STAY, FUEL FILTER SUPPORT
main23925-0L020i1GDFTV..GUN136..6FC;1GDFTV..GUN136..6F..H;1GDFTV..GUN126..S..IV3;1GDFTV..GUN126..H..MHV..IV3;1GDFTV,2GDFTV..GUN120,121,122,125,135;1GDFTV..GUN126..(AGTP,CAMP,GHAP,K¥280202408
23926STAY, FUEL FILTER SUPPORT, NO.2
main23926-0L020i1GDFTV..GUN136..6FC;1GDFTV..GUN136..6F..H;1GDFTV..GUN126..S..IV3;1GDFTV..GUN126..H..MHV..IV3;1GDFTV,2GDFTV..GUN120,121,122,125,135;1GDFTV..GUN126..(AGTP,CAMP,GHAP,K¥1,680202408
90105T0059
main90105-T0059
11 parts on this diagram · 3 diagrams in section