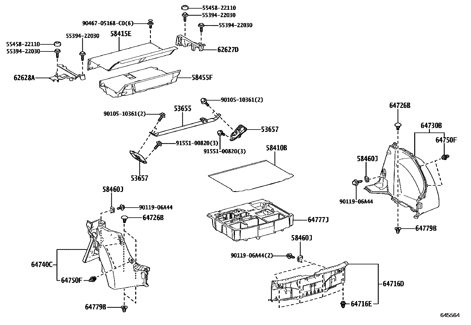
Toyota GR COROLLA — DECK BOARD & DECK TRIM COVER

53655BRACE, REAR SUSPENSION, UPPER CENTER
53657BRACKET, REAR SUSPENSION BRACE, NO.1
RH
LH
58410BBOARD ASSY, DECK
BLACK,TRIM2#,3#
BLACK,TRIM3#
58415EBOARD, REAR FLOOR, NO.1
BLACK,TRIM3#
58455FPANEL, REAR FLOOR BOARD, NO.1
58460JSTRIKER ASSY, LUGGAGE HOLD BELT
62627DCOVER, SIDE TRIM, RH
BLACK,TRIM3#
62628ACOVER, SIDE TRIM, LH
BLACK,TRIM3#
64716DCOVER, DECK TRIM, REAR
BLACK,TRIM2#,3#
BLACK,TRIM3#
64716ECLIP(FOR DECK TRIM REAR COVER)
64726BCLIP, DECK REAR TRIM
BLACK,TRIM2#,3#
BLACK,TRIM3#
64730BPANEL ASSY, DECK TRIM SIDE, RH
BLACK,TRIM2#,3#
BLACK,TRIM3#
64740CPANEL ASSY, DECK TRIM SIDE, LH
BLACK,TRIM2#,3#
BLACK,TRIM3#
64750FCLIP(FOR DECK SIDE TRIM PANEL)
64777JCUSHION, SPARE WHEEL
64779BSTOPPER, SPARE WHEEL COVER
5539422030BRACKET, INSTRUMENT PANEL TO PEDAL
5545822110BASE, REAR WIPER SWITCH
9010510361
9011906A44
9046705168C0
main90467-05168C0
9155100820
22 parts on this diagram · 2 diagrams in section