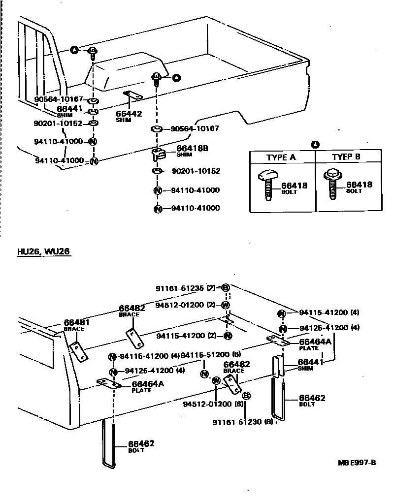
Toyota DYNA — REAR BODY MOUNTING

66418BOLT, MOUNTING
66418BSHIM, MOUNTING
66441SHIM, MOUNTING, NO.1
OD=70
66442SHIM, MOUNTING, NO.2
66462BOLT, U(FOR MAIN SILL)
L=363
L=315
L=336
COLD SPEC,L=330
RR
CTR
FR,CTR
FR
CTR
FR
FR
66464APLATE, U BOLT
66481BRACE, SILL TO FRAME, RH
66482BRACE, SILL TO FRAME, LH
9020110152
9056410167
9116151230
9116151235
9411041000
9411541200
9411551200
9412541200
9451201200
17 parts on this diagram · 8 diagrams in section