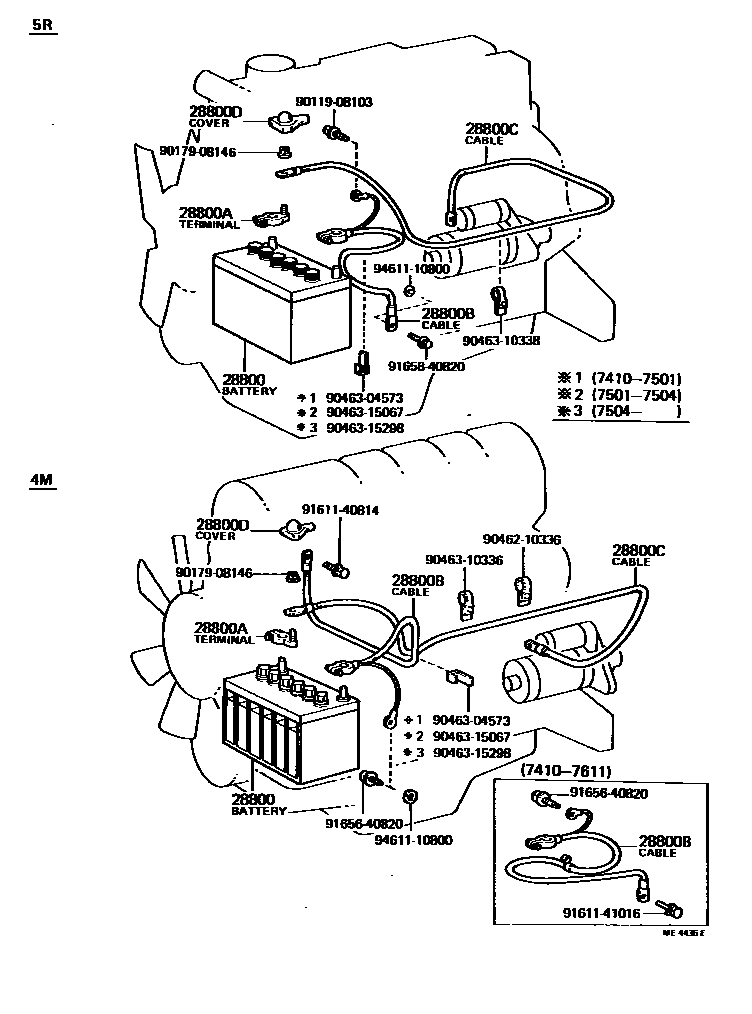
Toyota CROWN — BATTERY & BATTERY CABLE

28800BATTERY
46B24L,NS60L,GS
46B24L,NS60L,KOBE
28800ATERMINAL, BATTERY POSITIVE
FOR NS40ZL,NS60L
FOR N50ZL,N40L,N70ZL
FOR.N50ZL,N40L,N70ZL
28800BCABLE, BATTERY TO GROUND
FOR NS40ZL,NS60L
FOR NS40ZAL,NS60L
FOR N50ZL,N40L,N70ZL
FOR NS60L,NS40ZAL
FOR N40L,N50ZL,N70ZL
28800CCABLE, BATTERY TO STARTER(FOR BATTERY TO MAIN SWITCH)
28800DCOVER, CONNECTOR(FOR BATTERY TERMINAL)
9011908103
9017908146
9046210336
main90462-10336
9046304573
main90463-04573
9046310336
9046310338
9046315067
9046315298
9161140814
9161141016
9165640820
9165840820
main91658-40820
9461110800
18 parts on this diagram · 1 diagram in section