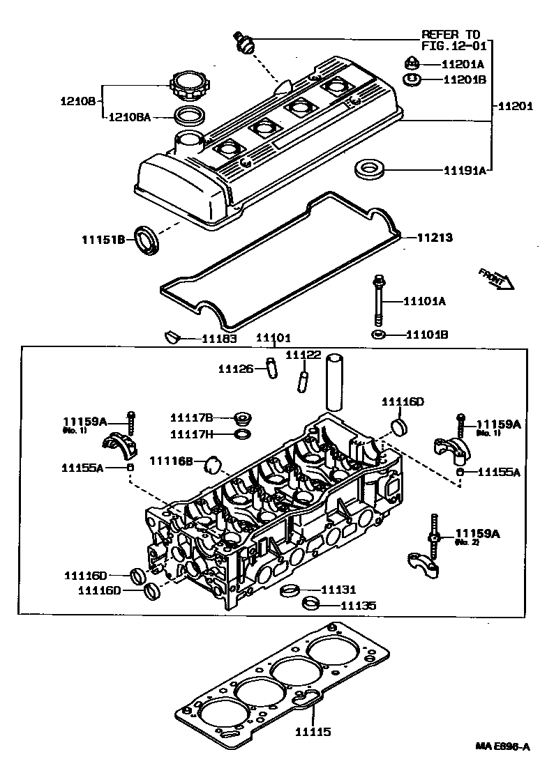
Toyota COROLLA — CYLINDER HEAD

11101HEAD SUB-ASSY, CYLINDER
11101ABOLT(FOR CYLINDER HEAD SET)
INTAKE
EXHAUST
11101BWASHER, PLATE(FOR CYLINDER HEAD SET)
11115GASKET, CYLINDER HEAD
MARK 1
MARK 2
MARK 3
11116BPLUG, TIGHT, NO.2
11116DPLUG, TIGHT, NO.4
11117BPLUG, W/HEAD TAPER SCREW, NO.2
11117HGASKET(FOR WATER HOLE)
11122BUSH, INTAKE VALVE GUIDE
11126BUSH, EXHAUST VALVE GUIDE
11131SEAT, INTAKE VALVE
11135SEAT, EXHAUST VALVE
11151BSEAL, OIL(FOR CAMSHAFT SETTING)
11155APIN, RING W/HEAD
11159ABOLT(FOR HEAD TO CAMSHAFT BEARING CAP)
11183PLUG, SEMICIRCULAR
11191AGASKET(FOR SPARK PLUG TUBE)
11201COVER SUB-ASSY, CYLINDER HEAD
11201ANUT, CAP(FOR CYLINDER HEAD COVER)
11201BWASHER, SEAL(FOR CYLINDER HEAD COVER)
11213GASKET, CYLINDER HEAD COVER
1201
12108CAP SUB-ASSY, OIL FILLER
12108AGASKET(FOR OIL FILLER CAP)
24 parts on this diagram · 9 diagrams in section