Toyota COMFORT — RADIATOR & WATER OUTLET

1104
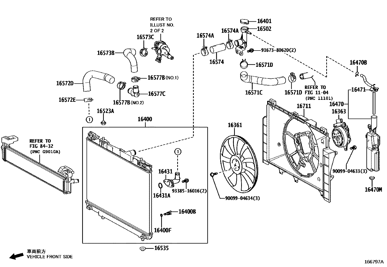
16361FAN
16363MOTOR, COOLING FAN
16400RADIATOR ASSY
16400BPLUG, RADIATOR DRAIN COCK
16400FPACKING(FOR RADIATOR DRAIN COCK)
16401CAP SUB-ASSY, RADIATOR
16431INLET, RADIATOR WATER
16431ARING, O(FOR RADIATOR WATER INLET)
16470TANK ASSY, RADIATOR RESERVE
16470BCLAMP OR CLIP(FOR RADIATOR RESERVE TANK HOSE)
16470MGROMMET
16471CAP SUB-ASSY, RESERVE TANK
16502FILLER SUB-ASSY, WATER
16523ACUSHION, RADIATOR SUPPORT
16535SUPPORT, RADIATOR, LOWER
16571CHOSE, RADIATOR, NO.1
16571DCLIP, RADIATOR HOSE, NO.1
16572DHOSE, RADIATOR, NO.2
16572ECLIP, RADIATOR HOSE, NO.2
16573BHOSE, RADIATOR, NO.3
16573CCLAMP OR CLIP, RADIATOR HOSE, NO.3
16574HOSE, RADIATOR, NO.4
16574ACLIP, RADIATOR HOSE, NO.4
16577BCLAMP OR CLIP, HOSE(FOR RADIATOR PIPE)
NO.1:REFER ILLUST.
NO.2:REFER ILLUST.
16577CPIPE, RADIATOR
16711SHROUD, FAN
8432
9009904633
9009904634
9167380620
9338516016
32 parts on this diagram · 2 diagrams in section