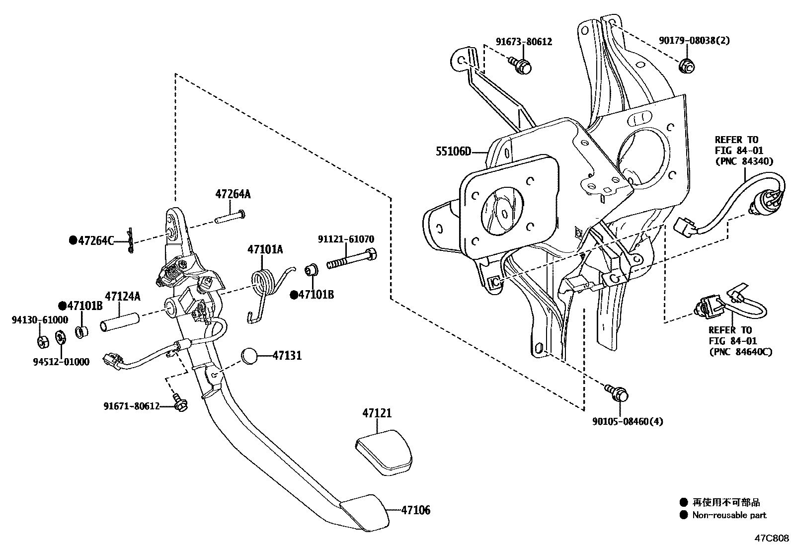
Toyota COASTER — BRAKE PEDAL & BRACKET

47101ASPRING(FOR BRAKE PEDAL RETURN)
main90508-35322iXZB60..09S;XZB60,70..5F;XZB70,80..(13S,24S)..HDCR;XZB70..(21S,29S,49S)..6FC¥200201701-202201
47101BBUSH(FOR BRAKE PEDAL)
main90386-13007iXZB60..09S;XZB60,70..5F;XZB70,80..(13S,24S)..HDCR;XZB70..(21S,29S,49S)..6FC¥160201701-202201
47106PEDAL SUB-ASSY, BRAKE W/SWITCH
main47106-36010iXZB60..09S;XZB60,70..5F;XZB70,80..(13S,24S)..HDCR;XZB70..(21S,29S,49S)..6FC¥4,640201701-202201
main47106-36010iXZB60..5F;XZB60..09S;XZB70..21S,29S,49S;XZB70,80..(13S,24S)..HDCR¥4,640202201-202312
47121PAD, BRAKE PEDAL
main31321-14020iXZB60..09S;XZB60,70..5F;XZB70,80..(13S,24S)..HDCR;XZB70..(21S,29S,49S)..6FC¥200201701-202201
47124ACOLLAR(FOR BRAKE PEDAL SHAFT)
main90387-10004iXZB60..09S;XZB60,70..5F;XZB70,80..(13S,24S)..HDCR;XZB70..(21S,29S,49S)..6FC¥210201701-202201
47131CUSHION(FOR STOP LAMP SWITCH)
main90541-06036iXZB60..09S;XZB60,70..5F;XZB70,80..(13S,24S)..HDCR;XZB70..(21S,29S,49S)..6FC¥110201701-202201
47264APIN(FOR PUSH ROD)
main90240-06028iXZB60..09S;XZB60,70..5F;XZB70,80..(13S,24S)..HDCR;XZB70..(21S,29S,49S)..6FC¥90201701-202201
47264CCLIP(FOR PUSH ROD CLEVIS PIN)
main90468-07027iXZB60..09S;XZB60,70..5F;XZB70,80..(13S,24S)..HDCR;XZB70..(21S,29S,49S)..6FC¥60201701-202201
55106DBRACKET SUB-ASSY, PEDAL
8401
9010508460
9017908038
9112161070
9167180612
9167380612
9413061000
9451201000
17 parts on this diagram · 2 diagrams in section