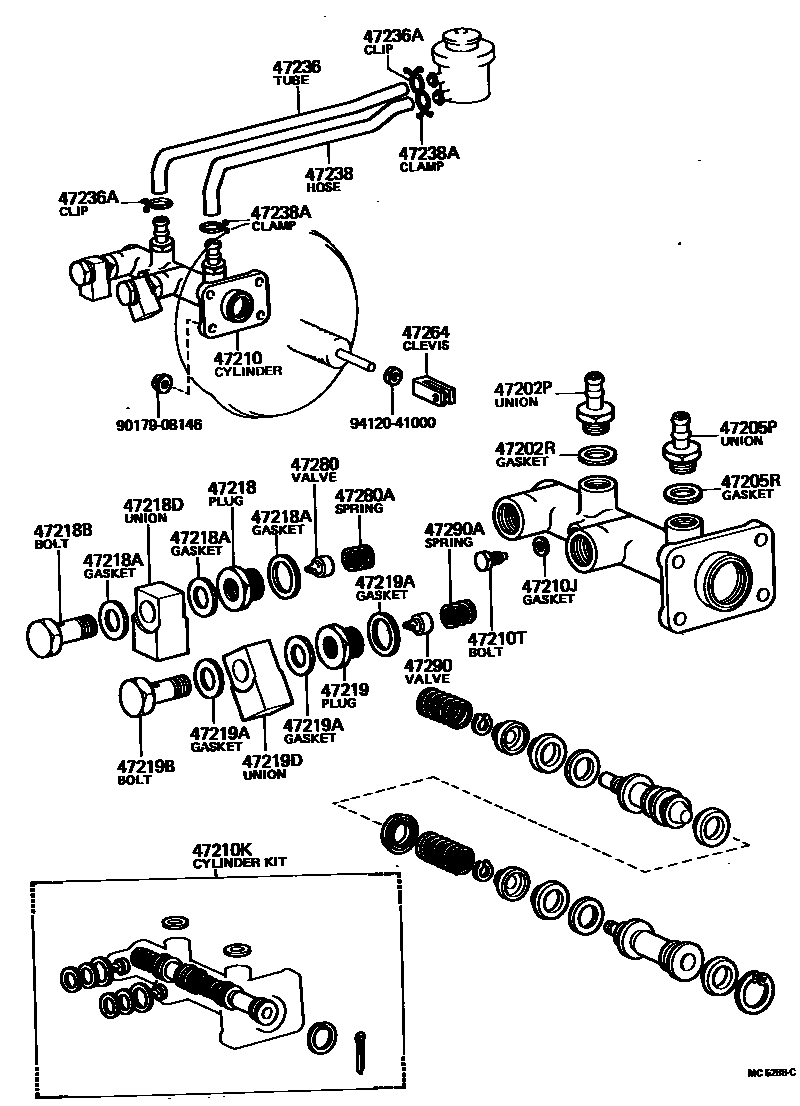
Toyota COASTER — BRAKE MASTER CYLINDER

47202PUNION, RESERVOIR(FOR BRAKE MASTER CYLINDER SIDE)
47202RGASKET, RESERVOIR UNION(FOR BRAKE MASTER CYLINDER SIDE)
47205PUNION, RESERVOIR(FOR BRAKE MASTER CYLINDER REAR SIDE)
47205RGASKET, RESERVOIR UNION(FOR BRAKE MASTER CYLINDER REAR SIDE)
47210CYLINDER ASSY, MASTER, W/O BOOSTER
ID=25.40
ID=25.40
47210JGASKET(FOR MASTER CYLINDER)
47210KCYLINDER KIT, BRAKE MASTER
47210TBOLT(FOR BRAKE MASTER CYLINDER)
47218PLUG, MASTER CYLINDER FLUID OUTLET
47218AGASKET(FOR FLUID OUTLET PLUG)
UNION SIDE
PLUG SIDE
47218BBOLT, UNION(FOR MASTER CYLINDER FLUID OUTLET)
47218DUNION(FOR MASTER CYLINDER FLUID OUTLET)
47219PLUG, MASTER CYLINDER FLUID OUTLET(FOR REAR SIDE)
47219AGASKET(FOR FLUID OUTLET PLUG REAR SIDE)
UNION SIDE
PLUG SIDE
47219BBOLT, UNION(FOR FLUID OUTLET REAR SIDE)
47219DUNION(FOR FLUID OUTLET REAR SIDE)
47236TUBE, RESERVOIR BRAKE
47236ACLIP(FOR RESERVOIR TUBE)
47238HOSE, MASTER CYLINDER BRIDGE
47238ACLAMP, HOSE(FOR MASTER CYLINDER BRIDGE HOSE)
47264CLEVIS, MASTER CYLINDER PUSH ROD
47280VALVE ASSY, BRAKE MASTER CYLINDER OUTLET CHECK
47280ASPRING, COMPRESSION
47290VALVE ASSY, MASTER CYLINDER OUTLET(FOR REAR SIDE)
47290ASPRING, COMPRESSION(FOR FLUID OUTLET REAR SIDE)
9017908146
9412041000
27 parts on this diagram · 2 diagrams in section