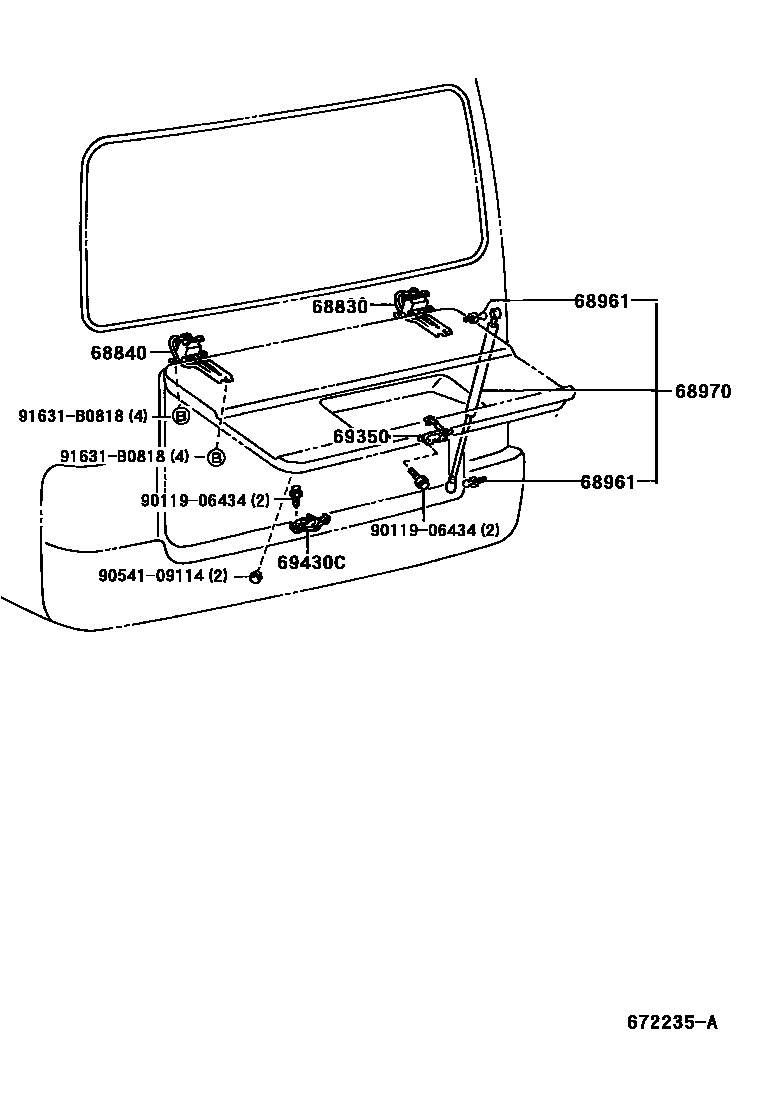
Toyota COASTER (CHINA) — BACK DOOR LOCK & HINGE

68830HINGE ASSY, BACK DOOR, RH
UPPER
W(DOUBLE SWING BACK DOOR),UPPER
LOWER
W(DOUBLE SWING BACK DOOR),LOWER
68840HINGE ASSY, BACK DOOR, LH
UPPER
W(DOUBLE SWING BACK DOOR),UPPER
W(DOUBLE SWING BACK DOOR),LOWER
LOWER
68961BOLT, BACK DOOR STAY
68970STAY ASSY, BACK DOOR, RH
69350LOCK ASSY, BACK DOOR
W(DOUBLE SWING BACK DOOR)
69430CSTRIKER ASSY, BACK DOOR LOCK
W(DOUBLE SWING BACK DOOR)
9011906434
9054109114
91631B0818
9 parts on this diagram · 2 diagrams in section