Toyota COASTER (CHINA) — AIR CLEANER

1701
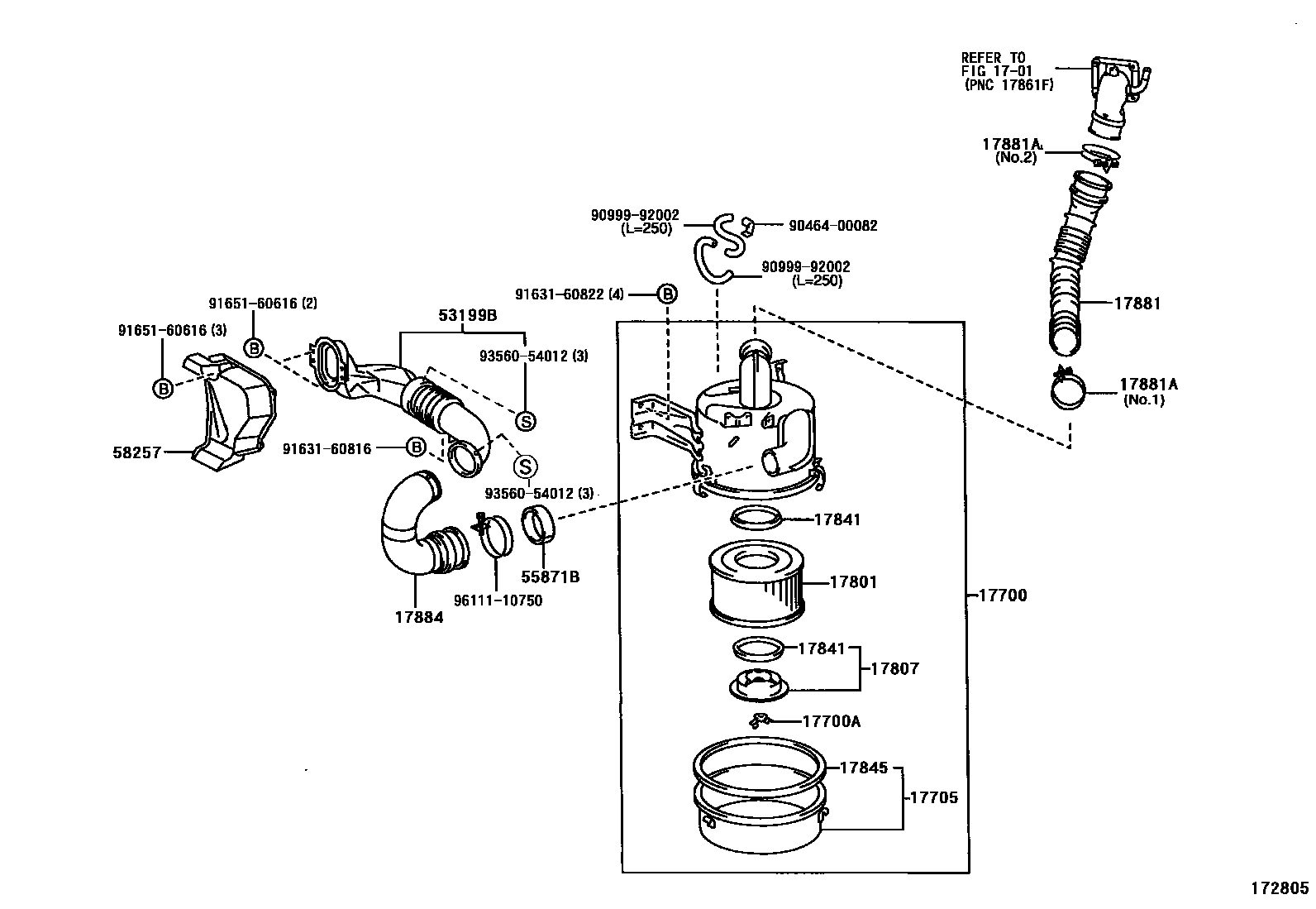
17700ANUT, WING(FOR AIR CLEANER)
17705CAP SUB-ASSY, AIR CLEANER
17801ELEMENT SUB-ASSY, AIR CLEANER FILTER
17807PLATE SUB-ASSY, AIR CLEANER FILTER SET
17841GASKET, FILTER ELEMENT
17845GASKET, AIR CLEANER CAP
17881HOSE, AIR CLEANER, NO.1
17881ACLAMP(FOR AIR CLEANER HOSE, NO.1)
NO.1
NO.1
NO.2
NO.1
NO.2
NO.2
17884HOSE, AIR CLEANER, NO.4
NO.1
NO.2
53199BDUCT SUB-ASSY, COOL AIR INTAKE
55871BSEAL, AIR DUCT
58257PLATE, AIR CLEANER HOUSE
9046400082
9099992002
9163160816
9163160822
9165160616
9356054012
9611110750
21 parts on this diagram · 8 diagrams in section