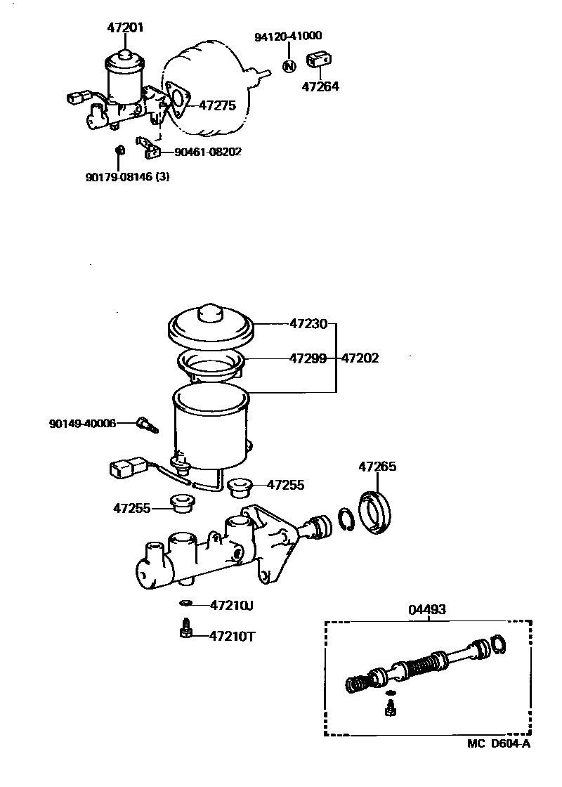
Toyota CAMRY — BRAKE MASTER CYLINDER

04493CYLINDER KIT, BRAKE MASTER
W(ANTI-LOCK BRAKE SYSTEM)
47201CYLINDER SUB-ASSY, BRAKE MASTER
W(ANTI-LOCK BRAKE SYSTEM)
47202RESERVOIR SUB-ASSY, BRAKE MASTER CYLINDER
47210JGASKET(FOR MASTER CYLINDER)
47210TBOLT(FOR BRAKE MASTER CYLINDER)
W(ANTI-LOCK BRAKE SYSTEM)
47230CAP ASSY, BRAKE MASTER CYLINDER RESERVOIR FILLER
47255GROMMET, MASTER CYLINDER RESERVOIR
47264CLEVIS, MASTER CYLINDER PUSH ROD
47265BOOT, MASTER CYLINDER
47275GASKET, BRAKE MASTER CYLINDER
47299STRAINER, BRAKE MASTER CYLINDER RESERVOIR
9014940006
9017908146
9046108202
9412041000
15 parts on this diagram · 1 diagram in section