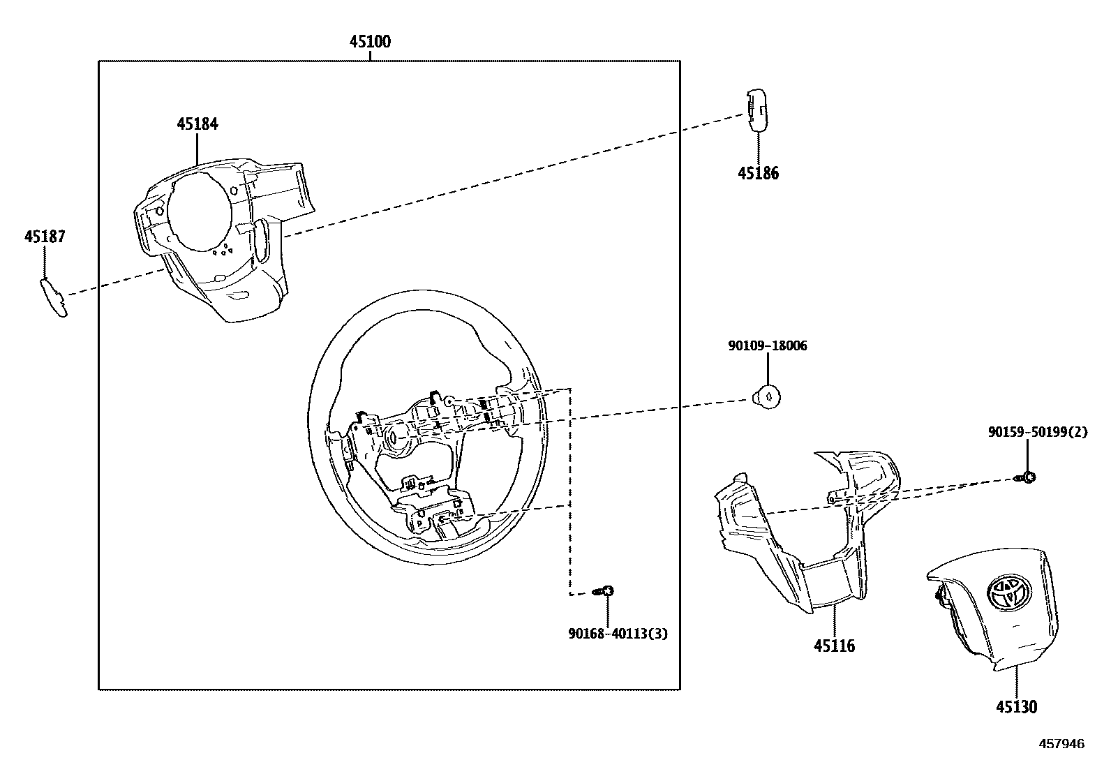
Toyota C+POD — STEERING WHEEL

45100WHEEL ASSY, STEERING
�R�{�X�|�[�N�C�E���^��,BLACK,TRIM1#
45116ORNAMENT, STEERING WHEEL, NO.1
BLACK,TRIM1#
45130BUTTON ASSY, HORN
BLACK,TRIM1#
45184COVER, STEERING WHEEL BOSS, LOWER
BLACK,TRIM1#
45186COVER, STEERING WHEEL, LOWER NO.2
BLACK,TRIM1#
45187COVER, STEERING WHEEL, LOWER NO.3
BLACK,TRIM1#
9010918006
9015950199
9016840113
9 parts on this diagram · 1 diagram in section