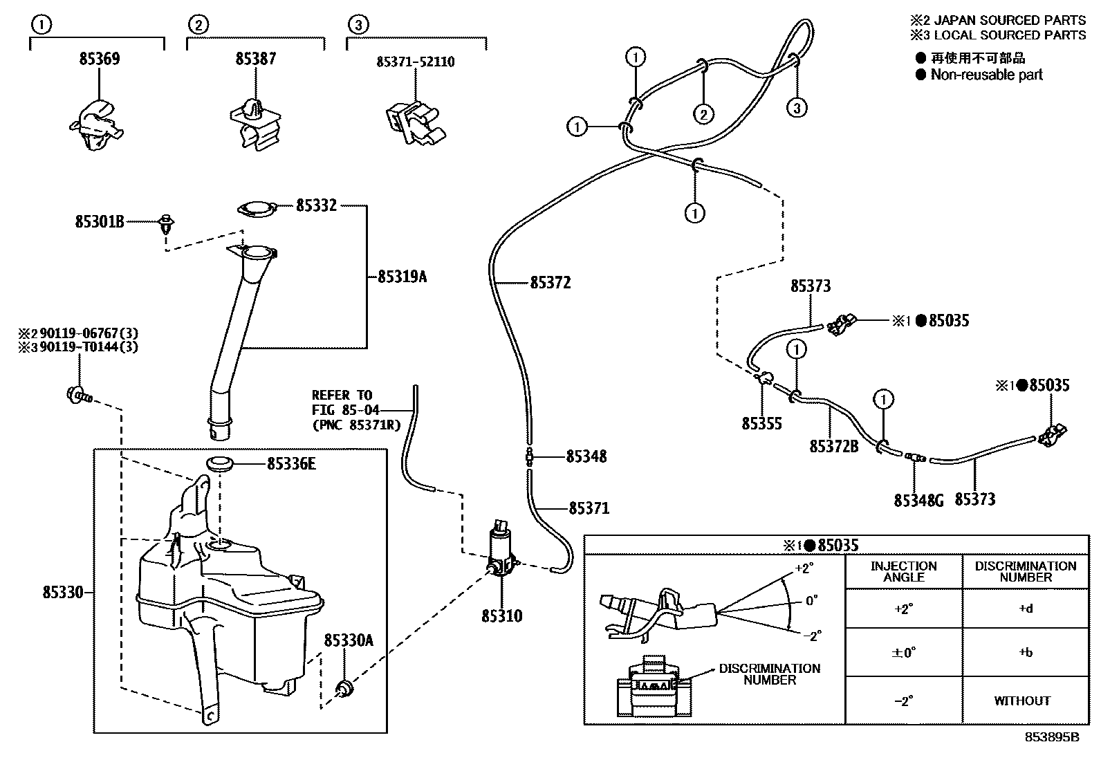
Toyota C-HR (THP) — WINDSHIELD WASHER

85035NOZZLE SUB-ASSY, WASHER
ANGLE 0
ANGLE -2
ANGLE +2
8504
85301BCLIP, WASHER
(J)
(L)
85319AHOSE, INLET
85330JAR ASSY, WINDSHIELD WASHER
85330ABUSH, WINDSHIELD WASHER JAR
85332CAP, WINDSHIELD WASHER JAR
85336EPACKING, WINDSHIELD WASHER INLET HOSE
85348JOINT, WINDSHIELD WASHER HOSE, NO.1
85348GJOINT, WINDSHIELD WASHER HOSE, NO.2
85355VALVE, WINDSHIELD WASHER HOSE
85369CLAMP
85371HOSE, WINDSHIELD WASHER (FROM MOTOR TO JOINT)
L=1450(*H,L=240)
85372HOSE, WINDSHIELD WASHER (FROM JOINT TO JOINT), NO.1
L=2120
85372BHOSE, WINDSHIELD WASHER (FROM JOINT TO JOINT), NO.2
L=370
85373HOSE, WINDSHIELD WASHER (FROM JOINT TO NOZZLE)
L=210
85387CLAMP NO.1 (FOR WINDSEIELD WASHER)
8537152110HOSE, WINDSHIELD WASHER (FROM MOTOR TO JOINT)
9011906767
90119T0144
21 parts on this diagram · 1 diagram in section