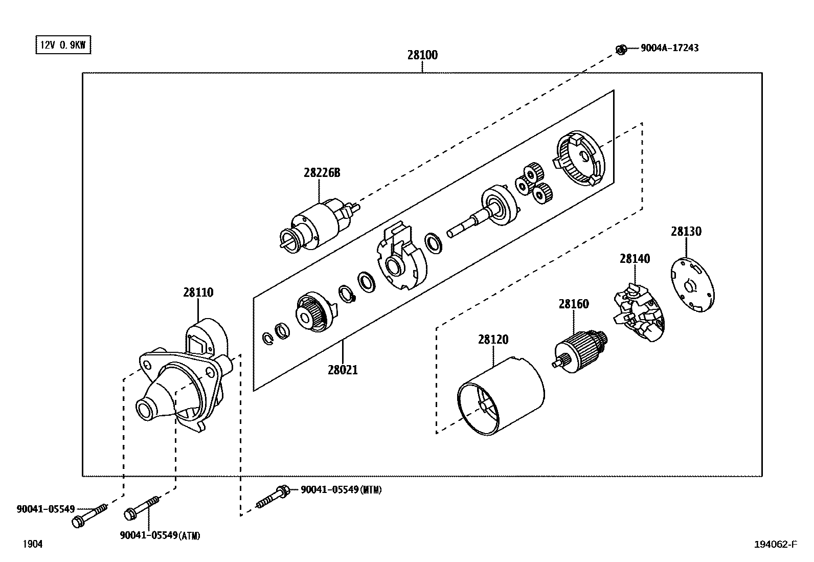
Toyota AGYA/WIGO — STARTER

28021CLUTCH SUB-ASSY, STARTER CENTER BEARING
28100STARTER ASSY
12V 0.9KW
12V 0.9KW
12V 0.9KW
28110HOUSING ASSY, STARTER DRIVE
28120YOKE ASSY, STARTER
28130FRAME ASSY, STARTER COMMUTATOR END
28140HOLDER ASSY, STARTER BRUSH
28160ARMATURE ASSY, STARTER
28226BSTARTER KIT, REPAIR SERVICE
9004105549
9004A17243
main9004A-17243
10 parts on this diagram · 2 diagrams in section