Toyota 86 — ARMREST & VISOR

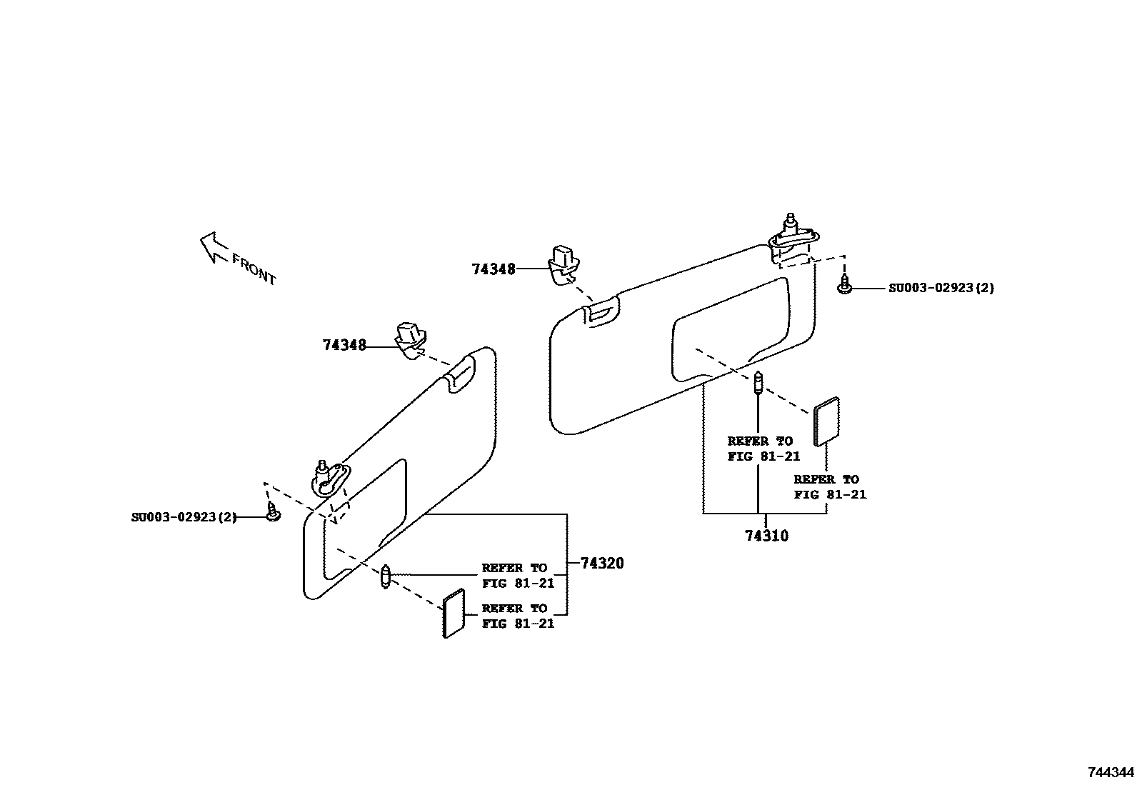
74310VISOR ASSY, RH
BLACK
BLACK
BLACK
BLACK
BLACK
BLACK
BLACK
BLACK
74320VISOR ASSY, LH
BLACK
BLACK
BLACK
BLACK
BLACK
BLACK
BLACK
BLACK
74348HOLDER, VISOR
BLACK
BLACK
BLACK
BLACK
8121
SU00302923
5 parts on this diagram · 2 diagrams in section