Toyota 86 — CYLINDER HEAD

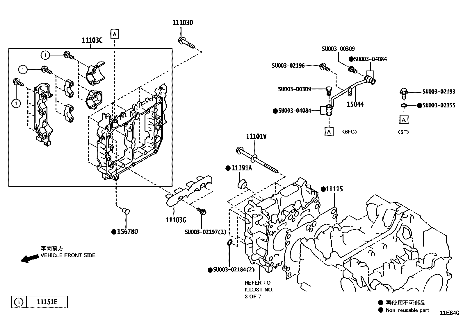
11101HEAD SUB-ASSY, CYLINDER
11101VBOLT(FOR CYLINDER HEAD SET SUB)
11103CHOUSING SUB-ASSY, CAMSHAFT, RH
11103DBOLT(FOR CAMSHAFT HOUSING TO CYLINDER HEAD, RH)
11103GSPACER, OIL, RH
11115GASKET, CYLINDER HEAD
11151EBOLT(FOR CAMSHAFT BEARING CAP TO HOUSING RH, NO.1)
11191AGASKET(FOR SPARK PLUG TUBE)
15044PIPE SUB-ASSY, CAMSHAFT OIL FEED
15678DFILTER, OIL CONTROL VALVE, RH
SU00300309
SU00302155
SU00302184
SU00302193
SU00302196
SU00302197
SU00304084
17 parts on this diagram · 7 diagrams in section