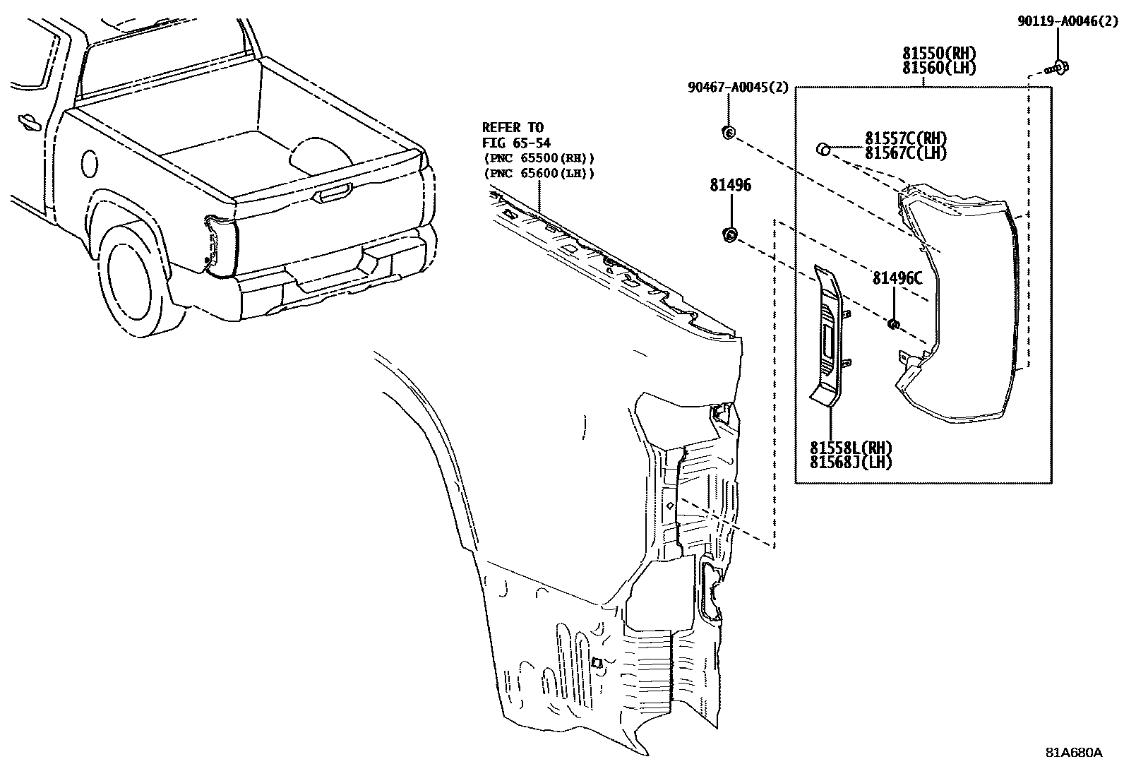
REAR COMBINATION LAMP

6554
81496GUIDE, REAR COMBINATION LAMP
81496CGUIDE, REAR COMBINATION LAMP, NO.2
main81496-0C030iVXKA70,75..DCB..S;VXKA71,72,77,VXKH71..L,S;VXKA70,75,76,VXKH70,75,76..CMAX202111-202408
(L)
(J)
81550LAMP ASSY, REAR COMBINATION, RH
HEADLAMP-3 LOW BEAM & 1 HIGH BEAM
81557CCOVER, REAR COMBINATION LAMP, RH
81558LPROTECTOR, REAR COMBINATION LAMP, RH
main81558-0C130iVXKA70,75..DCB..S;VXKA71,72,77,VXKH71..L,S;VXKA70,75,76,VXKH70,75,76..CMAX202111-202408
81560LAMP ASSY, REAR COMBINATION, LH
HEADLAMP-3 LOW BEAM & 1 HIGH BEAM
81567CCOVER, REAR COMBINATION LAMP, LH
81568JPROTECTOR, REAR COMBINATION LAMP, LH
90119A0046
main90119-A0046
90467A0045
main90467-A0045
11 parts on this diagram · 3 diagrams in section