E
EPC Data
Pricing
API Docs
Sign In
Home
›
US
›
792470
›
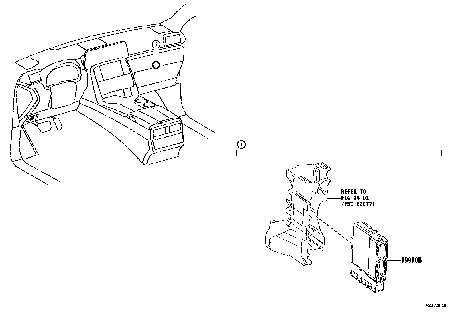
HEV CONTROL COMPUTER
HEV CONTROL COMPUTER
8401
89980B
COMPUTER ASSY, HYBRID VEHICLE CONTROL
main
89980-60090
i
VJH310
202411
2 parts on this diagram · 1 diagram in section
HEV CONTROL COMPUTER — Toyota Parts Diagram with OEM Numbers & Prices | EPC Data