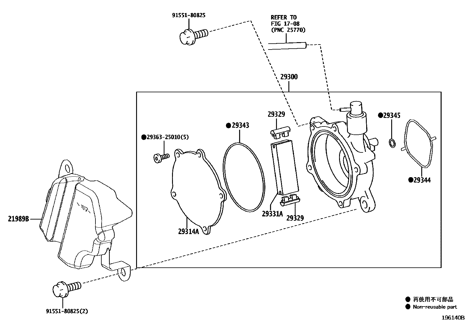
VACUUM PUMP

1708
21989BINSULATOR, PLATE
29300PUMP ASSY, VACUUM
29314ACOVER, END
29329CAP, VACUUM PUMP VANE
29331AVANE, VACUUM PUMP
29343RING, O VACUUM PUMP, NO.1
29344RING, O VACUUM PUMP, NO.2
29345RING, O VACUUM PUMP, NO.3
2936325010SCREW, HOLLOW VACUUM PUMP
main29363-25010
9155180825
main91551-80825
11 parts on this diagram · 1 diagram in section