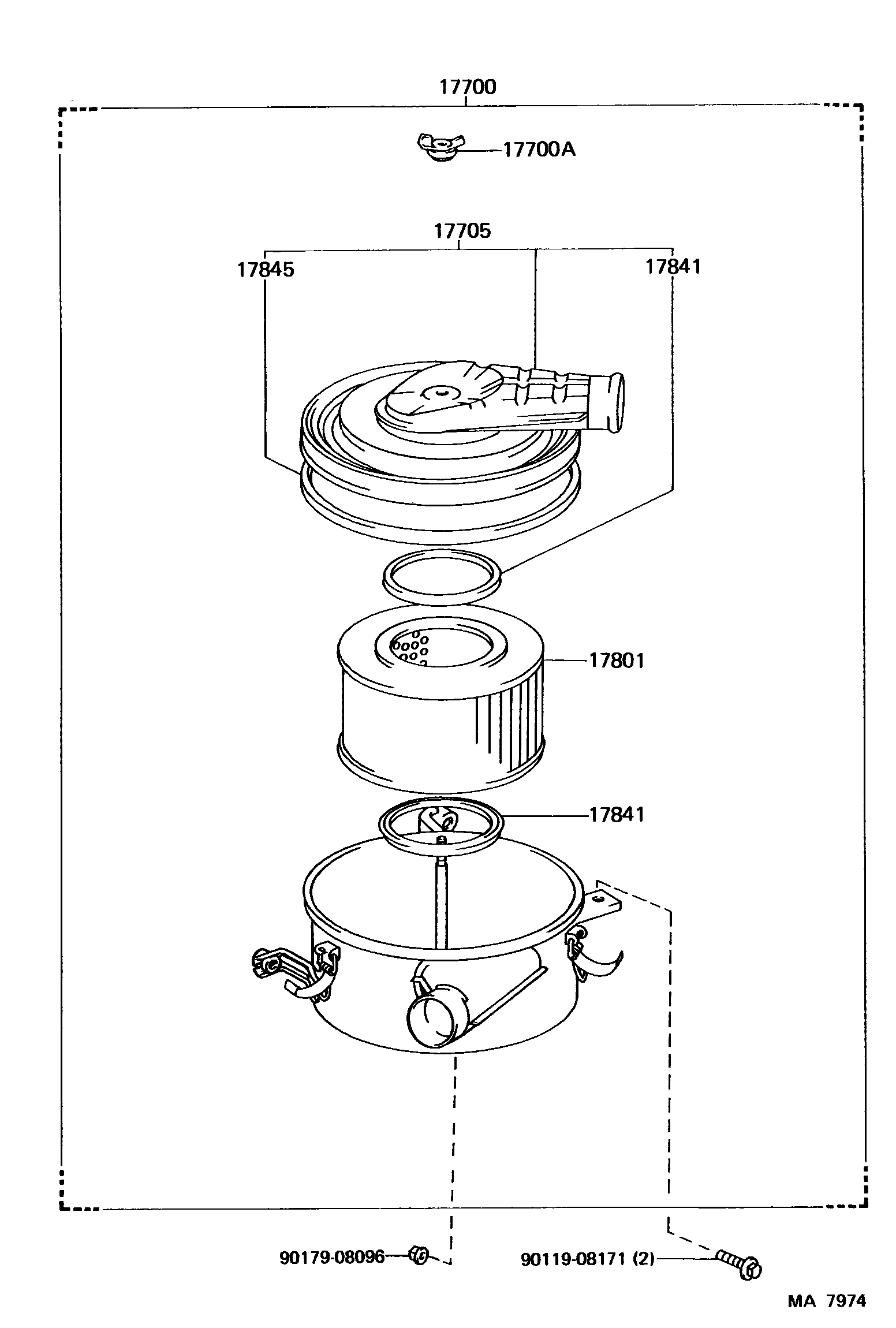
AIR CLEANER

17700CLEANER ASSY, AIR
17700ANUT, WING(FOR AIR CLEANER)
17705CAP SUB-ASSY, AIR CLEANER
17801ELEMENT SUB-ASSY, AIR CLEANER FILTER
17841GASKET, FILTER ELEMENT
17845GASKET, AIR CLEANER CAP
9011908171
main90119-08171
9017908096
main90179-08096
8 parts on this diagram · 2 diagrams in section