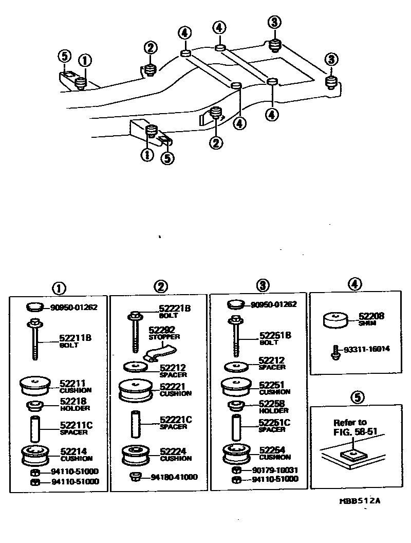
CAB MOUNTING & BODY MOUNTING

52208SHIM SUB-ASSY, BODY MOUNTING
52211CUSHION, BODY MOUNTING, NO.1 UPPER
H=26.7
H=21.7,ADJUSTER
52211BBOLT(FOR BODY MOUNTING NO.1 CUSHION)
52211CSPACER(FOR BODY MOUNTING NO.1 CUSHION)
L=48.1
L=43.1,ADJUSTER
52212SPACER, BODY MOUNTING
T=5.0,ADJUSTER
52214CUSHION, BODY MOUNT, NO.1 LOWER
52218HOLDER, BODY MOUNT BOLT SPACER, NO.1
52221CUSHION, BODY MOUNT, NO.2 UPPER
52221BBOLT(FOR BODY MOUNT NO.2 CUSHION)
52221CSPACER(FOR BODY MOUNT NO.2 CUSHION)
52224CUSHION, BODY MOUNT, NO.2 LOWER
52251CUSHION, BODY MOUNT, NO.5 UPPER
52251BBOLT(FOR BODY MOUNT NO.5 CUSHION)
52251CSPACER(FOR BODY MOUNT NO.5 CUSHION)
52254CUSHION, BODY MOUNT, NO.5 LOWER
52258HOLDER, BODY MOUNT BOLT SPACER, NO.5
52292STOPPER, CENTER BODY MOUNTING BOLT
RH
LH
5851
9017910031
main90179-10031
9095001262
main90950-01262
9331116014
main93311-16014
9411051000
main94110-51000
9418041000
main94180-41000
23 parts on this diagram · 1 diagram in section