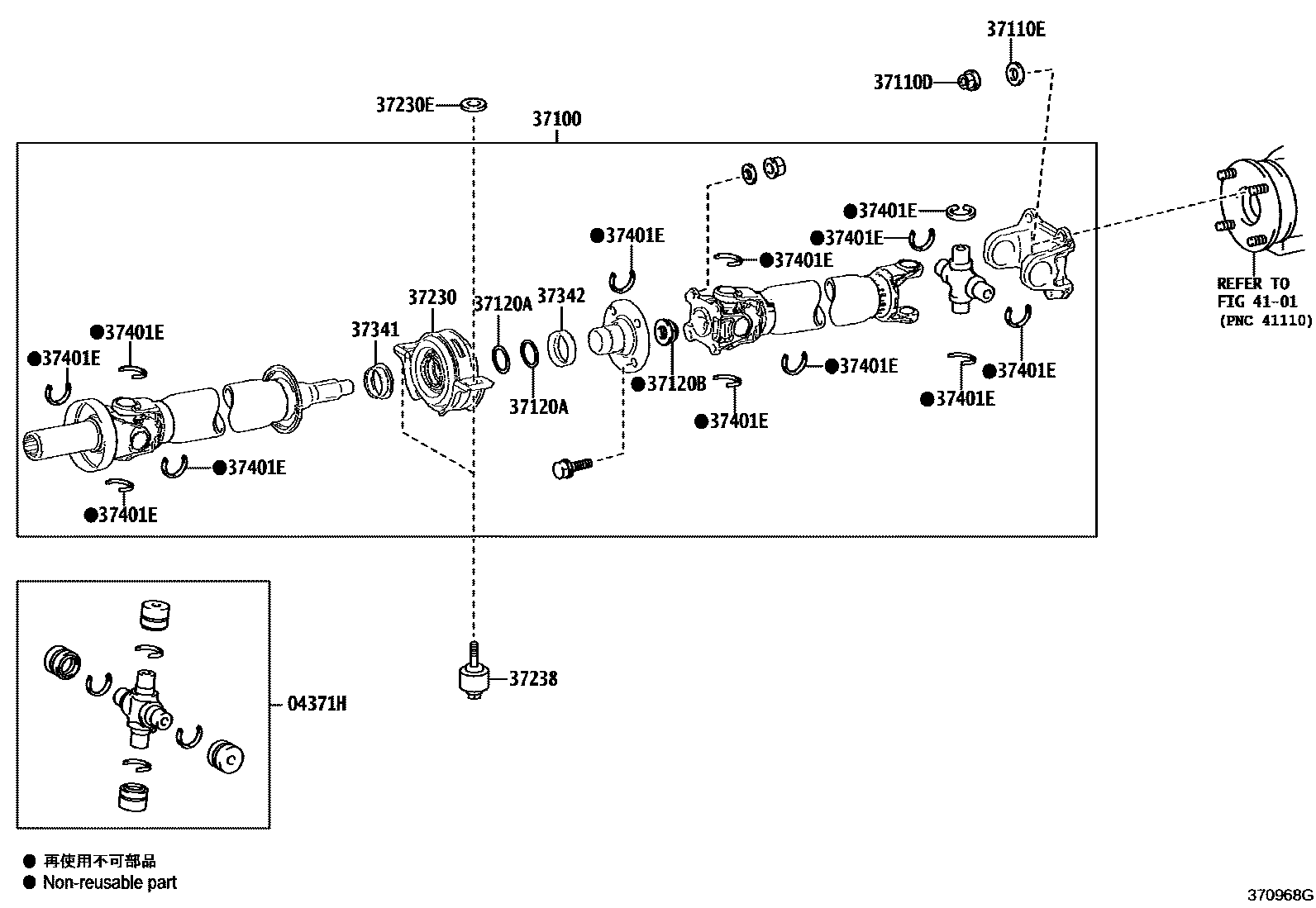
PROPELLER SHAFT & UNIVERSAL JOINT

04371HSPIDER KIT, REAR PROPELLER SHAFT UNIVERSAL JOINT
main04371-26010iGDH322..D,N;GDH322..ARL,GCC,NZ;GDH320,321,328,GRH32#;GDH322..LHD..(P,Q)..GEN201902-202104
sub04371-26011
main04371-26011iGDH322..D,N,Q;GDH322..LHD..P..GEN;GDH322..P..(ARL,GCC);GDH320,321,328,GRH32#202104-202202
main04371-26012iGDH321..RHD;GDH320,328,GRH32#;GDH322..LHD..GSOB;GDH322..RHD..GSOB..N;GDH322..RHD..GSOB..6F;GDH322..SG..(AGT,ARL,GCC,GEN,TH)202202-202505
37100SHAFT ASSY, PROPELLER W/CENTER BEARING
sub37100-26611
sub37100-26621
sub37100-26631
main37100-26631iGDH301,303,304..6FC;GDH300..4D..SP..ARL;GDH300..4D..PSOB..6FC;GDH300..LHD..SP..6FC..GEN;GDH300,306..5D..6FC..(D,J)202202-202505
sub37100-26641
sub37100-26651
sub37100-26661
sub37100-26671
sub37100-26681
37110DNUT (FOR PROPELLER SHAFT)
37110EWASHER (FOR PROPELLER SHAFT)
37120AWASHER, PLATE (FOR PROPELLER INTERMEDIATE SHAFT SET)
T=0.8
37120BNUT (FOR PROPELLER INTERMEDIATE SHAFT SETTING)
37230BEARING ASSY, CENTER SUPPORT, NO.1
37230EWASHER, NO.1 (FOR CENTER SUPPORT BEARING)
37238DAMPER, CENTER SUPPORT BEARING
37341DEFLECTOR, PROPELLER SHAFT DUST, NO.1
main37341-26010iGDH321..RHD;GDH320,328,GRH32#;GDH322..LHD..GSOB;GDH322..ARL,GCC,NZ;GDH322..RHD..GSOB..N;GDH322..RHD..GSOB..6F;GDH322..LHD..SG..(P,Q)..GEN;GDH322..SG..(D,N)..(AGT,GE201902-202505
37342DEFLECTOR, PROPELLER SHAFT DUST, NO.2
37401ERING, SNAP (FOR REAR PROPELLER SHAFT JOINT SPIDER BEARING)
T=2.00,NO MARK
main90520-29025iGDH300..5D;GDH306,321..RHD;GDH301..GSOB..6FC;GDH322..LHD..GSOB;GDH322..ARL,GCC,NZ;GDH322..RHD..GSOB..N;GDH301..LHD..GSOB..6F;GDH300..4D..SP..(ARL,TH);GDH322..LHD..S201902-202505
T=2.03,BROWN
T=2.06,BLUE
T=2.09,NO MARK
T=1.99,MARK 1
T=2.01,MARK 2
T=2.03,MARK 3
T=2.05,MARK 4
T=2.07,MARK 5
T=2.09,MARK 6
T=2.11,MARK 7
T=2.13,MARK 8
T=2.15,MARK 9
T=2.17,MARK 10
4101
13 parts on this diagram · 4 diagrams in section