E
EPC Data
Pricing
API Docs
Sign In
Home
›
US
›
675460
›
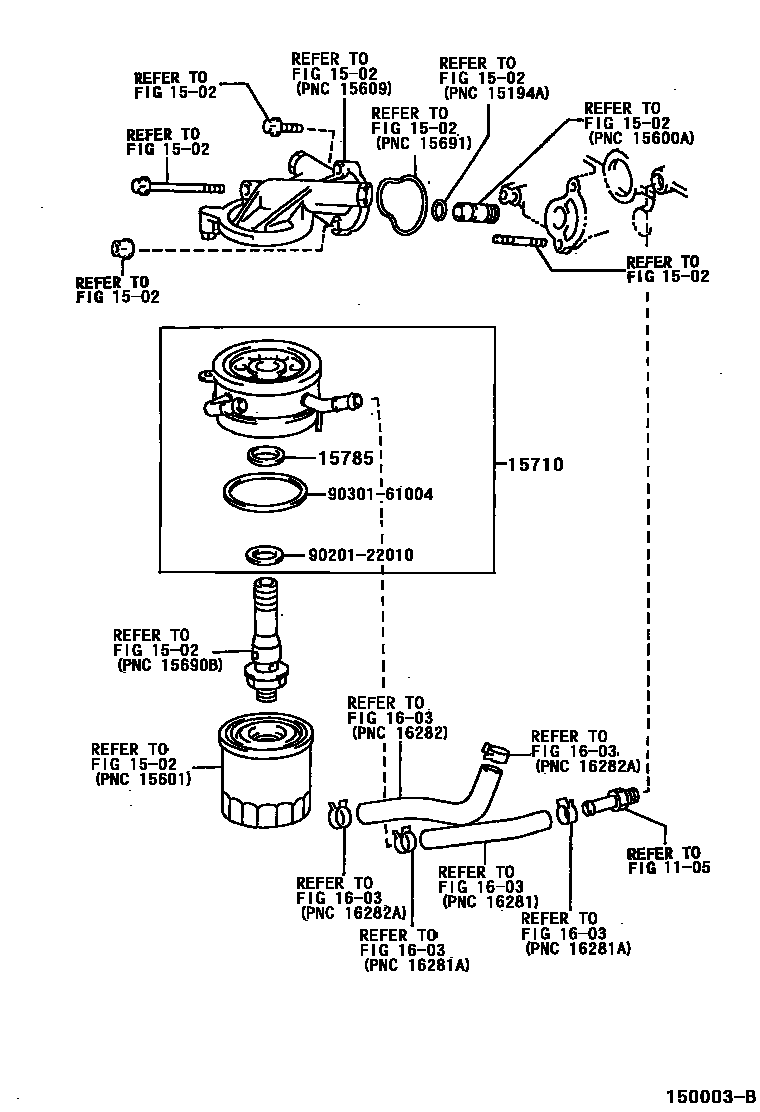
ENGINE OIL COOLER
ENGINE OIL COOLER
0001 1
0002 1
1105
1502
15710
COOLER ASSY, OIL
main
15700-62041
i
5VZFE..VZN150..R
¥62,800
199501-199511
main
15710-75011
i
3RZFE..RZN19#
¥53,800
200109-200409
15785
GASKET, OIL COOLER
main
15785-35010
i
3RZFE..RZN19#
¥1,020
200109-200409
1603
9020122010
main
90201-22010
¥160
9030161004
main
90301-61004
7 parts on this diagram · 2 diagrams in section
ENGINE OIL COOLER — Toyota Parts Diagram with OEM Numbers & Prices | EPC Data