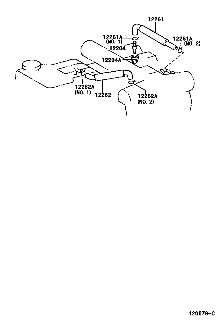
VENTILATION HOSE

12204VALVE SUB-ASSY, VENTILATION
CALIFORNIA(LEV) SPEC
12204AGROMMET(FOR VENTILATION SYSTEM)
12261ACLIP OR CLAMP(FOR VENTILATION HOSE)
NO.1
CALIFORNIA(LEV) SPEC,NO.1
CALIFORNIA(LEV) SPEC,NO.2
NO.2
NO.2
12262HOSE, VENTILATION, NO.2
CALIFORNIA(LEV) SPEC
12262ACLIP(FOR VENTILATION HOSE NO.2)
CALIFORNIA(LEV) SPEC
CALIFORNIA(LEV) SPEC
6 parts on this diagram · 2 diagrams in section