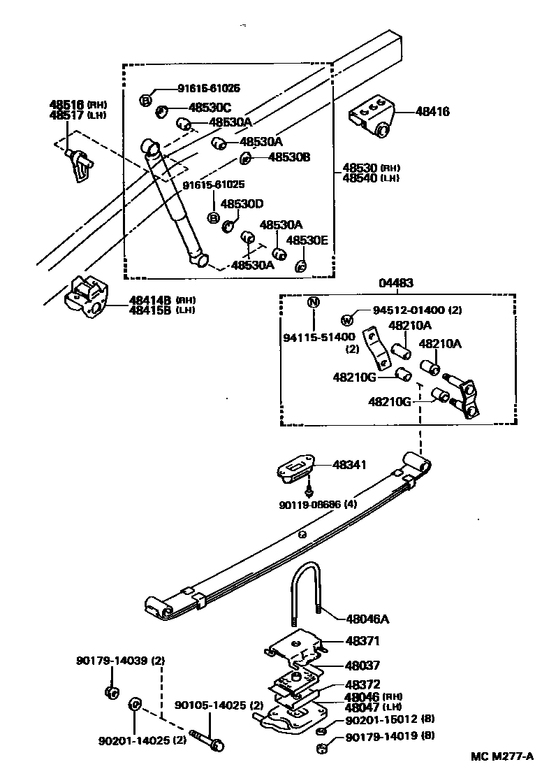
REAR SPRING & SHOCK ABSORBER

04483SHACKLE KIT, REAR SPRING
48037SPACER SUB-ASSY, REAR SPRING
48046SEAT SUB-ASSY, SPRING U BOLT, RH
48046ABOLT, U(FOR REAR SPRING)
L=155
48047SEAT SUB-ASSY, SPRING U BOLT, LH
48210SPRING ASSY, REAR RH
3-LEAF,(L)
3-LEAF,(J)
48210ABUSH(FOR REAR SPRING SHACKLE UPPER)
48210GBUSH(FOR REAR SPRING SHACKLE LOWER)
48371RETAINER, REAR SPRING PAD
48372PAD, REAR SPRING
48414BBRACKET, SPRING, NO.3 RH
48415BBRACKET, SPRING, NO.3 LH
48416BRACKET, SPRING, NO.4
48516BRACKET, REAR SHOCK ABSORBER, UPPER RH
48517BRACKET, REAR SHOCK ABSORBER, UPPER LH
48530ABUSH(FOR REAR SHOCK ABSORBER)
48530BWASHER, REAR SHOCK ABSORBER CUSHION, NO.1
48530CWASHER, REAR SHOCK ABSORBER CUSHION, NO.2
48530DWASHER, REAR SHOCK ABSORBER CUSHION, NO.3
48530EWASHER, REAR SHOCK ABSORBER CUSHION, NO.4
9010514025
main90105-14025
9011908686
main90119-08686
9017914019
main90179-14019
9017914039
main90179-14039
9020114025
main90201-14025
9020115012
main90201-15012
9161561025
main91615-61025
9411551400
main94115-51400
9451201400
main94512-01400
32 parts on this diagram · 2 diagrams in section