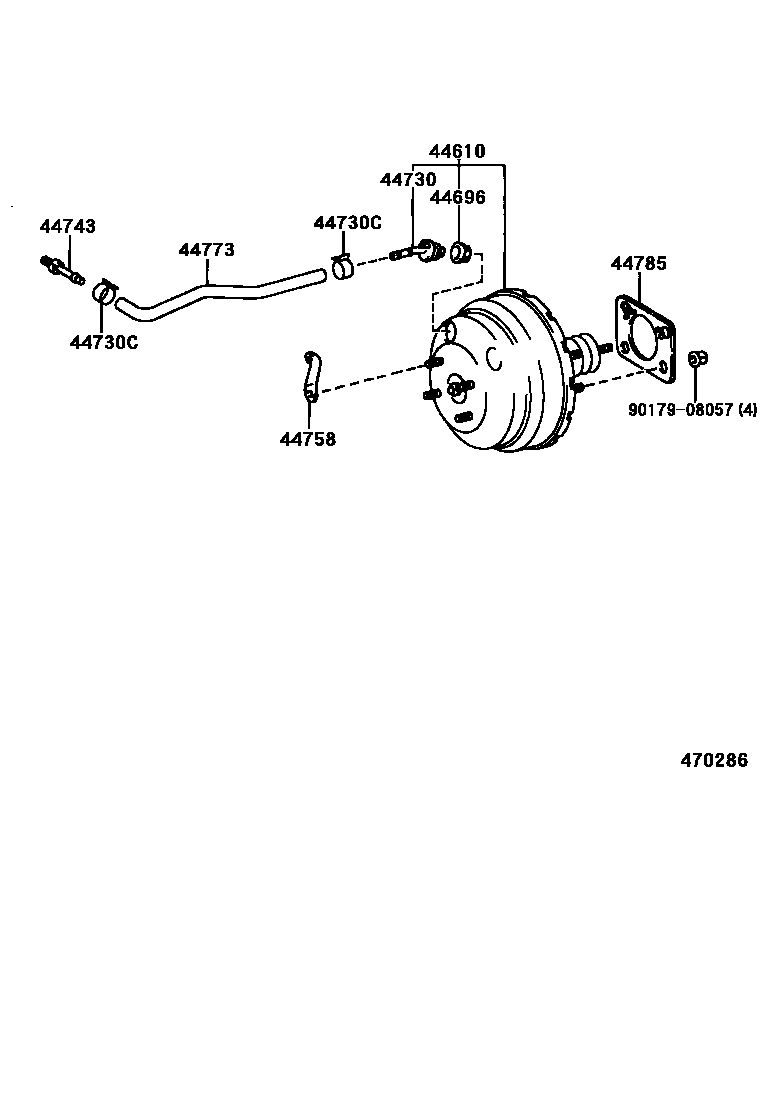
BRAKE BOOSTER & VACUUM TUBE

44610BOOSTER ASSY, BRAKE
44696GROMMET, CHECK VALVE
sub90480-24015
44730VALVE ASSY, VACUUM CHECK(FOR BRAKE)
44730CCLIP(FOR VACUUM HOSE)
sub96134-51500
44758BRACKET, VACUUM CHECK VALVE
44785GASKET, BRAKE BOOSTER
9017908057
main90179-08057
9 parts on this diagram · 3 diagrams in section