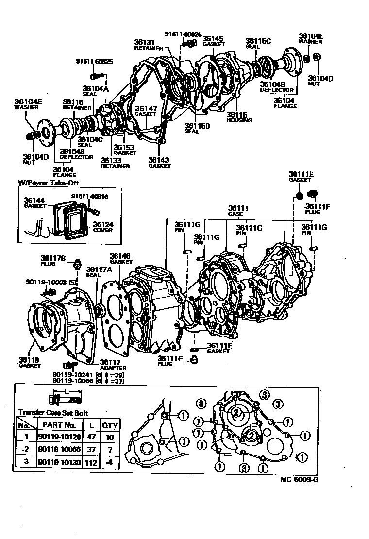
TRANSFER CASE & EXTENSION HOUSING

36104FLANGE, COMPANION (FOR TRANSFER OUTPUT SHAFT)
RR DRIVE
RR DRIVE
FR DRIVE
FR DRIVE
36104ASEAL, TYPE T, OIL (FOR TRANSFER OUTPUT SHAFT)
36104BDEFLECTOR, DUST (FOR TRANSFER OUTPUT SHAFT)
36104CSEAL, DUST (FOR TRANSFER OUTPUT SHAFT)
36104DNUT (FOR TRANSFER OUTPUT SHAFT)
36104EWASHER, PLATE (FOR TRANSFER OUTPUT SHAFT)
36111CASE, TRANSFER
sub36103-35013
36111FPLUG (FOR TRANSFER CASE)
FILLER PLUG
FILLER PLUG
DRAIN PLUG
36111GPIN, STRAIGHT (FOR TRANSFER CASE)
L=22,OD=10
L=15,OD=8
36115HOUSING, TRANSFER EXTENSION
36115BSEAL, TYPE V OIL (FOR TRANSFER EXTENSION HOUSING)
36115CSEAL, TYPE T OIL (FOR TRANSFER EXTENSION HOUSING)
36116RETAINER, TRANSFER EXTENSION HOUSING DUST SEAL
36117BPLUG, BREATHER(FOR TRANSFER ADAPTER)
36118GASKET, TRANSFER ADAPTER
36124COVER, TRANSFER POWER TAKE-OFF
36131RETAINER, TRANSFER OUTPUT SHAFT FRONT BEARING
36133RETAINER, TRANSFER FRONT DRIVE GEAR BEARING
36143GASKET, TRANSFER CASE, FRONT
36144GASKET, TRANSFER POWER TAKE-OFF COVER
36145GASKET, TRANSFER EXTENSION HOUSING
36146GASKET, TRANSFER REDUCTION CASE
36147GASKET, TRANSFER CASE
36153GASKET, FRONT DRIVE GEAR BEARING RETAINER
9011910003
main90119-10003
9011910066
main90119-10066
9011910128
main90119-10128
9011910130
main90119-10130
9011910241
main90119-10241
9161140816
main91611-40816
9161160825
main91611-60825
34 parts on this diagram · 2 diagrams in section