E
EPC Data
Pricing
API Docs
Sign In
Home
›
US
›
671430
›
FUEL PIPE & CLAMP
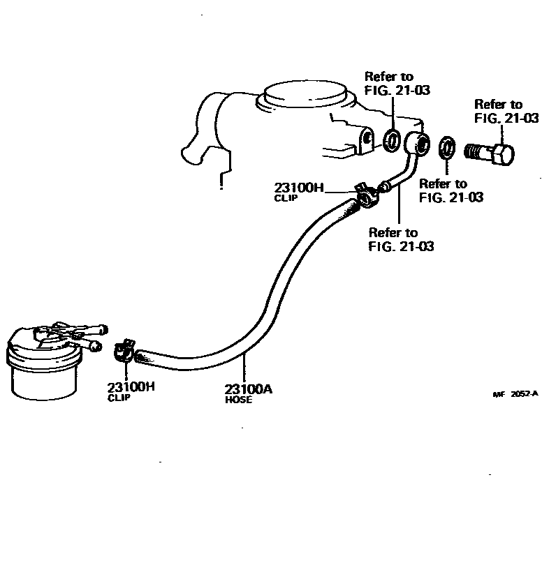
FUEL PIPE & CLAMP
0001 1
0002 1
0003 1
2103
23100A
HOSE, FUEL
main
90447-12011
i
20R..RN3#,4#
197908-198008
L=550
main
90447-12023
i
22R..RN3#,4#
198008-198208
L=280
main
90447-12034
i
20R..RN3#,4#
197904-197908
*H,L=320
sub
90447-12069
main
90447-12037
i
22R..RN3#,4#
198208-198307
main
95332-06032
i
20R..RN3#,4#
197808-197904
L=320
sub
95332-06040
23100H
CLIP(FOR FUEL HOSE)
main
96132-30600
i
20R,22R..RN3#,4#
197808-198307
sub
96132-51100
3 parts on this diagram · 3 diagrams in section
FUEL PIPE & CLAMP — Toyota Parts Diagram with OEM Numbers & Prices | EPC Data