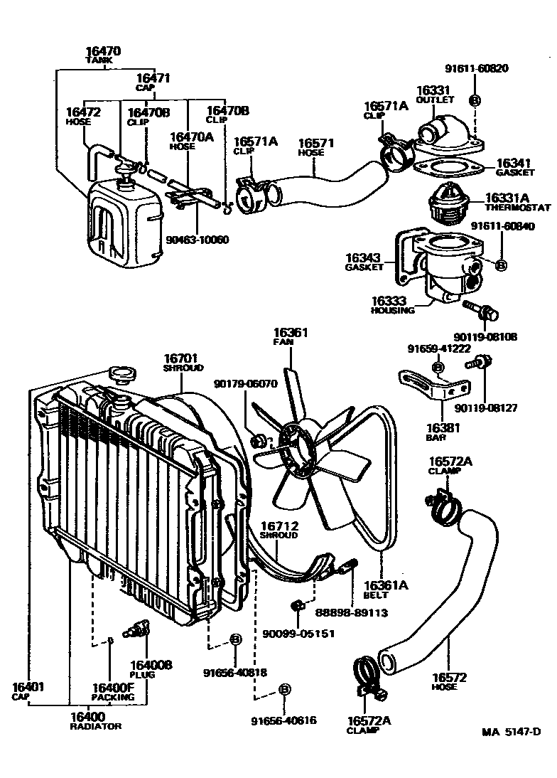
RADIATOR & WATER OUTLET

16331ATHERMOSTAT
*WAX 82-95,FUJI-THOMSON
*CAL,*WAX 82-95,FUJI-THOMSON
16333HOUSING, WATER OUTLET
16343GASKET, WATER OUTLET HOUSING
sub16343-54021
16361FAN
7 BLADES
7 BLADES,OD=380
16361ABELT, V(FOR FAN & ALTERNATOR)
L=990
L=880
L=880
L=985
L=1000
16381BAR, FAN BELT ADJUSTING
16400BPLUG, RADIATOR DRAIN COCK
16401CAP SUB-ASSY, RADIATOR
16470TANK ASSY, RADIATOR RESERVE
sub16470-89104
16470AHOSE OR PIPE(FOR RADIATOR RESERVE TANK)
sub90099-33370
16470BCLAMP OR CLIP(FOR RADIATOR RESERVE TANK HOSE)
16471CAP SUB-ASSY, RESERVE TANK
16472HOSE, BREATHER
COLD SPEC
16572HOSE, RADIATOR, OUTLET
RADIATOR SIDE
ENGINE SIDE
16572ACLAMP OR CLIP, HOSE(FOR RADIATOR OUTLET NO.1)
RADIATOR SIDE
RADIATOR SIDE
PUMP SIDE
PUMP SIDE
16701SHROUD SUB-ASSY, FAN
16712SHROUD, FAN, NO.2
W/COOLER
W/COOLER
W/COOLER
8889889113TUBE SUB-ASSY, EQUALIZER
main88898-89113
9009905151
main90099-05151
9011908108
main90119-08108
9011908127
main90119-08127
9017906070
main90179-06070
9046310060
main90463-10060
9161160820
main91611-60820
9161160840
main91611-60840
9165640616
main91656-40616
9165640818
main91656-40818
9165941222
main91659-41222
34 parts on this diagram · 7 diagrams in section