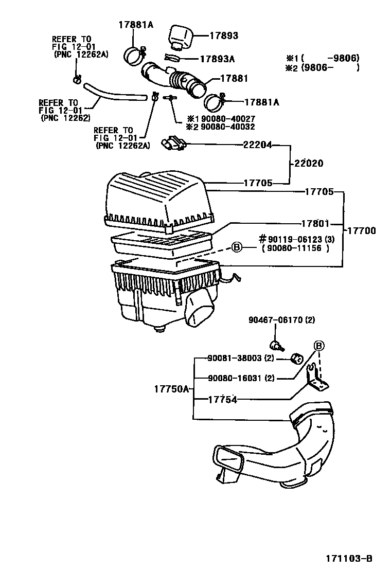
AIR CLEANER

1201
17705CAP SUB-ASSY, AIR CLEANER
17750AINLET ASSY, AIR CLEANER
17754STAY, AIR CLEANER INLET
17801ELEMENT SUB-ASSY, AIR CLEANER FILTER
17881HOSE, AIR CLEANER, NO.1
17881ACLAMP(FOR AIR CLEANER HOSE, NO.1)
17893RESONATOR, INTAKE AIR
sub17893-20010
17893ACLAMP, HOSE
sub90467-38003
22020METER ASSY, AIR FLOW W/AIR CLEANER
9008011156
main90080-11156
9008016031
main90080-16031
9008040027
main90080-40027
9008040032
main90080-40032
9008138003
main90081-38003
9011906123
main90119-06123
9046706170
main90467-06170
19 parts on this diagram · 2 diagrams in section