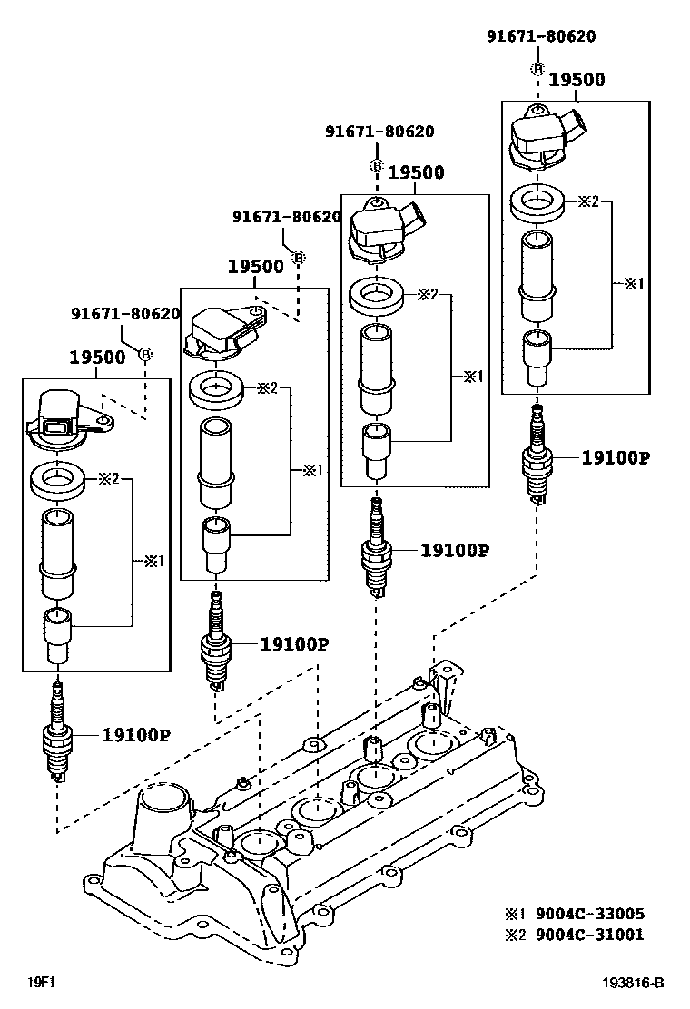
IGNITION COIL & SPARK PLUG / GLOW PLUG

19100PPLUG, SPARK
main9004A-91068i2NRVE..F654..4AT..STD..TH;1NRVE..F653..(LO,STD,VB)..(GEN,IDN,PHL,SA);2NRVE..F654..(SPO,STD)..(GCC,GEN,MA,PHL,SA);1NRVE,2NRVE..F65#..MID..(GCC,GEN,MXC,PHL,SA,TH)201507-202110
SC16HR11
19500COIL ASSY, IGNITION
sub19070-BZ031
sub19070-BZ030
main9004A-19002i2NRVE..F654..4AT..STD..TH;1NRVE..F653..(LO,STD,VB)..(GEN,IDN,PHL,SA);2NRVE..F654..(SPO,STD)..(GCC,GEN,MA,PHL,SA);1NRVE,2NRVE..F65#..MID..(GCC,GEN,MXC,PHL,SA,TH)201507-202110
9004C31001
main9004C-31001
9004C33005
main9004C-33005
9167180620
main91671-80620
5 parts on this diagram · 3 diagrams in section