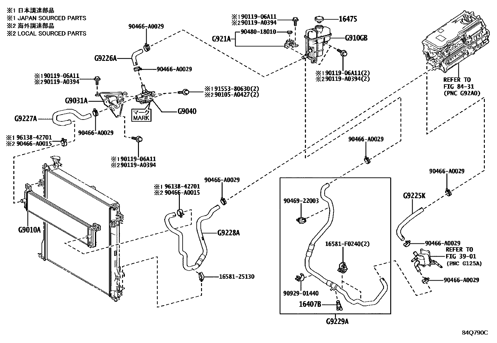
INVERTER COOLING

16407BCOCK SUB-ASSY, RADIATOR DRAIN
16475CAP, RESERVE TANK
3901
8431
G9010ARADIATOR ASSY
G9031ABRACKET SUB-ASSY, HV WATER PUMP
G9040INVERTER WATER PUMP ASSY(W/MOTOR)
(L),MARK G9040-04020
(J)
G910GBTANK SUB-ASSY, INVERTER RESERVE W/O CAP
G921ABRACKET, INVERTER RESERVE TANK, NO.1
G9225KHOSE, INVERTER COOLING, NO.1
1658125130CLAMP, HOSE(FOR WATER HOSE)
main16581-25130
16581F0240CLAMP, HOSE(FOR WATER HOSE)
main16581-F0240
90105A0427
main90105-A0427
9011906A11
main90119-06A11
90119A0394
main90119-A0394
90466A0015
main90466-A0015
90466A0029
main90466-A0029
9046922003
main90469-22003
9048018010
main90480-18010
9092901440
main90929-01440
9155380630
main91553-80630
9613842701
main96138-42701
26 parts on this diagram · 2 diagrams in section