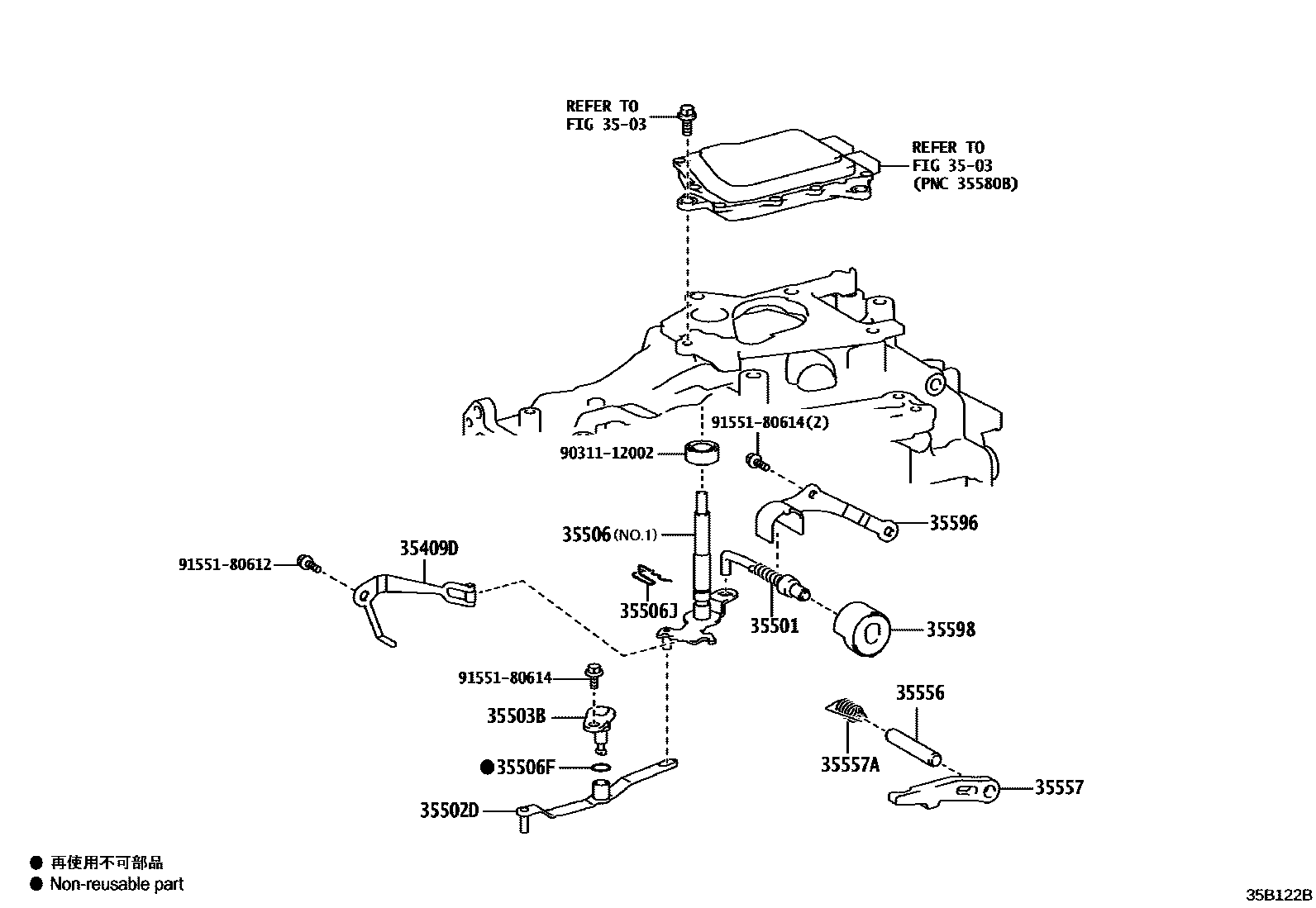
THROTTLE LINK & VALVE LEVER (ATM)

3503
35409DSPRING SUB-ASSY, MANUAL DETENT
35501ROD SUB-ASSY, PARKING LOCK
35502DLEVER SUB-ASSY, MANUAL VALVE LINK
35503BSHAFT SUB-ASSY, MANUAL VALVE LINK
35506SHAFT SUB-ASSY, MANUAL VALVE LEVER
35506FSEAL, OIL (FOR MANUAL VALVE LEVER SHAFT)
35506JSPRING, RETAINER (FOR MANUAL VALVE LEVER SHAFT)
35556SHAFT, PARKING LOCK PAWL
35557ASPRING, TORSION (FOR PARKING LOCK PAWL)
35598SLEEVE, PARKING LOCK
9031112002
9155180612
9155180614
16 parts on this diagram · 1 diagram in section