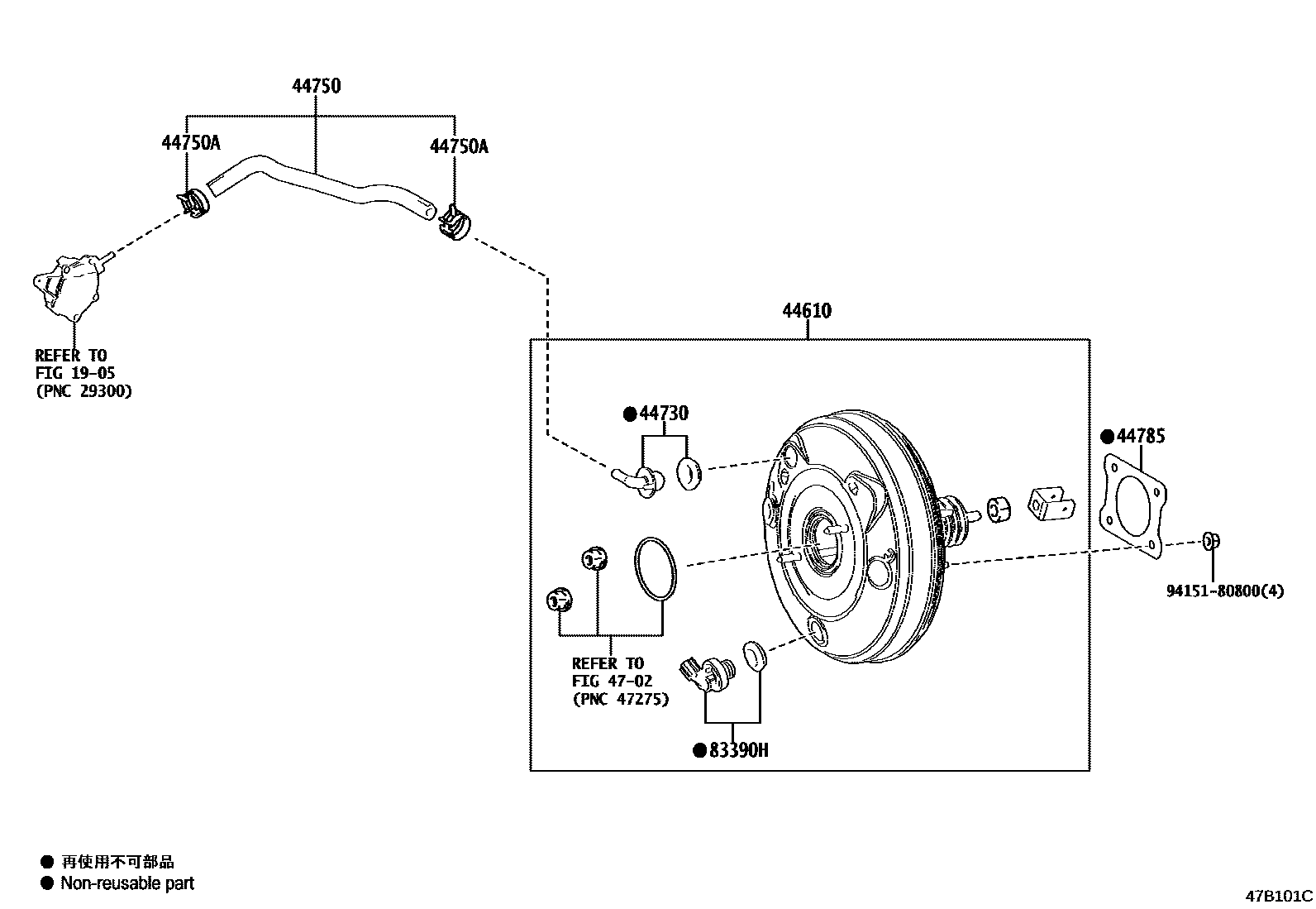
BRAKE BOOSTER & VACUUM TUBE

1905
44730VALVE ASSY, VACUUM CHECK(FOR BRAKE)
44750HOSE ASSY, VACUUM
44750ACLIP(FOR VACUUM HOSE ASSY)
44785GASKET, BRAKE BOOSTER
4702
83390HSWITCH ASSY, VACUUM WARNING
9415180800
main94151-80800
9 parts on this diagram · 2 diagrams in section