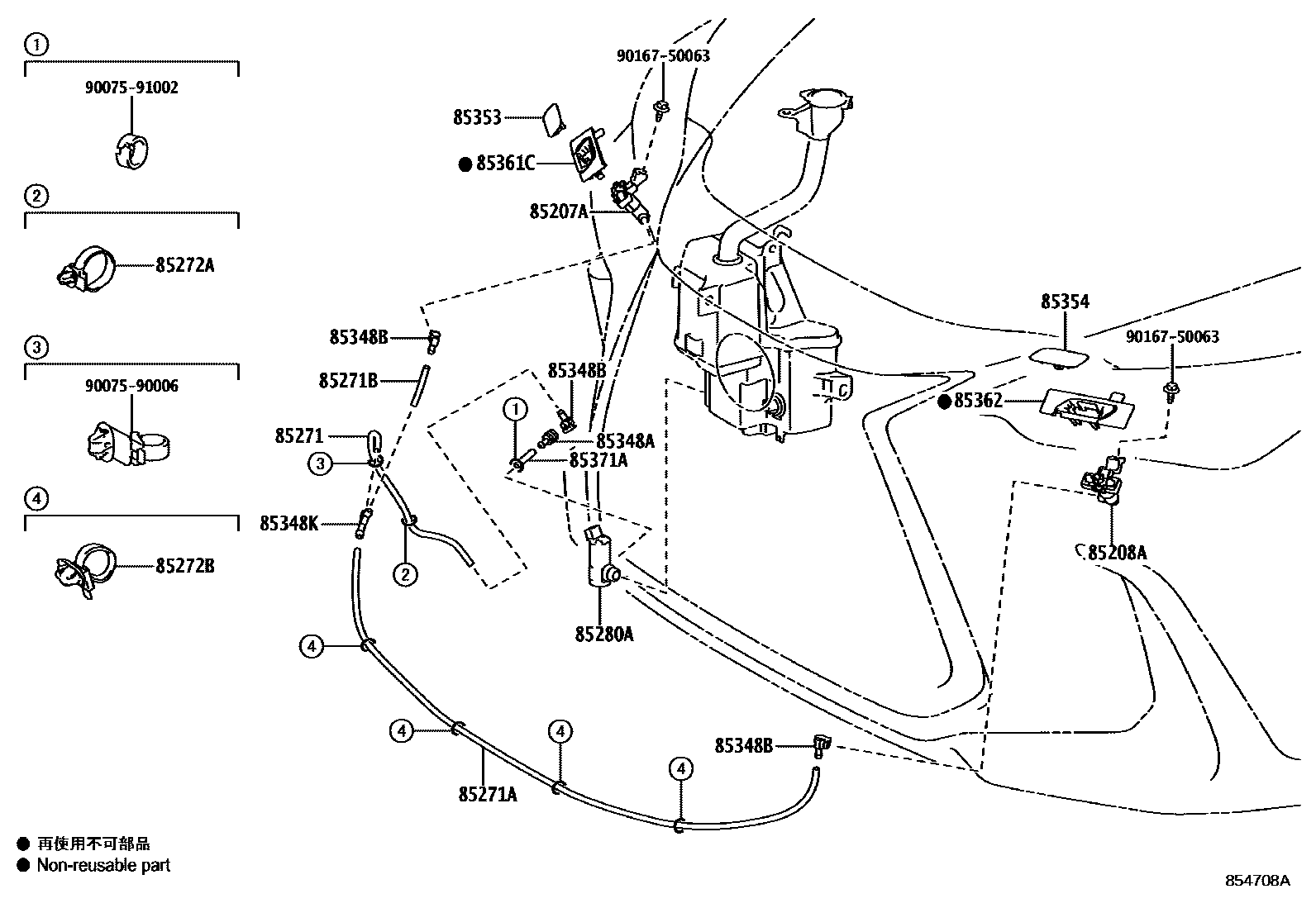
HEADLAMP CLEANER

85207AACTUATOR SUB-ASSY, HEADLAMP WASHER, RH
CANADA SPEC&HEADLAMP-LED(TRINOCULAR FULL LED) & WITH(*AHS)
85208AACTUATOR SUB-ASSY, HEADLAMP WASHER, LH
CANADA SPEC&HEADLAMP-LED(TRINOCULAR FULL LED) & WITH(*AHS)
85271HOSE, HEADLAMP CLEANER, NO.1
L=550,HEADLAMP-LED(TRINOCULAR FULL LED) & WITH(*AHB)
85271AHOSE, HEADLAMP CLEANER, NO.2
L=1400,HEADLAMP-LED(TRINOCULAR FULL LED) & WITH(*AHB)
85271BHOSE, HEADLAMP CLEANER, NO.3
L=65,HEADLAMP-LED(TRINOCULAR FULL LED) & WITH(*AHB)
85272ACLAMP, HEADLAMP CLEANER, NO.1
CANADA SPEC&HEADLAMP-LED(TRINOCULAR FULL LED) & WITH(*AHS)
85272BCLAMP, HEADLAMP CLEANER, NO.2
CANADA SPEC&HEADLAMP-LED(TRINOCULAR FULL LED) & WITH(*AHS)
85280AMOTOR AND PUMP ASSY, HEADLAMP CLEANER
CANADA SPEC&HEADLAMP-LED(TRINOCULAR FULL LED) & WITH(*AHS)
85348AJOINT, HEADLAMP CLEANER HOSE, NO.1
CANADA SPEC&HEADLAMP-LED(TRINOCULAR FULL LED) & WITH(*AHS)
85348BJOINT, HEADLAMP CLEANER HOSE, NO.2
HEADLAMP-LED(TRINOCULAR FULL LED) & WITH(*AHB)
85348KJOINT, HEADLAMP CLEANER ELBOW, NO.1
CANADA SPEC&HEADLAMP-LED(TRINOCULAR FULL LED) & WITH(*AHS)
85353COVER, HEADLAMP WASHER, RH
KOREA SPEC&HEADLAMP-LED(TRINOCULAR FULL LED) & WITH(*AHS),WHITE NOVA GF.,083
HEADLAMP-LED(TRINOCULAR FULL LED) & WITH(*AHB),SONIC QUARTZ,085
CANADA SPEC&HEADLAMP-LED(TRINOCULAR FULL LED) & WITH(*AHS),SONIC TITANIUM,1J7
KOREA SPEC&HEADLAMP-LED(TRINOCULAR FULL LED) & WITH(*AHS),SONIC CHROME,1L1
KOREA SPEC&HEADLAMP-LED(PROJECTOR) & WITH(*AHB),BLACK,212
CANADA SPEC&HEADLAMP-LED(TRINOCULAR FULL LED) & WITH(*AHS),GRAPHITE BLACK GF.,223
CANADA SPEC&HEADLAMP-LED(TRINOCULAR FULL LED) & WITH(*AHS),MADDER RED,3T2
KOREA SPEC&HEADLAMP-LED(PROJECTOR) & WITH(*AHB),BLAZING CARNELIAN CONTRAS,4Y1
CANADA SPEC&HEADLAMP-LED(TRINOCULAR FULL LED) & WITH(*AHS),SONIC COPPER,4Y5
KOREA SPEC&HEADLAMP-LED(TRINOCULAR FULL LED) & WITH(*AHS),TERRANE KHAKI M.M.,6X4
HEADLAMP-LED(TRINOCULAR FULL LED) & WITH(*AHB),HEAT BLUE CONTRAST LAYERI,8X1
KOREA SPEC&HEADLAMP-LED(PROJECTOR) & WITH(*AHB),CELESTIAL BLUE GF.,8Y6
85354COVER, HEADLAMP WASHER, LH
KOREA SPEC&HEADLAMP-LED(PROJECTOR) & WITH(*AHB),WHITE NOVA GF.,083
HEADLAMP-LED(TRINOCULAR FULL LED) & WITH(*AHB),SONIC QUARTZ,085
CANADA SPEC&HEADLAMP-LED(TRINOCULAR FULL LED) & WITH(*AHS),SONIC TITANIUM,1J7
KOREA SPEC&HEADLAMP-LED(TRINOCULAR FULL LED) & WITH(*AHS),SONIC CHROME,1L1
CANADA SPEC&HEADLAMP-LED(TRINOCULAR FULL LED) & WITH(*AHS),BLACK,212
CANADA SPEC&HEADLAMP-LED(TRINOCULAR FULL LED) & WITH(*AHS),GRAPHITE BLACK GF.,223
CANADA SPEC&HEADLAMP-LED(TRINOCULAR FULL LED) & WITH(*AHS),MADDER RED,3T2
KOREA SPEC&HEADLAMP-LED(PROJECTOR) & WITH(*AHB),BLAZING CARNELIAN CONTRAS,4Y1
HEADLAMP-LED(TRINOCULAR FULL LED) & WITH(*AHB),SONIC COPPER,4Y5
KOREA SPEC&HEADLAMP-LED(PROJECTOR) & WITH(*AHB),TERRANE KHAKI M.M.,6X4
HEADLAMP-LED(TRINOCULAR FULL LED) & WITH(*AHB),HEAT BLUE CONTRAST LAYERI,8X1
KOREA SPEC,CELESTIAL BLUE GF.,8Y6
85361CBRACKET, WASHER
CANADA SPEC&HEADLAMP-LED(TRINOCULAR FULL LED) & WITH(*AHS)
85362BRACKET, WASHER, NO.2
CANADA SPEC&HEADLAMP-LED(TRINOCULAR FULL LED) & WITH(*AHS)
85371AHOSE, HEADLAMP CLEANER(FROM MOTOR TO JOINT)
L=35,CANADA SPEC&HEADLAMP-LED(TRINOCULAR FULL LED) & WITH(*AHS)
9007590006
main90075-90006
9007591002
main90075-91002
9016750063
main90167-50063
19 parts on this diagram · 1 diagram in section