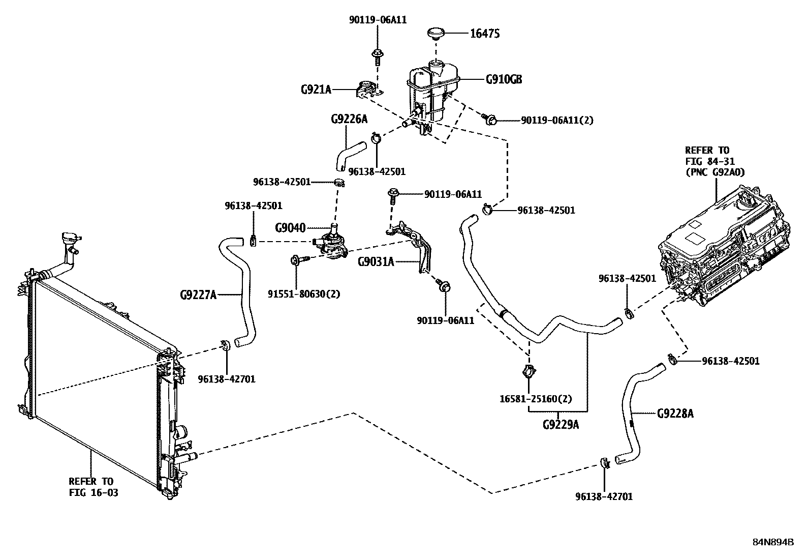
INVERTER COOLING

1603
16475CAP, RESERVE TANK
8431
G9040INVERTER WATER PUMP ASSY(W/MOTOR)
G910GBTANK SUB-ASSY, INVERTER RESERVE W/O CAP
G921ABRACKET, INVERTER RESERVE TANK, NO.1
G9227AHOSE, INVERTER COOLING, NO.3
G9228AHOSE, INVERTER COOLING, NO.4
TOWING PACKAGE-2000 LBS&RADIATOR-699*453*27 FP2.5
G9229AHOSE, INVERTER COOLING, NO.5
1658125160CLAMP, HOSE(FOR WATER HOSE)
main16581-25160
9011906A11
main90119-06A11
9155180630
main91551-80630
9613842501
main96138-42501
9613842701
main96138-42701
16 parts on this diagram · 3 diagrams in section