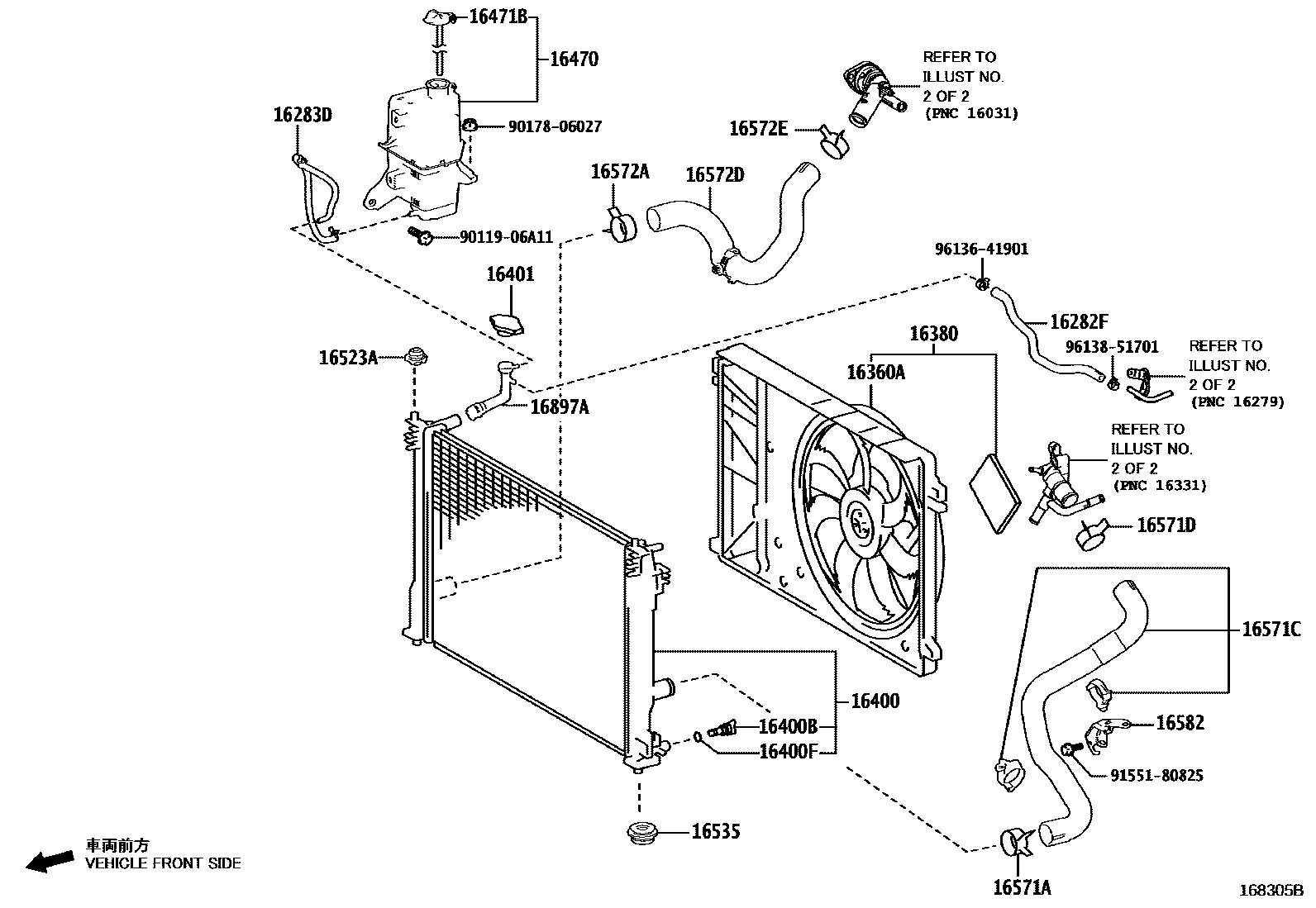
RADIATOR & WATER OUTLET

16282HOSE, WATER BY-PASS, NO.5
16282FHOSE, WATER BY-PASS, NO.5
16283HOSE, WATER BY-PASS, NO.6
16283DHOSE, WATER BY-PASS, NO.6
16360AFAN ASSY, W/MOTOR
16380BRACKET ASSY, FAN
16400RADIATOR ASSY
16400BPLUG, RADIATOR DRAIN COCK
TOWING PACKAGE-2000 LBS&RADIATOR-699*453*27 FP2.5
16400FPACKING(FOR RADIATOR DRAIN COCK)
TOWING PACKAGE-2000 LBS&RADIATOR-699*453*27 FP2.5
16401CAP SUB-ASSY, RADIATOR
16470TANK ASSY, RADIATOR RESERVE
16471BCAP, RESERVE TANK
16523ACUSHION, RADIATOR SUPPORT
16535SUPPORT, RADIATOR, LOWER
16571ACLAMP OR CLIP, HOSE(FOR RADIATOR INLET)
16571CHOSE, RADIATOR, NO.1
TOWING PACKAGE-2000 LBS
16571DCLIP, RADIATOR HOSE, NO.1
16572ACLAMP OR CLIP, HOSE(FOR RADIATOR OUTLET NO.1)
16572DHOSE, RADIATOR, NO.2
TOWING PACKAGE-2000 LBS
16572ECLIP, RADIATOR HOSE, NO.2
16582BRACKET, RADIATOR, NO.1
16897ANECK, FILLER
9011906A11
main90119-06A11
9017806027
main90178-06027
9155180825
main91551-80825
9613641901
main96136-41901
9613851701
main96138-51701
27 parts on this diagram · 9 diagrams in section