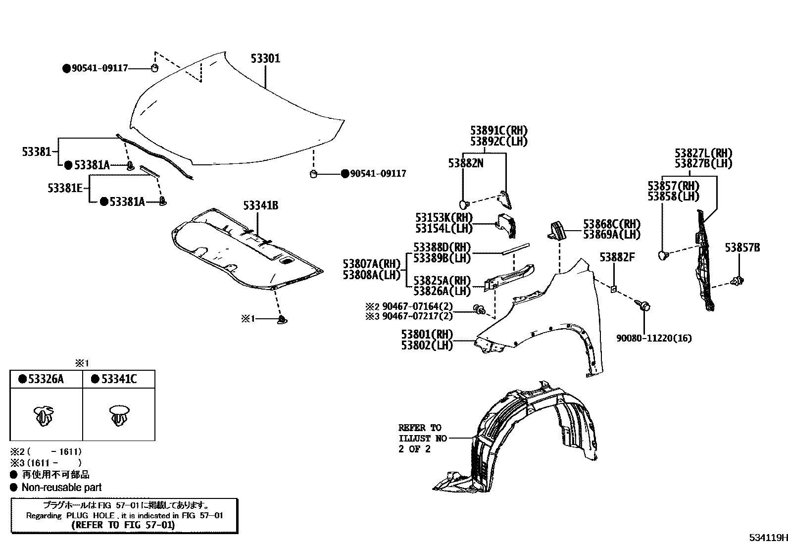
HOOD & FRONT FENDER

53153KGUIDE, RADIATOR GRILLE SIDE AIR, RH
53154LGUIDE, RADIATOR GRILLE SIDE AIR, LH
53301HOOD SUB-ASSY
53326ACLIP, HOOD MOULDING
53341BINSULATOR, HOOD
53341CCLIP(FOR HOOD INSULATOR)
53381SEAL, HOOD TO RADIATOR SUPPORT
53381ACLIP(FOR HOOD TO RADIATOR SUPPORT SEAL)
53381ESEAL, HOOD TO RADIATOR SUPPORT
53388DSEAL, HOOD TO FRONT FENDER, RH
53389BSEAL, HOOD TO FRONT FENDER, LH
53807ASHIELD SUB-ASSY, FENDER SPLASH, REAR RH
53808ASHIELD SUB-ASSY, FENDER SPLASH, REAR LH
53825APROTECTOR, FRONT FENDER, UPPER RH
53826APROTECTOR, FRONT FENDER, UPPER LH
53827BPROTECTOR, FRONT FENDER SIDE PANEL
53827LPROTECTOR, FRONT FENDER SIDE PANEL, RH
53857RETAINER, FRONT WHEEL OPENING EXTENSION, RH
53857BRETAINER, FRONT WHEEL OPENING EXTENSION, RH
53858RETAINER, FRONT WHEEL OPENING EXTENSION, LH
53868CSEAL, FRONT FENDER TO COWL SIDE, NO.2 RH
53869ASEAL, FRONT FENDER TO COWL SIDE, NO.2 LH
53882FSEAL, FRONT FENDER
53882NCLIP(FOR FRONT FENDER SEAL)
53891CSEAL, FRONT FENDER SPLASH SHEILD, FRONT
53892CSEAL, FRONT FENDER SPLASH SHIELD, FRONT LH
5701
9008011220
main90080-11220
9046707164
main90467-07164
9046707217
main90467-07217
9054109117
main90541-09117
33 parts on this diagram · 2 diagrams in section